Operation CHARM: Car repair manuals for everyone.
Manuals through 2025 now available!

Our trusted friends have launched a new website named LEMON, which has newer manuals. It also contains all the CHARM manuals.

LEMON is the spiritual successor to CHARM, I recommend you try it!

Link: lemon-manuals.la or lemon-manuals.org.ua

(Some people have issue connecting. LEMON is investigating. For now, use Firefox or change your DNS server)

Or, hide this message: temporarily or permanently

Ignition Control Module: Service and Repair

Ignition Coil Assembly (Including ignitor) Removal and Installation

Removal
1. Disconnect negative cable at battery.
2. Remove air cleaner case referring to Air Cleaner Assembly Removal and Installation.
3. Disconnect ignition coil coupler.




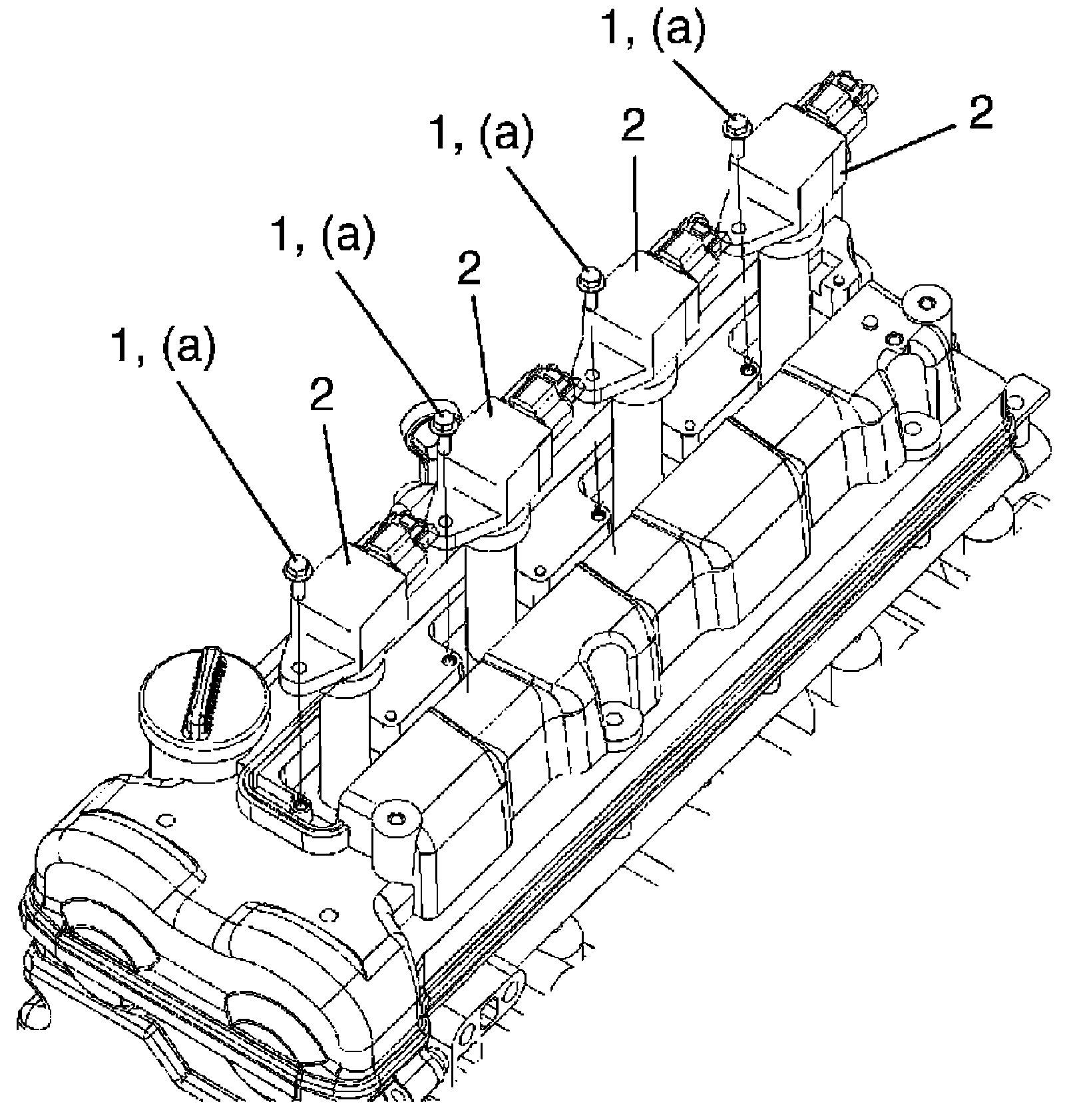
4. Remove ignition coil bolts (1), and then pull out ignition coil assembly (2).

Installation
Reference: Ignition Coil Assembly (Including ignitor) Inspection
1. Install ignition coil assembly (2).
2. Tighten ignition coil bolts (1) to specified torque, and then connect ignition coil coupler.

Tightening torque
Ignition coil bolt a: 6.5 Nm (0.65 kgf-m, 5.0 ft. lbs.)




3. Install air cleaner case referring to Air Cleaner Assembly Removal and Installation.
4. Connect negative cable to battery.