Operation CHARM: Car repair manuals for everyone.
Manuals through 2025 now available!

Our trusted friends have launched a new website named LEMON, which has newer manuals. It also contains all the CHARM manuals.

LEMON is the spiritual successor to CHARM, I recommend you try it!

Link: lemon-manuals.la or lemon-manuals.org.ua

(Some people have issue connecting. LEMON is investigating. For now, use Firefox or change your DNS server)

Or, hide this message: temporarily or permanently

Automatic Transaxle Unit Assembly

Automatic Transaxle Unit Assembly

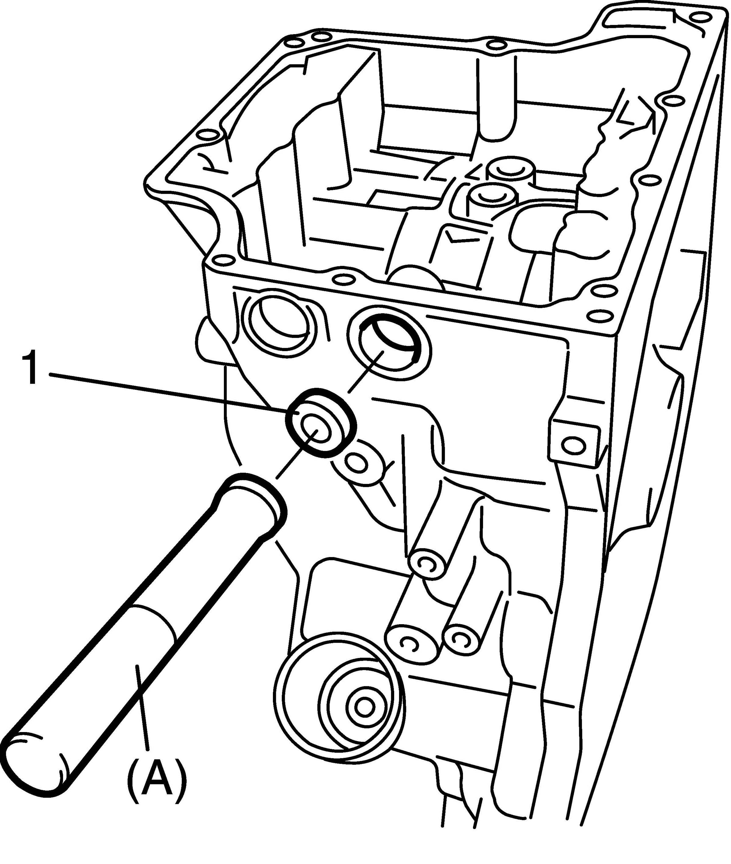
1. Apply lithium grease to new manual shift shaft oil seal lip.
Grease 99000-25030SUZUKI Super Grease C
2. Press-fit new manual shift shaft oil seal (1) to transaxle case, using special tool.
Special Tool (A): 09943-88211





3. Apply A/T fluid to new oil seal rings (1) and install oil seal rings (1) to transaxle case.

NOTE: Do not spread oil seal ring ends excessively.





4. Install one-way No. 3 clutch (1) to transaxle case.

NOTE: Make sure that groove section of one-way No. 3 clutch faces (2) toward upper side.

5. Install snap ring (3), using flat end rod or the like.

NOTE: Make sure that opening end of snap ring should be aligned with protrusion of transaxle case.





6. Apply A/T fluid to new O-rings (1) and install O-rings (1) to underdrive brake accumulator cover (2) and underdrive brake accumulator piston (3).
7. Put underdrive brake accumulator spring (4) in transaxle case, and insert under drive brake accumulator piston (3) and underdrive brake accumulator cover (2) into transaxle case.

NOTE: Do not twist or deviate O-rings during installation.





8. Push underdrive brake accumulator cover and install underdrive brake accumulator bracket (1), spacer (2) and torsion spring (3) by tighten 2 torx(R) bolts to specified torque.
Tightening torque
Underdrive brake accumulator bracket bolt(s) a: 10 Nm (1.0 kgf-m, 7.5 ft. lbs.)





9. Apply A/T fluid to new O-rings (1) and install O-rings (1) to underdrive brake piston assembly (2) and underdrive brake piston cover (3).
10. Put underdrive brake piston return spring (4) in transaxle case, and underdrive brake piston assembly (2) and underdrive brake piston cover (3) into transaxle case.

NOTE: Do not twist or deviate O-rings during installation.





11. Apply special tools and push in underdrive brake piston cover (1).
Special Tool
(A): 09916-14510
(B): 09916-14910
12. Install snap ring (2), using pliers or the like.





13. Install underdrive brake band (1).





14. Apply A/T fluid to new O-ring (1) and install new O-ring (1) to underdrive brake band anchor bolt (2).
15. Tighten underdrive brake band anchor bolt (2) to specified torque, using special tool.
Special Tool (A): 09927-68010
Tightening torque
Underdrive brake band anchor bolt a: 170 Nm (17.0 kgf-m, 123.0 ft. lbs.)
16. Remove oil plug bolt with O-ring installed (3).





17. Measure underdrive brake piston stroke while applying and releasing compressed air (400 - 800 kPa, 4 - 8 kg/cm2, 57 - 113 psi) through oil hole (2). If measured piston stroke exceeds specified value, replace underdrive brake piston rod in the following so as piston stroke to be in standard value. If piston stroke is still standard value or more, replace underdrive brake band with a new one.
Underdrive brake piston stroke
Standard: 5.48 - 7.02 mm (0.26 - 0.28 in.)
Available underdrive brake piston rod length: 70.5 mm (2.776 in.), 72.0 mm (2.835 in.)








18. Apply A/T fluid to new O-ring and install O-ring to oil plug bolt (1).
19. Tighten oil plug bolt to specified torque.
Tightening torque
Underdrive brake oil plug bolt: 7.5 Nm (0.75 kgf-m, 5.5 ft. lbs.)





20. Apply petroleum jelly to underdrive clutch thrust bearing (1) and countershaft rear thrust bearing race (2).
21. Install underdrive clutch thrust bearing (1) and countershaft rear thrust bearing race (2) to underdrive clutch assembly (3).
22. Install underdrive clutch assembly (3) onto transaxle case.





23. Make sure that underdrive clutch turns freely when turned counterclockwise [A] and locks when turned clockwise [B].





24. Apply petroleum jelly to countershaft rear thrust bearing (1), countershaft front thrust bearing (2) and countershaft front thrust bearing race (3).
25. Install countershaft rear thrust bearing (1), countershaft front thrust bearing race (3) and countershaft front thrust bearing (2) to counter driven gear.
26. Install underdrive gear assembly (4) onto under drive clutch (5).





27. Install parking lock pawl (1). Place torsion spring (2) on parking lock pawl shaft (3) and install them into transaxle case.
28. Install parking lock pawl bracket and manual detent spring (4) by 2 tightening bolts to specified torque.
Tightening torque
Manual detent spring bolt No.1 a: 10 Nm (1.0 kgf-m, 7.5 ft. lbs.)
Manual detent spring bolt No.2 b: 5.5 Nm (0.55 kgf-m, 4.0 ft. lbs.)





29. Insert parking lock rod (1) to parking lock pawl bracket and connect parking lock rod (1) with manual shift shaft (2).





30. Install reduction drive gear assembly (1) into transaxle case (2).
31. Install snap ring (3).





32. Apply A/T fluid to new O-rings and install O-rings to 1st / reverse brake piston (1).
33. Place 1st / reverse brake piston (1) into transaxle case.

NOTE: Do not twist or deviate O-rings during installation.





34. Mount 1st / reverse brake piston return spring (1).
35. Install retainer ring (2) by compressing 1st / reverse brake piston return spring (1) with flat end rod or the like.

NOTE: Make sure that opening end of ring is not aligned with protrusion of transaxle case.

36. Apply petroleum jelly to front planetary ring gear front thrust bearing race (3).
37. Place front planetary ring gear front thrust bearing race (3) onto counter driven gear.





38. Apply petroleum jelly to front planetary ring gear front thrust bearing (1) and front planetary ring gear rear thrust bearing (2).
39. Install front planetary ring gear front thrust bearing (1) and front planetary ring gear rear thrust bearing (2) to front planetary ring gear (3).
40. Install front planetary ring gear (3).





41. Make sure that front planetary ring gear (1) turns freely when turned counterclockwise [A] and locks when clockwise [B].





42. Install separator plates "S", friction plates "F" and retaining plates "R" in the following order.
R --> F --> S --> F --> S --> F --> S --> F --> S --> F --> R
43. Install snap ring, using flat end rod or the like.

NOTE: Make sure that opening end of ring is not aligned with protrusion of transaxle case.





44. Measure 1st / reverse brake piston stroke while applying and releasing compressed air (400 - 800 kPa, 4 - 8 kg/cm2, 57 - 113 psi) through oil hole (1) by using special tools. If measured piston stroke exceeds specified value, check for an important installation.
Special Tool
(A): 09900-20607
(B): 09900-20701
1st / reverse brake piston stroke
Standard: 1.35 - 2.15 mm (0.053 - 0.085 in.)





45. Apply petroleum jelly to front planetary carrier rear thrust bearing race (1).
46. Place front planetary carrier rear thrust bearing race (1) onto planetary front gear (2).
47. Install planetary front gear (2) to front planetary ring gear (3).





48. Apply petroleum jelly to input shaft front thrust bearing (1) and rear planetary ring gear rear thrust bearing (2).
49. Install input shaft front thrust bearing (1), planetary sun gear (3), and rear planetary ring gear rear thrust bearing (2) to forward and direct clutch assembly (4).





50. Apply petroleum jelly to rear planetary ring gear rear thrust bearing race and front planetary carrier rear thrust bearing.
51. Install rear planetary ring gear rear thrust bearing race (1), rear planetary ring gear (2) and front planetary carrier rear thrust bearing (3) to planetary sun gear (4).

NOTE: Make sure that tube of rear planetary ring gear rear thrust bearing race fit into notch of rear planetary ring gear.





52. Install forward and direct clutch assembly (1).
53. Apply petroleum jelly to input shaft thrust bearing front race (2) and input shaft rear thrust bearing (3).
54. Place input shaft rear thrust bearing front race (2) and input shaft rear thrust bearing (3) to forward and direct clutch assembly (1).





55. Apply A/T fluid to 4 new gaskets (1).
56. Install 4 new gaskets (1) to transaxle case.
57. Apply A/T fluid to transaxle lubrication tubes (2).
58. Install tube clamp (3) and tighten the torx bolt to specified torque.
Tightening torque
Tube clamp torx bolt a: 9 Nm (0.9 kgf-m, 6.5 ft. lbs.)





59. Apply petroleum jelly to input shaft rear thrust bearing rear race (1).
60. Place input shaft rear thrust bearing rear race (1) to transaxle rear cover (2).





61. Apply sealant to mating surface of transaxle case by using a nozzle as shown in figure by such amount that its section is 1.5 mm (0.059 in.) in diameter.
"A": Sealant 99000-31230SUZUKI Bond No.1216B





62. Install transaxle rear cover to transaxle case by a tightening bolts to specified torque.





NOTE: Make sure to use new transaxle rear cover bolts A, B and D.

Tightening torque
Transaxle rear cover bolts a: 10 Nm (1.0 kgf-m, 7.5 ft. lbs.)
Transaxle rear cover bolts b: 24 Nm (2.4 kgf-m, 17.5 ft. lbs.)





63. Apply A/T fluid to inner surface of new countershaft front bearing (1).
64. Install new countershaft front bearing (1) to transaxle housing, using special tool.
Special Tool (A): 09913-75510





65. Apply A/T fluid to new oil seal ring (1) and install oil seal ring (1) to transaxle housing.

NOTE: Do not spread oil seal ring ends excessively.

66. Apply A/T fluid to transaxle lubrication tube (2).
67. Install tube clamp (3) and tighten the bolt to specified torque.
Tightening torque
Transaxle lubrication tube bolt a: 5.5 Nm (0.55 kgf-m, 4.0 ft. lbs.)
68. Install oil reservoir RH plate and tighten 3 bolts to specified torque.
Tightening torque
Oil reservoir RH plate bolt b: 5.5 Nm (0.55 kgf-m, 4.0 ft. lbs.)





69. Install oil reservoir LH plate (1) and tighten 2 bolts to specified torque.
Tightening torque
Oil reservoir LH plate bolts a: 5.5 Nm (0.55 kgf-m, 4.0 ft. lbs.)





70. Install oil strainer assembly (1) and tighten the bolt to specified torque.
Tightening torque
Oil strainer bolt a: 5.5 Nm (0.55 kgf-m, 4.0 ft. lbs.)
71. Install differential gear assembly.





72. Apply sealant to mating surface of transaxle case by using a nozzle as shown in figure by such amount that its section is 1.5 mm (0.059 in.) in diameter.
"A": Sealant 99000-31230SUZUKI Bond No.1216B





73. Install transaxle housing to transaxle case by 15 tightening bolts to specified torque.





Tightening torque
Transaxle case bolt: 29 Nm (2.9 kgf-m, 20.98 ft. lbs.)

NOTE: Make sure to use new transaxle housing bolts B and C.





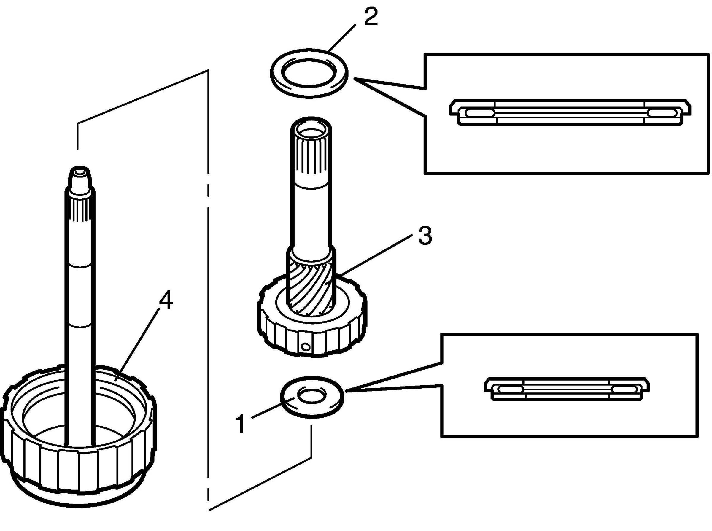
74. Install one-way No. 1 clutch assembly (1) into oil pump assembly (2).





75. Check for correct installation of each component parts as follows.
Measure the distance "a" by using vernier (1) and straight edge (2). If distance is out of specification, remove one-way No. 1 clutch assembly (3) and install them properly.
Distance between upper edge of one-way No. 1 clutch to oil pump plate "a": 51.1 - 51.7 mm (2.012 - 2.035 in.)





76. Apply A/T fluid to O-ring and install oil pump assembly (1) by 8 tightening bolts to specified torque.

NOTE: Do not twist or deviate O-ring during installation.

Tightening torque
Oil pump body bolt: 25 Nm (2.5 kgf-m, 18.08 ft. lbs.)





77. Measure end play of input shaft (1), using special tool. If end play is out of specification, replace input shaft rear thrust bearing front race in the following so as end play to be in standard value.
Special Tool
(A): 09900-20607
(B): 09900-20701
End play of input shaft
Standard: 0.37 - 0.90 mm (0.0034 - 0.035 in.)
Available input shaft rear thrust bearing front race thickness: 0.81 mm (0.031 in.), 1.15 mm (0.045 in.)





78. Apply A/T fluid to new gaskets (1) and install gaskets (1) to transaxle case.





79. While holding valve body assembly, connect manual valve connecting rod (1) to manual shift shaft (2).
80. Install valve body assembly (3) by 9 tightening bolts to specified torque.
Tightening torque
Valve body bolt: 10 Nm (1.0 kgf-m, 7.5 ft. lbs.)








81. Apply A/T fluid to new O-ring and install O-ring to solenoid harness (1).
82. Install solenoid harness (1) into transaxle case.

NOTE: Do not twist or deviate O-ring during installation.

83. Connect solenoid connectors by identifying wire color.
Solenoid coupler: Wire color
Pressure control solenoid valve (1): Blue + Brawn
Shift solenoid valve-A (No. 1) (2): White
Shift solenoid valve-B (No. 2) (3): Black
TCC solenoid valve (4): Yellow
84. Clamp solenoid harness.








85. Apply sealant to mating surface of transaxle case by using a nozzle as shown in figure by such amount that its section is 1.5 mm (0.059 in.) in diameter.
"A": Sealant 99000-31230SUZUKI Bond No.1216B





86. Install transaxle side cover (1) by tightening new torx(R) bolts to specified torque.
Tightening torque
Transaxle side cover bolts a: 13 Nm (1.3 kgf-m, 9.5 ft. lbs.)





87. Apply A/T fluid to transmission fluid temperature sensor (1), output shaft speed sensor (2), input shaft speed sensor (3) and fluid filler tube (4).
88. Install input shaft speed sensor and output shaft speed sensor (with new O-rings installed) by tightening bolts to specified torque.
Tightening torque
Input shaft speed sensor bolt a: 5.5 Nm (0.55 kgf-m, 4.0 ft. lbs.)
Output shaft speed sensor bolt b: 5.5 Nm (0.55 kgf-m, 4.0 ft. lbs.)
89. Install fluid filler tube (4) (with new O-ring installed).
90. Install transmission fluid temperature sensor (1) (with new O-ring installed) to specified torque.
Tightening torque
Transmission fluid temperature sensor d: 10 Nm (1.0 kgf-m, 7.2 ft. lbs.)





91. Install transmission range sensor assembly.
a) Install transmission range sensor plate (1) to groove of solenoid harness.
b) Install transmission range sensor (2) to manual valve lever shaft (3).
c) Place lock washer (4).
d) Insert transmission range sensor bolts.
e) Tighten transmission range sensor lock nut (5) to specified torque and then bend claws lock washer.
Tightening torque
Transmission range sensor lock nut a: 7.0 Nm (0.7 kgf-m, 5.0 ft. lbs.)
f) Install manual shift lever (6), washer (7) and tighten nut (8) to specified torque.
Tightening torque
Manual select lever nut b: 12 Nm (1.2 kgf-m, 8.7 ft. lbs.)
g) Adjust transmission range sensor.
h) Tighten transmission range sensor bolt and nut to specified torque.
Tightening torque
Transmission range sensor bolt c: 25 Nm (2.5 kgf-m, 18.0 ft. lbs.)
Transmission range sensor nut d: 7.5 Nm (0.75 kgf-m, 5.5 ft. lbs.)





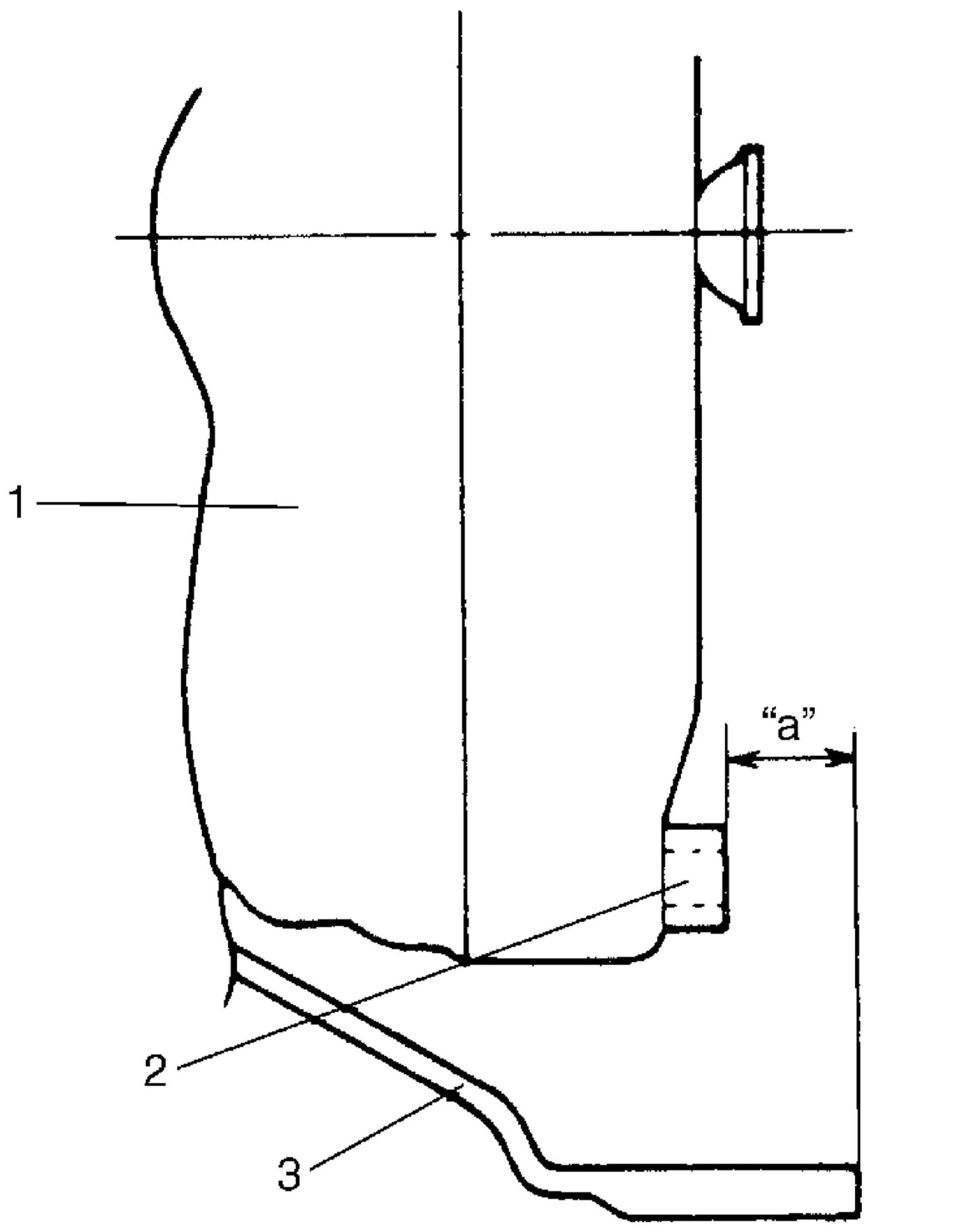
92. Install torque converter (1) to input shaft.
a) Install torque converter (1), using care not to damage oil seal of oil pump.
b) After installing torque converter (1), check that distance "a" is within specification.
Distance between torque converter and mating surface of transaxle housing (3) "a": 21.5 mm (0.846 in.) or more
c) Check torque converter (1) for smooth rotation.

CAUTION:
^ Before installing converter, make sure that its pump hub portion is free from nicks, burrs or damage which may cause oil seal to leak.
^ Be very careful not to drop converter on oil pump gear. Damage in gear, should it occur, may cause a critical trouble.