Operation CHARM: Car repair manuals for everyone.
Manuals through 2025 now available!

Our trusted friends have launched a new website named LEMON, which has newer manuals. It also contains all the CHARM manuals.

LEMON is the spiritual successor to CHARM, I recommend you try it!

Link: lemon-manuals.la or lemon-manuals.org.ua

(Some people have issue connecting. LEMON is investigating. For now, use Firefox or change your DNS server)

Or, hide this message: temporarily or permanently

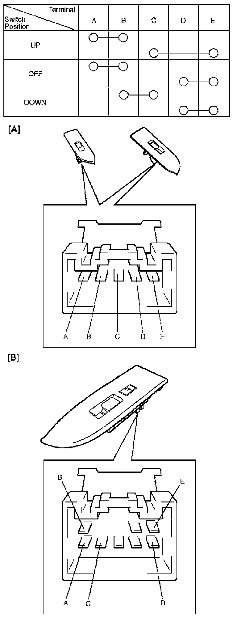
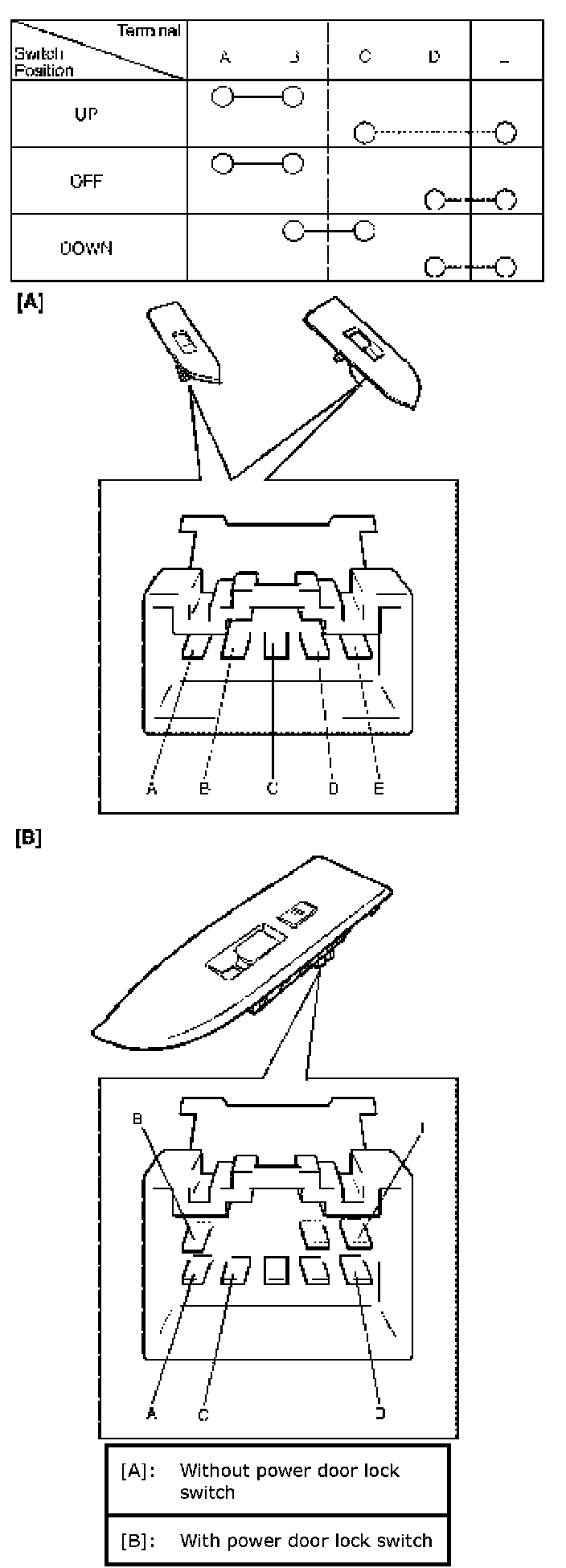
Power Window Sub Switch Inspection

POWER WINDOW SUB SWITCH INSPECTION

1. Remove front door trim from door panel, refer to Step 1) to 3) of Front Door Glass Removal and Installation.
2. Remove power window sub switch from door trim.
3. Check for continuity between terminals at each switch condition.
If check result is not as specified, replace switch.