Operation CHARM: Car repair manuals for everyone.
Manuals through 2025 now available!

Our trusted friends have launched a new website named LEMON, which has newer manuals. It also contains all the CHARM manuals.

LEMON is the spiritual successor to CHARM, I recommend you try it!

Link: lemon-manuals.la or lemon-manuals.org.ua

(Some people have issue connecting. LEMON is investigating. For now, use Firefox or change your DNS server)

Or, hide this message: temporarily or permanently

Quarter Window Glass: Service and Repair

REAR QUARTER WINDOW REMOVAL AND INSTALLATION

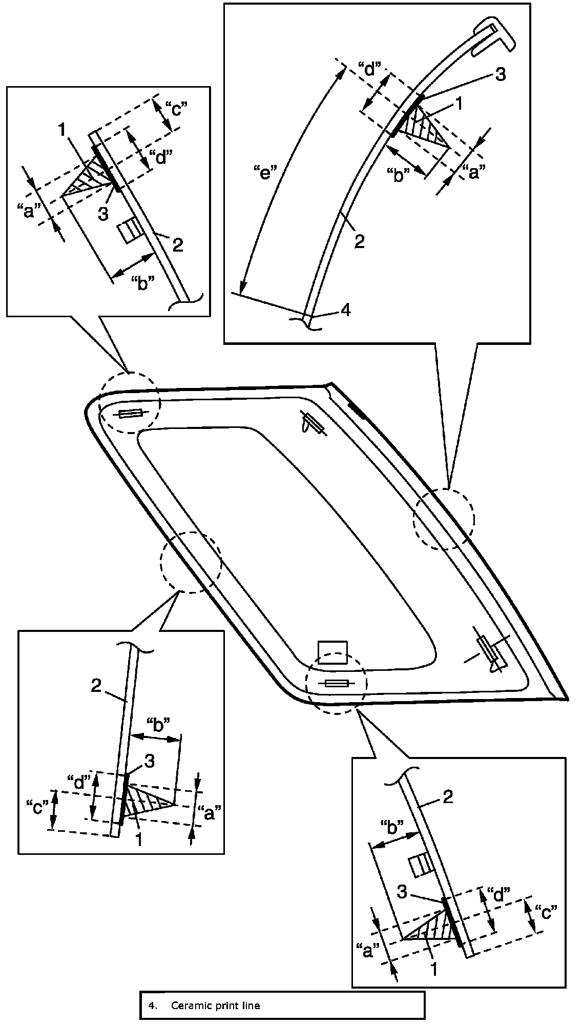
Reference: Rear Quarter Window Components





Refer to Windshield Removal and Installation as preparation, removal and installation procedures are basically the same. However, note the following.
^ Observe the following precautions when applying adhesive (1) along glass (2) edge.
^ Adhesive (1) should be applied evenly especially in height.
^ Be careful not to damage primer (3).
^ Press glass against body quickly after adhesive (1) is applied.

Adhesive amount specifications and position for rear quarter window
^ Width "a": Approx. 6 mm (0.24 in.)
^ Height "b": Approx. 13 mm (0.51 in.)
^ Position "c": Approx. 12 mm (0.47 in.)
^ Width "d": Approx. 14 mm (0.55 in.)
^ Position "e": Approx. 84 mm (3.31 in.)