Operation CHARM: Car repair manuals for everyone.
Manuals through 2025 now available!

Our trusted friends have launched a new website named LEMON, which has newer manuals. It also contains all the CHARM manuals.

LEMON is the spiritual successor to CHARM, I recommend you try it!

Link: lemon-manuals.la or lemon-manuals.org.ua

(Some people have issue connecting. LEMON is investigating. For now, use Firefox or change your DNS server)

Or, hide this message: temporarily or permanently

Windshield: Service and Repair

WINDSHIELD REMOVAL AND INSTALLATION

Reference: Windshield Components

Windshield Components:





Preparation
The windshield is installed by using a special type of adhesive (that is, one component urethane adhesive used with primer). For the windshield replacement, it is important to use an adhesive which provides sufficient adhesion strength and follow the proper procedure.

CAUTION:
^ Described is the glass replacement by using 3 types of primers and 1 type of adhesive made by YOKOHAMA (one component urethane adhesive to be used with primer in combination). When using primer and adhesive made by other manufacturers, be sure to refer to handling instructions supplied with them. Negligence in following such procedure or misuse of the adhesive in any way hinders its inherent adhesive property. Therefore, before the work, make sure to read carefully the instruction and description given by the maker of the adhesive to be used and be sure to follow the procedure and observe each precaution throughout the work.
^ Should coated surface be scratched or otherwise damaged, be sure to repair damaged part, or corrosion may start from there.


Use the specific adhesive which has the following property.

Glass adhesive shearing strength
40 kg/cm(2) (569 lb/in(2)) or more

Adhesive materials and tools required for removal and installation.
^ One component urethane adhesive and primers used in combination (For one sheet of windshield).
^ Adhesive (470 g (15.7 oz.))
^ Primer for glass (30 g (1.0 oz.))
^ Primer for body (30 g (1.0 oz.))
^ Primer for molding (30 g (1.0 oz.))
^ Eyeleteer
^ Piano string
^ Windshield knife
^ Brush for primer application (2 pcs)
^ Knife
^ sucker grip
^ Sealant gun (for filling adhesive)
^ Putty spatula (for correcting adhered parts)

Removal
1. Clean both inside and outside of glass and around it.
2. Remove wiper arms and cowl top garnish.
3. Using tape, cover body surface around glass to prevent any damage.
4. Remove rear view mirror, sun visor and front pillar trims (right & left).
5. If necessary, remove instrument panel.
6. If necessary, remove head lining.
7. Remove (or cut) windshield molding.
8. Drill hole with eyeleteer (1) through adhesive and let piano string through it.





9. Cut adhesive all around windshield (1) with piano string (2). When using tool, windshield knife (3), to cut adhesive, be careful not to cause damage to windshield. Use wire to cut adhesive along lower part of windshield.

NOTE: Use piano string (2) as close to glass as possible so as to prevent damage to body and instrument panel.





10. Using knife (1), smoothen adhesive (2) remaining on body side (3) so that it is 1 - 2 mm (0.040 - 0.078 in.) thick all around.

NOTE: Before using knife (1), clean it with alcohol or the like to remove oil from it.





11. When reusing windshield, remove the adhesive (1) from it, using care not to damage primer coated surface (2).





Installation
1. Using cleaning solvent, clean windshield edge where windshield glass is to be adhered. (Let it dry for more than 10 minutes.)
2. Install new glass stoppers (1) (2 pieces) to lower side of windshield (2) as shown.





3. To determine installing position of glass (1) to body (2), position glass against body so that clearance between upper end of glass (1) and body (2) is approximately 5.5 mm (0.217 in.) and clearances between each side end (right & left) of glass (1) and body (2) are even. Then mark mating marks (3) on glass (1) and body (2) as shown. Upper clearance can be adjusted by moving glass stoppers position.

Windshield clearance
"a": approx. 5.5 mm (0.217 in.)





4. Clean contact surfaces of old adhesive (4), paint or bare metal thoroughly. If surfaces of paint or bare metal come out, apply primer (2) for body with caution not to apply primer (2) to surface of adhesive remaining on body.

NOTE:
^ Be sure to refer to primer maker's instruction for proper handling and drying time.
^ Do not touch body and old adhesive surfaces where glass is to be adhered.





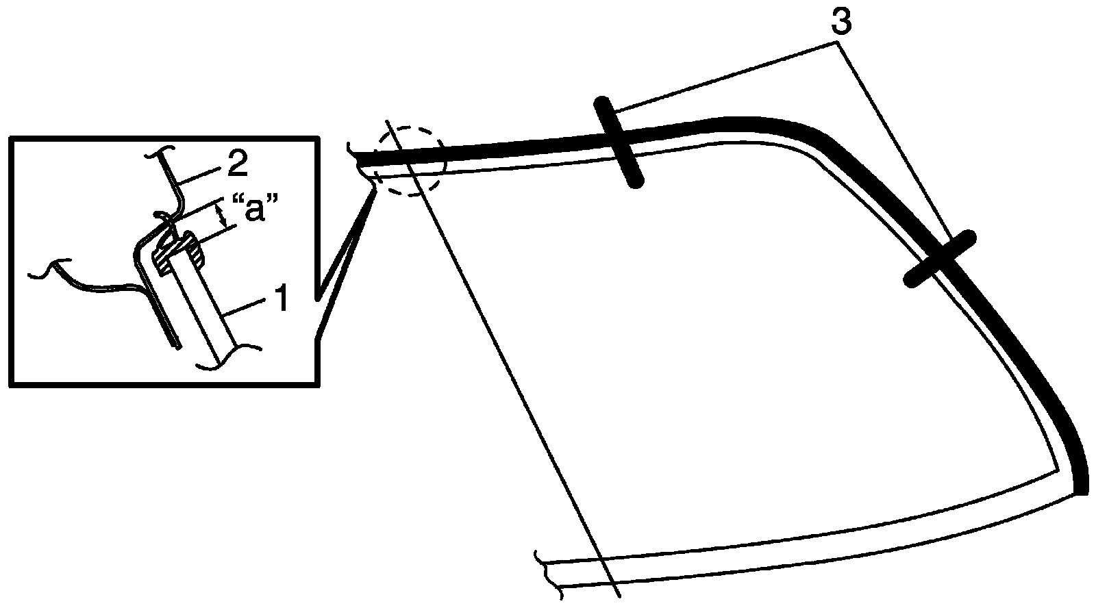
5. Install new molding to glass.
6. Clean glass surface to be adhered to body with clean cloth. If cleaning solvent is used, let it dry for 10 minutes or more.

Cleaning Area for windshield (distance from the edge of glass or molding)
30-50 mm (1.19-1.96 in.)

7. Install new spacers (1) to windshield (2).





8. Using new brush, apply sufficient amount of primer onto glass along glass edge.

NOTE:
^ Be sure to refer to maker's instruction for proper handling and drying time.
^ Do not apply primer on outside of ceramic coated surface.
^ Do not touch primer coated surface.

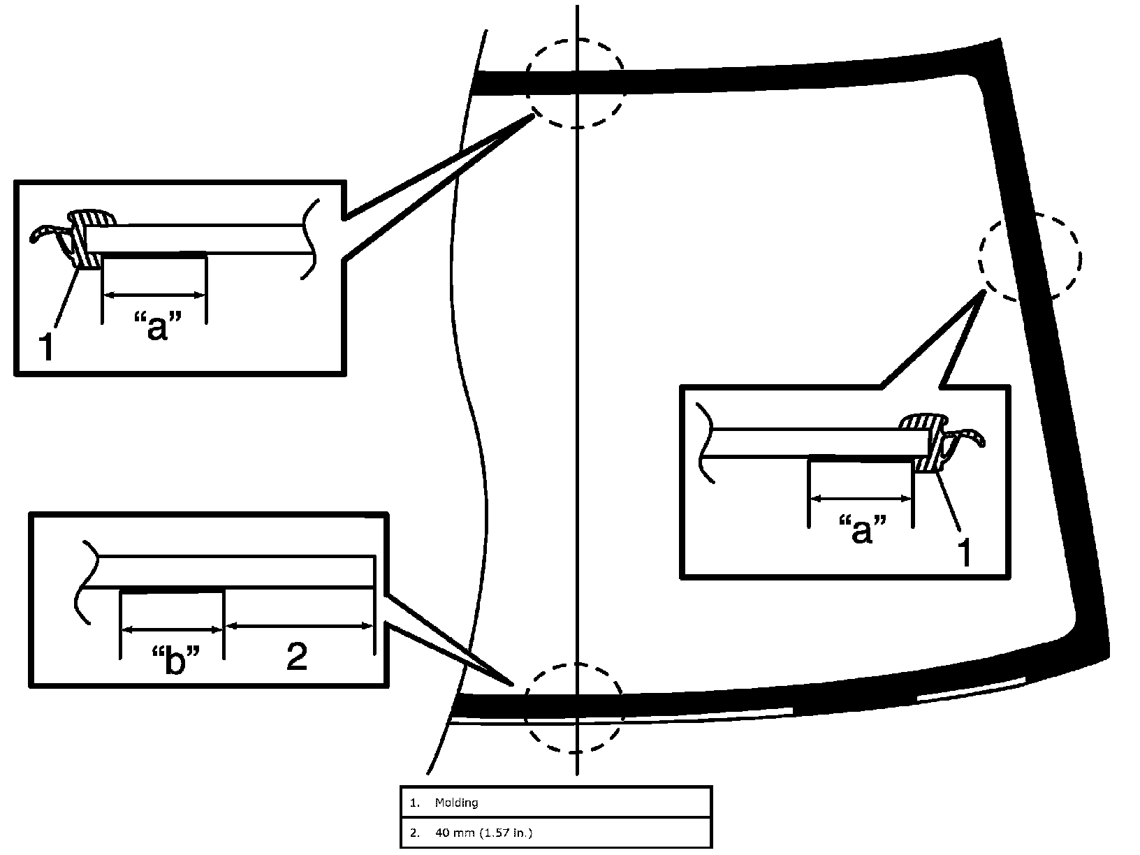
Width applied primer for windshield
"a": 17 mm (0.67 in.)
"b": 20 mm (0.79 in.)





9. Apply primer for molding along molding surface all around.
10. Apply adhesive (1) referring to figure.

NOTE:
^ Press glass (2) against fittings surface of body panel quickly after adhesive (1) is applied.
^ Use of rubber sucker grip is helpful to hold and carry glass after adhesive (1) is applied.
^ Perform steps 8) to 9) within 10 min. to ensure sufficient adhesion.
^ Be sure to refer to adhesive maker's instruction for proper handling and drying time.
^ Start from bottom side of glass (2).
^ Be careful not to damage primer.

Adhesive amount specifications and position for windshield
Width "a": Approx. 7 mm (0.27 in.)
Height "b": Approx. 15 mm (0.59 in.)
Position "c": Approx. 10 mm (0.39 in.) for right, left and upper sections
Position "d": Approx. 50 mm (1.97 in.) for bottom section





11. Holding rubber sucker grips (1), place glass onto body by aligning mating marks marked in step 3) and press it.





12. Check for water leakage by pouring water over windshield through hose. If leakage is found, dry windshield and fill leaky point with adhesive. If water still leaks even after that, remove glass and start installation procedure all over again.

NOTE:
^ Do not use high pressure water.
^ Do not blow compressed air directly at adhesive applied part when drying.
^ Do not use infrared light or like for drying.





CAUTION:
Upon completion of installation, note the following.
^ Sudden closing of door before adhesive is completely set may cause glass to become loose or to come off. Therefore, if door is opened or closed before adhesive is completely set, make sure to open all door glasses and use proper care.
^ If molding is not securely in place, hold it down with a tape until adhesive is completely set.
^ Each adhesive has its own setting time.
^ Be sure to refer to its maker's instruction, check setting time of adhesive to be used and observe precautions to be taken before adhesive is set.
^ Refrain from driving till adhesive is completely set so as to ensure proper and sufficient adhesion.