Operation CHARM: Car repair manuals for everyone.
Manuals through 2025 now available!

Our trusted friends have launched a new website named LEMON, which has newer manuals. It also contains all the CHARM manuals.

LEMON is the spiritual successor to CHARM, I recommend you try it!

Link: lemon-manuals.la or lemon-manuals.org.ua

(Some people have issue connecting. LEMON is investigating. For now, use Firefox or change your DNS server)

Or, hide this message: temporarily or permanently

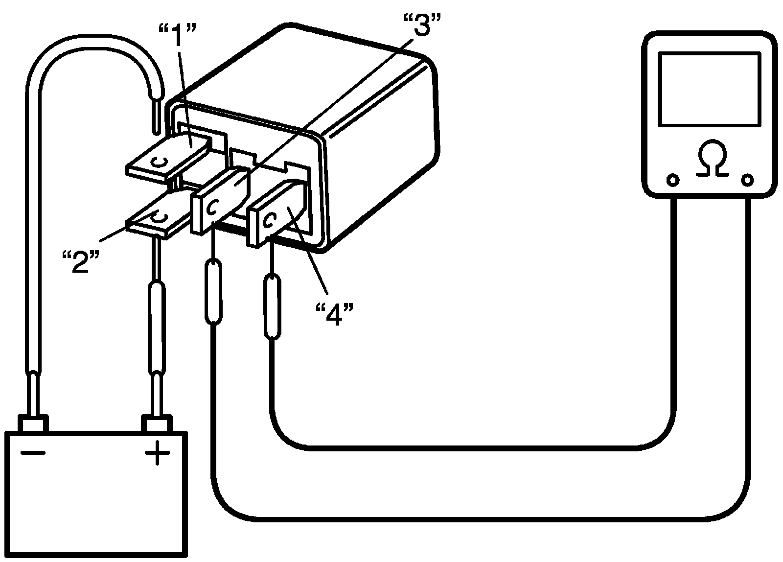
Wiper Relay: Testing and Inspection

REAR WIPER RELAY INSPECTION

Reference: Rear Wiper Relay Removal and Installation Service and Repair

1. Check that there is no continuity between terminal "3" and "4". If there is continuity, replace relay.
2. Connect battery positive (+) terminal to terminal "2" of relay.
3. Connect battery negative (-) terminal to terminal "1" of relay.
4. Check continuity between terminal "3" and "4". If there is no continuity when relay is connected to the battery, replace relay.