Operation CHARM: Car repair manuals for everyone.
Manuals through 2025 now available!

Our trusted friends have launched a new website named LEMON, which has newer manuals. It also contains all the CHARM manuals.

LEMON is the spiritual successor to CHARM, I recommend you try it!

Link: lemon-manuals.la or lemon-manuals.org.ua

(Some people have issue connecting. LEMON is investigating. For now, use Firefox or change your DNS server)

Or, hide this message: temporarily or permanently

Connector Views

Data Communication Connector End Views

Body Control Module (BCM) C1:




Body Control Module (BCM) C1

Connector Part Information
OEM: HITPB-27-AL-M
Service: -
Description: 27-Way F 0.64 Unsealed (L-GN)

Terminal Part Information
Terminal/Tray: SNAC3-A021T-M0.64/20
Core/Insulation Crimp: J/J
Release Tool/Test Probe: 12094429/J-35616-64B (L-BU)

Body Control Module (BCM) C1:




Body Control Module (BCM) C1

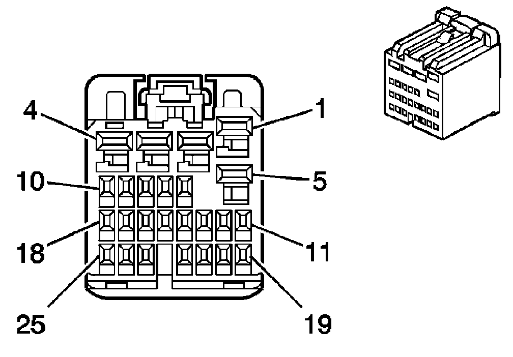
Body Control Module (BCM) C2:




Body Control Module (BCM) C2

Connector Part Information
OEM: HITPB-25-B-S
Service: -
Description: 25-Way F Receptacle 0.64 2.8
Unsealed (WH)

Terminal Part Information
Pins: 1, 2, 3, 3
Terminal/Tray: SNAC-A061T-M2.8/20
Core/Insulation Crimp: E/A
Release Tool/Test Probe: 12094429/J-35616-4A (PU)
Pins: 8, 11, 12, 17, 21
Terminal/Tray: SNAC3-A021T-M0.64/20
Core/Insulation Crimp: J/J
Release Tool/Test Probe: 12094429/J-35616-64B (L-BU)

Body Control Module (BCM) C2:




Body Control Module (BCM) C2

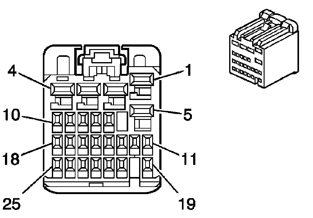
Body Control Module (BCM) C3:




Body Control Module (BCM) C3

Connector Part Information
OEM: HITPB-25-C-LE
Service: -
Description: 25-Way F HIT Series (L-BU)

Terminal Part Information
Pins: 1, 2, 3, 5
Terminal/Tray: SNAC-A061T-M2.8/20
Core/Insulation Crimp: E/A
Release Tool/Test Probe: 12094429/J-35616-4A (PU)
Pins: 7, 8, 9, 10, 11, 12, 13, 14, 15, 16, 17, 17, 18, 19, 21, 22
Terminal/Tray: SNAC3-A021T-M0.64/20
Core/Insulation Crimp: J/J
Release Tool/Test Probe: 12094429/J-35616-64B (L-BU)

Body Control Module (BCM) C3:




Body Control Module (BCM) C3

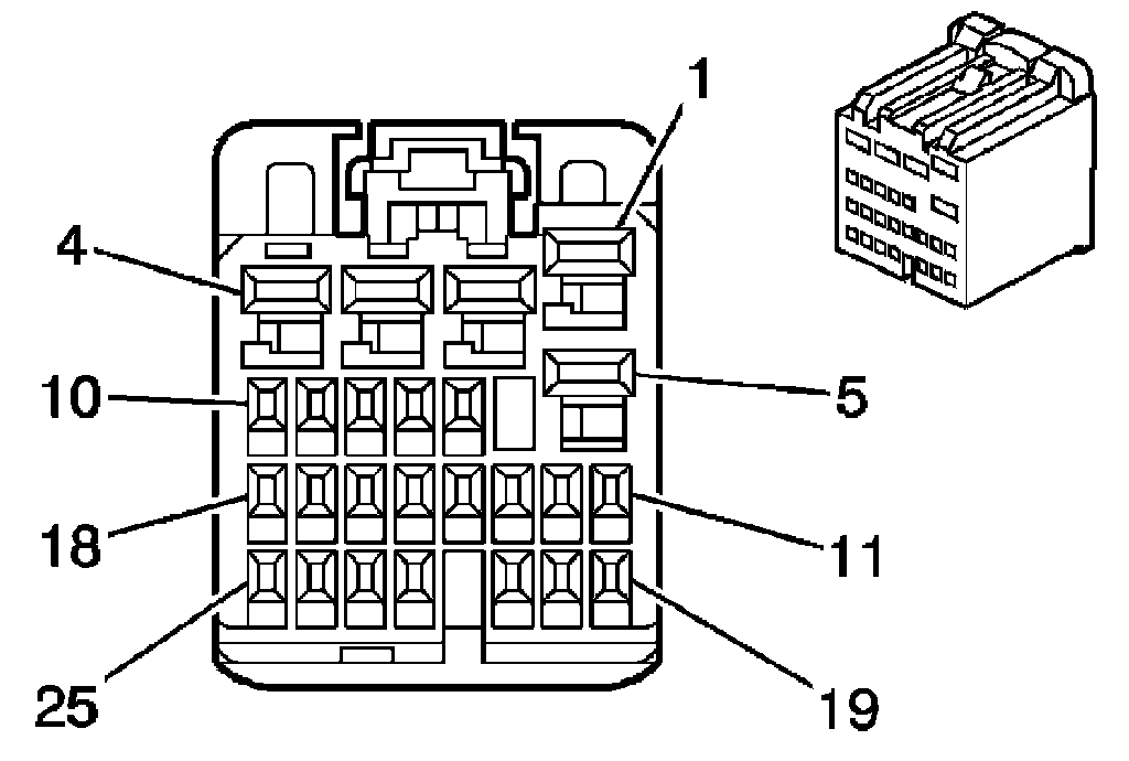
Body Control Module (BCM) C4:




Body Control Module (BCM) C4

Connector Part Information
OEM: HITPB-25-D-K
Service: -
Description: 25-Way F Receptacle 0.64 2.8 (BK)

Terminal Part Information
Pins: 1, 2, 3,4, 5
Terminal/Tray: See Terminal Repair Kit
Core/Insulation Crimp: See Terminal Repair Kit
Release Tool/Test Probe: See Terminal Repair Kit
Pins: 7, 9, 10, 11, 12, 13, 15, 16, 17, 19, 21, 22, 23
Terminal/Tray: SNAC3-A021T-M0.64/20
Core/Insulation Crimp: J/J
Release Tool/Test Probe: 12094429/J-35616-64B (L-BU)

Body Control Module (BCM) C4:




Body Control Module (BCM) C4

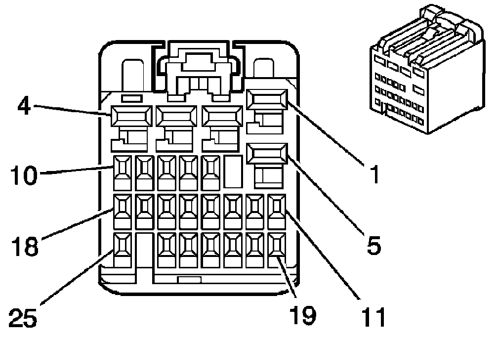
Body Control Module (BCM) C5:




Body Control Module (BCM) C5

Connector Part Information
OEM: HITPB-25-E-N
Service: -
Description: 25-Wat F Receptacle Unsealed 0.64 2.8 (BN)

Terminal Part Information
Pins: 1, 2,4, 5
Terminal/Tray: See Terminal Repair Kit
Core/Insulation Crimp: See Terminal Repair Kit
Release Tool/Test Probe: See Terminal Repair Kit
Pins: 6, 8, 9, 10, 11, 14, 15, 16, 18, 20, 21, 23, 24
Terminal/Tray: SNAC3-A021T-M0.64/20
Core/Insulation Crimp: J/J
Release Tool/Test Probe: 12094429/J-35616-64B (L-BU)

Body Control Module (BCM) C5:




Body Control Module (BCM) C5

Body Control Module (BCM) C6:




Body Control Module (BCM) C6

Connector Part Information
OEM: HITPB-25-F-PK
Service: -
Description: 25-WAY F Receptacle Unsealed 0.64 2.8 (PK)

Terminal Part Information
Pins: 1, 2
Terminal/Tray: See Terminal Repair Kit
Core/Insulation Crimp: See Terminal Repair Kit
Release Tool/Test Probe: See Terminal Repair Kit
Pins: 8, 9, 10, 12, 15, 18
Terminal/Tray: SNAC3-A021T-M0.64/20
Core/Insulation Crimp: J/J
Release Tool/Test Probe: 12094429/J-35616-64B (L-BU)

Body Control Module (BCM) C6:




Body Control Module (BCM) C6

Body Control Module (BCM) C7:




Body Control Module (BCM) C7

Connector Part Information
OEM: HITPB-28-G-H
Service: -
Description: 28-Way F Receptacle 0.64 (GY)

Terminal Part Information
Terminal/Tray: SNAC3-A021T-M0.64/20
Core/Insulation Crimp: J/J
Release Tool/Test Probe: 12094429/J-35616-64B (L-BU)

Body Control Module (BCM) C7:




Body Control Module (BCM) C7

Data Link Connector (DLC):




Data Link Connector (DLC)

Connector Part Information
OEM: 348822-2
Service: 89046778
Description: 16-Way F Diagnostic Connector (BK)

Terminal Part Information
Terminal/Tray: 776001-1/16
Core/Insulation Crimp: E/C
Release Tool/Test Probe: 15315247/J-35616-2A (GY)

Data Link Connector (DLC):




Data Link Connector (DLC)

Terminator Resistor (Except MH6):




Terminator Resistor (Except MH6)

Connector Part Information
OEM: 15326801
Service: 15306156
Description: 2-Way F GT 150 Series (BK)

Terminal Part Information
Terminal/Tray: 12191819/8
Core/Insulation Crimp: E/A
Release Tool/Test Probe: 15315247/J-35616-2A (GY)

Terminator Resistor (Except MH6):




Terminator Resistor (Except MH6)