Operation CHARM: Car repair manuals for everyone.
Manuals through 2025 now available!

Our trusted friends have launched a new website named LEMON, which has newer manuals. It also contains all the CHARM manuals.

LEMON is the spiritual successor to CHARM, I recommend you try it!

Link: lemon-manuals.la or lemon-manuals.org.ua

(Some people have issue connecting. LEMON is investigating. For now, use Firefox or change your DNS server)

Or, hide this message: temporarily or permanently

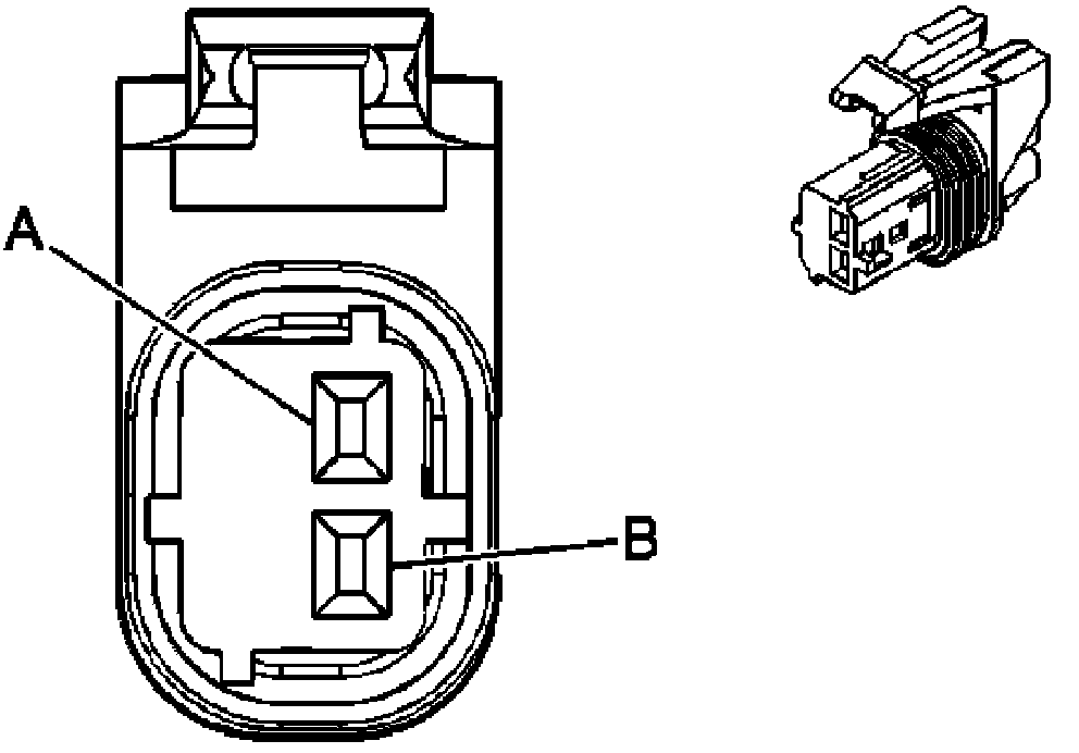
Impact Sensor

Inflatable Restraint Front End Sensor - Left






Connector Part Information
OEM: 15356723
Service: 15306439
Description: 2-Way F GT 150 Sealed 4.0 (YE)

Terminal Part Information
Terminal/Tray: 12191819/8
Core/Insulation Crimp: E/A
Release Tool/Test Probe: 15315247/J-35616-2A (GY)

Inflatable Restraint Front End Sensor - Left:






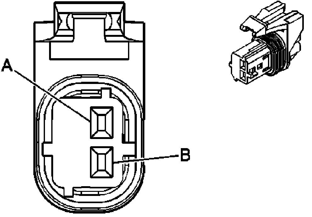
Inflatable Restraint Front End Sensor - Right






Connector Part Information
OEM: 15356723
Service: 15306439
Description: 2-Way F GT 150 Sealed 4.0 (YE)

Terminal Part Information
Terminal/Tray: 12191819/8
Core/Insulation Crimp: E/A
Release Tool/Test Probe: 15315247/J-35616-2A (GY)

Inflatable Restraint Front End Sensor - Right:






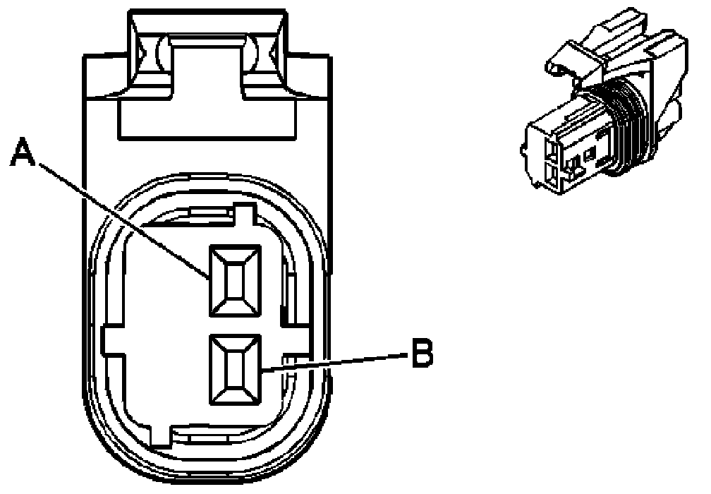
Inflatable Restraint Side Impact Sensor (SIS) - Left (ASF)






Connector Part Information
OEM: 15356723
Service: 15306439
Description: 2-Way F GT 150 Sealed 4.0 (YE)

Terminal Part Information
Terminal/Tray: 12191819/8
Core/Insulation Crimp: E/A
Release Tool/Test Probe: 15315247/J-35616-2A (GY)

Inflatable Restraint Side Impact Sensor (SIS) - Left (ASF):






Inflatable Restraint Side Impact Sensor (SIS) - Right (ASF)






Connector Part Information
OEM: 15356723
Service: 15306439
Description: 2-Way F GT 150 Sealed 4.0 (YE)

Terminal Part Information
Terminal/Tray: 12191819/8
Core/Insulation Crimp: E/A
Release Tool/Test Probe: 15315247/J-35616-2A (GY)

Inflatable Restraint Side Impact Sensor (SIS) - Right (ASF):






Inflatable Restraint Vehicle Rollover Sensor (ASF)






Connector Part Information
OEM: 6189-6936
Service: See Catalog
Description: 6-Way F 0.64 Series Sealed (YE)

Terminal Part Information
Pins: 1, 6
Terminal/Tray: 8100-3427/22
Core/Insulation Crimp: K/K
Release Tool/Test Probe: 15315247/J-35616-64B (L-BU)
Pins: 3, 4, 4, 5
Terminal/Tray: 8100-3426/22
Core/Insulation Crimp: J/J
Release Tool/Test Probe: 15315247/J-35616-64B (L-BU)

Inflatable Restraint Vehicle Rollover Sensor (ASF):