Operation CHARM: Car repair manuals for everyone.
Manuals through 2025 now available!

Our trusted friends have launched a new website named LEMON, which has newer manuals. It also contains all the CHARM manuals.

LEMON is the spiritual successor to CHARM, I recommend you try it!

Link: lemon-manuals.la or lemon-manuals.org.ua

(Some people have issue connecting. LEMON is investigating. For now, use Firefox or change your DNS server)

Or, hide this message: temporarily or permanently

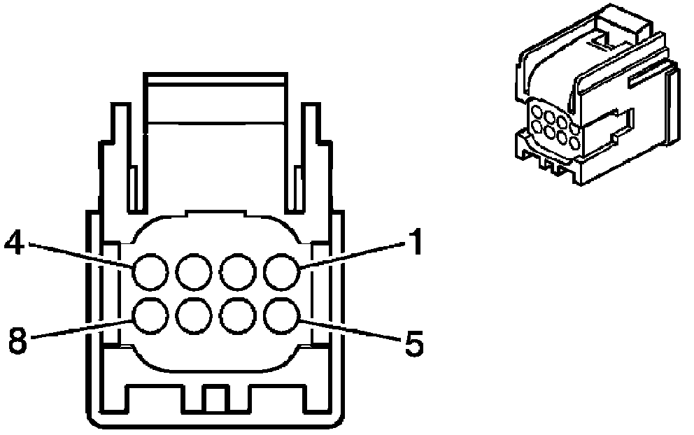
Auxiliary Input / Output Jack, Entertainment System

Audio/Video Adapter (UUC)






Connector Part Information
OEM: 15480082
Service: 19149303
Description: 8-Way F Micro 64 Series (GY)

Terminal Part Information
Terminal/Tray: 15359541/4
Core/Insulation Crimp: M/M
Release Tool/Test Probe: 15381651-2/J-35616-64B (L-BU)

Audio/Video Adapter (UUC):