Operation CHARM: Car repair manuals for everyone.
Manuals through 2025 now available!

Our trusted friends have launched a new website named LEMON, which has newer manuals. It also contains all the CHARM manuals.

LEMON is the spiritual successor to CHARM, I recommend you try it!

Link: lemon-manuals.la or lemon-manuals.org.ua

(Some people have issue connecting. LEMON is investigating. For now, use Firefox or change your DNS server)

Or, hide this message: temporarily or permanently

System Diagram

Entertainment/Communication Connector End Views

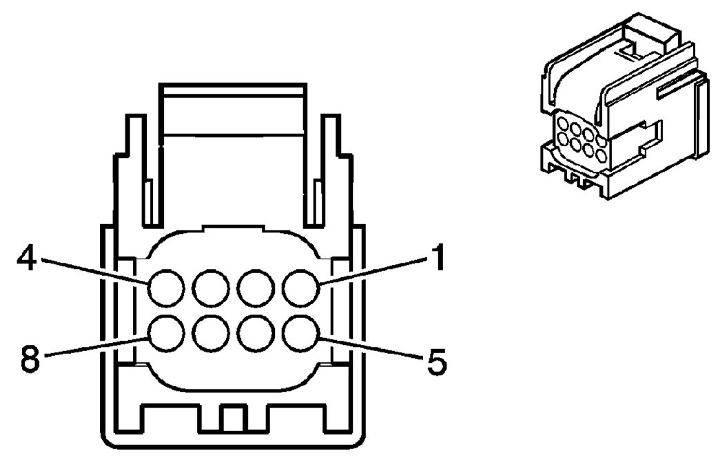
Audio/Video Adapter (UUC)






Connector Part Information
OEM: 15480082
Service: 19149303
Description: 8-Way F Micro 64 Series (GY)

Terminal Part Information
Terminal/Tray: 15359541/4
Core/Insulation Crimp: M/M
Release Tool/Test Probe: 15381651-2/J-35616 - 64B (L-BU)

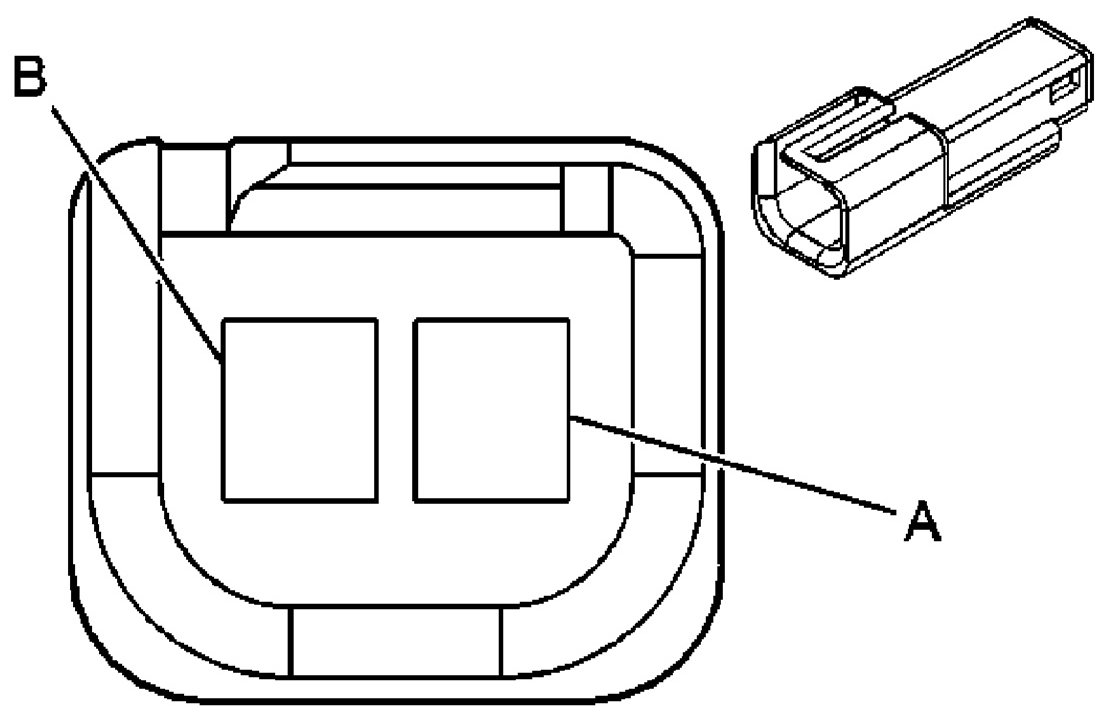
Audio/Video Adapter (UUC)






Digital Radio Receiver (U2K)






Connector Part Information
OEM: 15394150
Service:
Description: 16-Way F Micro 64 Series, Unsealed (BK)

Terminal Part Information
Terminal/Tray: 15359541/4
Core/Insulation Crimp: M/M
Release Tool/Test Probe: 15381651-2/J-35616 - 64B (L-BU)

Digital Radio Receiver (U2K)






Infrared Transmitter Module (UUC)






Connector Part Information
OEM: 15429806
Service:
Description: 16-Way F Micro 64 Series (BN)

Terminal Part Information
Terminal/Tray: See Terminal Repair Kit
Core/Insulation Crimp: See Terminal Repair Kit
Release Tool/Test Probe: See Terminal Repair Kit

Infrared Transmitter Module (UUC)






Noise Compensation Microphone (U3U)






Connector Part Information
OEM: 12047663
Service: 12085481
Description: 2-Way M Metri-Pack 150 Series (BK)

Terminal Part Information
Terminal/Tray: See Terminal Repair Kit
Core/Insulation Crimp: See Terminal Repair Kit
Release Tool/Test Probe: See Terminal Repair Kit

Noise Compensation Microphone (U3U)