Operation CHARM: Car repair manuals for everyone.
Manuals through 2025 now available!

Our trusted friends have launched a new website named LEMON, which has newer manuals. It also contains all the CHARM manuals.

LEMON is the spiritual successor to CHARM, I recommend you try it!

Link: lemon-manuals.la or lemon-manuals.org.ua

(Some people have issue connecting. LEMON is investigating. For now, use Firefox or change your DNS server)

Or, hide this message: temporarily or permanently

Fuse Block - I/P

Fuse Block - I/P X1






Connector Part Information
OEM: 6098-5228
Service: 88988709
Description: 47-Way F LIF Series (GY)

Terminal Part Information
Pins: 46
Terminal/Tray: 7116-4122-02/10
Core/Insulation Crimp: A/B
Release Tool/Test Probe: 12094430/J-35616-42 (RD)
Pins: 3, 13-14, 24-25
Terminal/Tray: 15304711/8
Core/Insulation Crimp: Pins 3-13 - E/A
Core/Insulation Crimp: Pins 14, 24-25 - 2/A
Release Tool/Test Probe: 15315247/J-35616-4A (PU)
Pins: 4-9, 15-16, 18-21, 27-29, 32, 37-39
Terminal/Tray: 12191812/19
Core/Insulation Crimp: Pins 4-6, 8-9, 15-16, 18-21, 27-29, 37, 39 - E/C
Core/Insulation Crimp: Pins 7, 32, 38 - C/A
Release Tool/Test Probe: 15315247/J-35616-2A (GY)

Fuse Block - I/P X1:






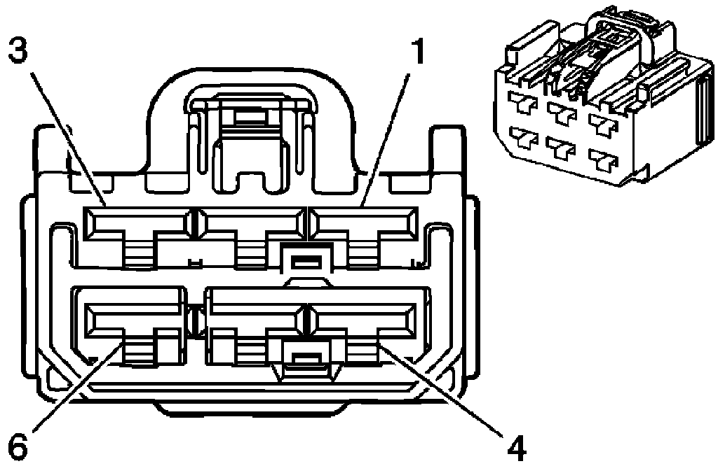
Fuse Block - I/P X2






Connector Part Information
OEM: 7283-5600-40
Service: See Catalog
Description: 6-Way F (L-GY)

Terminal Part Information
Pins: 1, 3, 2
Terminal/Tray: 7116-4122-02/10
Core/Insulation Crimp: Pins 1, 3 - D/G
Core/Insulation Crimp: Pins 2 - A/B
Release Tool/Test Probe: 12094430/J-35616-42 (RD)
Pins: 4
Terminal/Tray: 7116-4121-02/10
Core/Insulation Crimp: C/B
Release Tool/Test Probe: 12094430/J-35616-42 (RD)

Fuse Block - I/P X2:






Fuse Block - I/P X3






Connector Part Information
OEM: 6098-5229
Service: 88988710
Description: 50-Way F LIF Series (BK)

Terminal Part Information
Pins: 1, 34
Terminal/Tray: 15304713/19
Core/Insulation Crimp: See Terminal Repair Kit
Release Tool/Test Probe: 15315247/J-35616-4A (PU)
Pins: C, 43-44, 46-47
Terminal/Tray: 7116-4121-02/10
Core/Insulation Crimp: C/B
Release Tool/Test Probe: 12094430/J-35616-42 (RD)
Pins: 45
Terminal/Tray: 7116-4122-02/10
Core/Insulation Crimp: D/G
Release Tool/Test Probe: 12094430/J-35616-42 (RD)
Pins: A-B, 2-3, 11-14, 22-24, 35
Terminal/Tray: 15304711/8
Core/Insulation Crimp: Pins A, 2-3, 11-13, 23-24, 35 - 2/A
Core/Insulation Crimp: Pins B, 14, 22 - E/A
Release Tool/Test Probe: 15315247/J-35616-4A (PU)
Pins: 4,-6, 8-9, 15-16, 18-21, 27-32, 36-42
Terminal/Tray: 12191812/19
Core/Insulation Crimp: Pins 4-6, 8-9, 15, 18-21, 27-29, 31-32, 36-38, 41-42 - E/C
Core/Insulation Crimp: Pins 5, 16, 30, 39-40 - C/A
Release Tool/Test Probe: 15315247/J-35616-2A (GY)

Fuse Block - I/P X3: