Operation CHARM: Car repair manuals for everyone.
Manuals through 2025 now available!

Our trusted friends have launched a new website named LEMON, which has newer manuals. It also contains all the CHARM manuals.

LEMON is the spiritual successor to CHARM, I recommend you try it!

Link: lemon-manuals.la or lemon-manuals.org.ua

(Some people have issue connecting. LEMON is investigating. For now, use Firefox or change your DNS server)

Or, hide this message: temporarily or permanently

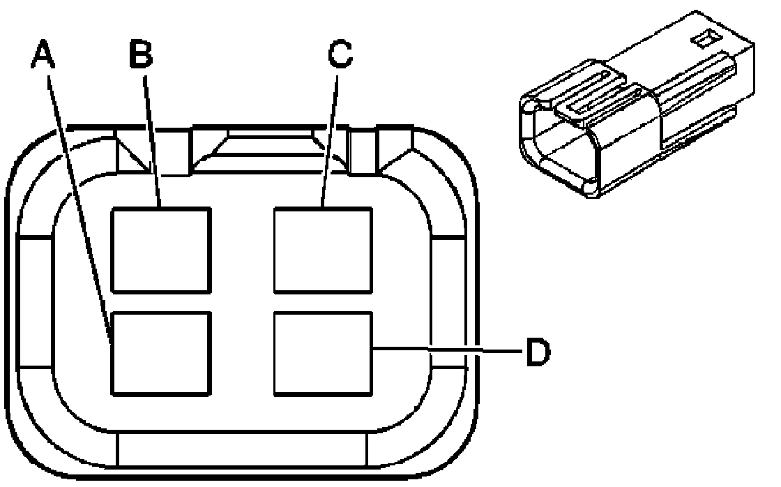
Cabin Temperature Sensor / Switch

Inside Air Temperature Sensor






Connector Part Information
OEM: 12047786
Service: 12085536
Description: 4-Way M Metri-Pack 150 Series, Unsealed (BK)

Terminal Part Information
Terminal/Tray: 12047581/2
Core/Insulation Crimp: E/C
Release Tool/Test Probe: 12094429/J-35616-3 (GY)

Inside Air Temperature Sensor: