Operation CHARM: Car repair manuals for everyone.
Manuals through 2025 now available!

Our trusted friends have launched a new website named LEMON, which has newer manuals. It also contains all the CHARM manuals.

LEMON is the spiritual successor to CHARM, I recommend you try it!

Link: lemon-manuals.la or lemon-manuals.org.ua

(Some people have issue connecting. LEMON is investigating. For now, use Firefox or change your DNS server)

Or, hide this message: temporarily or permanently

System Diagram

HVAC Connector End Views A/C Compressor Clutch

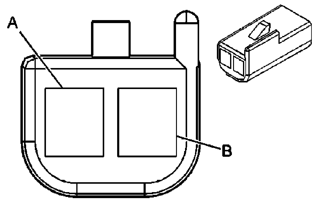
A/C Compressor Clutch:




A/C Compressor Clutch

Connector Part Information
OEM: 7283-5448
Service: 89046838
Description: 2-Way F (BK)

Terminal Part Information
Terminal/Tray: 7116-4102-08/9
Core/Insulation Crimp: E/1
Release Tool/Test Probe: 12094430/J-35616-2A (GY)

A/C Compressor Clutch:




A/C Compressor Clutch

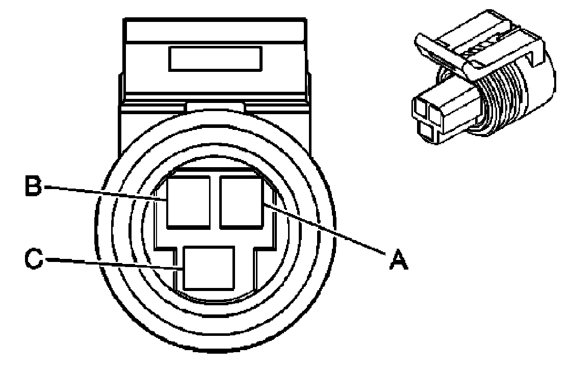
A/C Refrigerant Pressure Sensor Pressure Sensor:




A/C Refrigerant Pressure Sensor Pressure Sensor

Connector Part Information
OEM: 12110192
Service: 88988301
Description: 3-Way F Metri-Pack 150 Series (BK)

Terminal Part Information
Terminal/Tray: 12103881/2
Core/Insulation Crimp: E/C
Release Tool/Test Probe: 12180559-1/J-35616-2A (GY)

A/C Pressure Sensor:




A/C Pressure Sensor

Air Temperature Sensor - Lower:




Air Temperature Sensor - Lower

Connector Part Information
OEM: 15380927
Service: -
Description: 2-Way F Timer Micro II Series (BK)

Terminal Part Information
Terminal/Tray: See Terminal Repair Kit
Core/Insulation Crimp: See Terminal Repair Kit
Release Tool/Test Probe: See Terminal Repair Kit

Air Temperature Sensor - Upper:




Air Temperature Sensor - Upper

Air Temperature Sensor - Upper:




Air Temperature Sensor - Upper

Connector Part Information
OEM: 15380927
Service: -
Description: 2-Way F Timer Micro II Series (BK)

Terminal Part Information
Terminal/Tray: See Terminal Repair Kit
Core/Insulation Crimp: See Terminal Repair Kit
Release Tool/Test Probe: See Terminal Repair Kit

Air Temperature Sensor - Upper:




Air Temperature Sensor - Upper

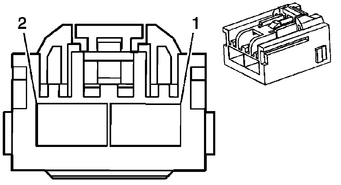
Blower Motor Control Processor - Front C1:




Blower Motor Control Processor - Front C1

Connector Part Information
OEM: 15226103
Service: 88988507
Description: 2-Way F (L-GY)

Terminal Part Information
Terminal/Tray: 7116-4122-02/10
Core/Insulation Crimp: A/B
Release Tool/Test Probe: 12094430/J-35616-42 (RD)

Blower Motor Control Processor Front C1:




Blower Motor Control Processor - Front C1

Blower Motor Control Processor Front C2:




Blower Motor Control Processor - Front C2

Connector Part Information

OEM: 7283-9749-30
Service: -
Description: 6-Way F YESC Kaizen series (BK)

Terminal Part Information
Pins: 3
Terminal/Tray: 12191812/19
Core/Insulation Crimp: E/C
Release Tool/Test Probe: 15315247/J-35616-2A (GY)

Pins: 5,6
Terminal/Tray: 7116-4122-02/10
Core/Insulation Crimp: A/B
Release Tool/Test Probe: 12094430/J-35616-42 (RD)

Blower Motor Control Processor - Front C2:




Blower Motor Control Processor - Front C2

Blower Motor Control Processor - Rear C1 (C69):




Blower Motor Control Processor - Rear C1 (C69)

Connector Part Information
OEM: 10846816
Service: 88988507
Description: 2-Way F 6.3 Series (L-GY)

Terminal Part Information
Terminal/Tray: See Terminal Repair Kit
Core/Insulation Crimp: See Terminal Repair Kit
Release Tool/Test Probe: See Terminal Repair Kit

Blower Motor Control Processor - Rear C1 (C69):




Blower Motor Control Processor - Rear C1 (C69)

Blower Motor Control Processor - Rear C2 (C69):




Blower Motor Control Processor - Rear C2 (C69)

Connector Part Information
OEM: 13520671
Service: -
Description: 6-Way F GT 150 6.3 Series (BK)

Terminal Part Information
Terminal/Tray: See Terminal Repair Kit
Core/Insulation Crimp: See Terminal Repair Kit
Release Tool/Test Probe: See Terminal Repair Kit

Blower Motor Control Processor - Rear C2 (C69):




Blower Motor Control Processor - Rear C2 (C69)

Evaporator Temperature Sensor:




Evaporator Temperature Sensor

Connector Part Information
OEM: 12047662
Service: 12085535
Description: 2-Way F Metri-Pack 150 Series (BK)

Terminal Part Information
Terminal/Tray: See Terminal Repair Kit
Core/Insulation Crimp: See Terminal Repair Kit
Release Tool/Test Probe: See Terminal Repair Kit

Evaporator Temperature Sensor:




Evaporator Temperature Sensor

HVAC Blower Motor:




HVAC Blower Motor

Connector Part Information
OEM: 15226103
Service: 88988507
Description: 2-Way F (L-GY)

Terminal Part Information
Terminal/Tray: 7116-4122-02/10
Core/Insulation Crimp: A/B
Release Tool/Test Probe: 12094430/J-35616-42 (RD)

HVAC Blower Motor:




HVAC Blower Motor

HVAC Blower Motor - Rear (C69):




HVAC Blower Motor - Rear (C69)

Connector Part Information
OEM: 10846816
Service: 88988507
Description: 2-Way F 6.3 Series (L-GY)

Terminal Part Information
Terminal/Tray: See Terminal Repair Kit
Core/Insulation Crimp: See Terminal Repair Kit
Release Tool/Test Probe: See Terminal Repair Kit

HVAC Blower Motor - Rear (C69):




HVAC Blower Motor - Rear (C69)

HVAC Control Module C1:




HVAC Control Module C1

Connector Part Information
OEM: 15126709
Service: -
Description: 20-Way F Receptacle 0.64 Unsealed (BN)

Terminal Part Information
Terminal/Tray: 7116-4618-02/14
Core/Insulation Crimp: P/P
Release Tool/Test
Probe: J-38125-215/J-35616-64B (L-BU)

HVAC Control Module C1:




HVAC Control Module C1

HVAC Control Module C2:




HVAC Control Module C2

Connector Part Information
OEM: 7283-9080-90
Service: -
Description: 16-Way F 064 Series Unsealed (BU)

Terminal Part Information
Terminal/Tray: 7116-4618-02/14
Core/Insulation Crimp: P/P
Release Tool/Test Probe: J-38125-215/J-35616-64B (L-BU)

HVAC Control Module C2:




HVAC Control Module C2

HVAC Control Module C3:




HVAC Control Module C3

Connector Part Information
OEM: 15126710
Service: -
Description: 20-Way F Receptacle 0.64 Unsealed (GY)

Terminal Part Information
Terminal/Tray: 7116-4618-02/14
Core/Insulation Crimp: P/P
Release Tool/Test Probe: J-38125-215/J-35616-64B (L-BU)

HVAC Control Module C3:




HVAC Control Module C3

HVAC Control Module C4 (C69):




HVAC Control Module C4 (C69)

Connector Part Information
OEM: 7283-9079-60
Service: -
Description: 16-Way F 064 Series Unsealed (GN)

Terminal Part Information
Terminal/Tray: 7116-4618-02/14
Core/Insulation Crimp: P/P
Release Tool/Test Probe: J-38125-215/J-35616-64B (L-BU)

HVAC Control Module C4 (C69):




HVAC Control Module C4 (C69)

HVAC Control - Rear (C69):




HVAC Control - Rear (C69)

Connector Part Information
OEM: 89047355
Service: -
Description: 10-Way F 0.64 Unsealed (BK)

Terminal Part Information
Terminal/Tray: 7116-4618-02/14
Core/Insulation Crimp: P/P
Release Tool/Test Probe: J-38125-215/J-35616-64B (L-BU)

HVAC Control - Rear (C69):




HVAC Control - Rear (C69)

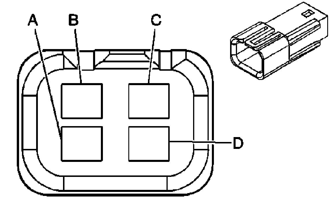
Inside Air Temperature Sensor:




Inside Air Temperature Sensor

Connector Part Information
OEM: 12047786 Service: 12085536
Description: 4-Way M Metri-Pack 150 Series, Unsealed (BK)

Terminal Part Information
Terminal/Tray: 12047581/2
Core/Insulation Crimp: E/C
Release Tool/Test Probe: 12094429/J-35616-3 (GY)

Inside Air Temperature Sensor:




Inside Air Temperature Sensor

Mode Actuator:




Mode Actuator

Connector Part Information
OEM: 12064982
Service: 12102633
Description: 5-Way F Micro-Pack 100 Series (BK)

Terminal Part Information
Terminal/Tray: See Terminal Repair Kit
Core/Insulation Crimp: See Terminal Repair Kit
Release Tool/Test Probe: See Terminal Repair Kit

Mode Actuator:




Mode Actuator

Mode Actuator - Rear (C69):




Mode Actuator - Rear (C69)

Connector Part Information
OEM: 12064982
Service: 12102633
Description: 5-Way F Micro-Pack 100 Series (BK)

Terminal Part Information
Terminal/Tray: See Terminal Repair Kit
Core/Insulation Crimp: See Terminal Repair Kit
Release Tool/Test Probe: See Terminal Repair Kit

Mode Actuator - Rear (C69):




Mode Actuator - Rear (C69)

Recirculation Actuator:




Recirculation Actuator

Connector Part Information
OEM: 12064982
Service: 12102633
Description: 5-Way F Micro-Pack 100 Series (BK)

Terminal Part Information
Terminal/Tray: See Terminal Repair Kit
Core/Insulation Crimp: See Terminal Repair Kit
Release Tool/Test Probe: See Terminal Repair Kit

Recirculation Actuator:




Recirculation Actuator

Temperature Actuator:




Temperature Actuator

Connector Part Information
OEM: 12064982
Service: 12102633
Description: 5-Way F Micro-Pack 100 Series (BK)

Terminal Part Information
Terminal/Tray: See Terminal Repair Kit
Core/Insulation Crimp: See Terminal Repair Kit
Release Tool/Test Probe: See Terminal Repair Kit

Temperature Actuator:




Temperature Actuator

Temperature Actuator - Rear (C69):




Temperature Actuator - Rear (C69)

Connector Part Information
OEM: 12064982
Service: 12102633
Description: 5-Way F Micro-Pack 100 Series (BK)

Terminal Part Information
Terminal/Tray: See Terminal Repair Kit
Core/Insulation Crimp: See Terminal Repair Kit
Release Tool/Test Probe: See Terminal Repair Kit

Temperature Actuator - Rear (C69):




Temperature Actuator - Rear (C69)