Operation CHARM: Car repair manuals for everyone.
Manuals through 2025 now available!

Our trusted friends have launched a new website named LEMON, which has newer manuals. It also contains all the CHARM manuals.

LEMON is the spiritual successor to CHARM, I recommend you try it!

Link: lemon-manuals.la or lemon-manuals.org.ua

(Some people have issue connecting. LEMON is investigating. For now, use Firefox or change your DNS server)

Or, hide this message: temporarily or permanently

Seat Temperature Control Module

Heated Seat Control Module X1 (KA1)






Connector Part Information
OEM: 6098-4606
Service: 15134095
Description: 6-Way F (BN)

Terminal Part Information
Terminal/Tray: See Terminal Repair Kit
Core/Insulation Crimp: See Terminal Repair Kit
Release Tool/Test Probe: See Terminal Repair Kit

Heated Seat Control Module X1 (KA1):






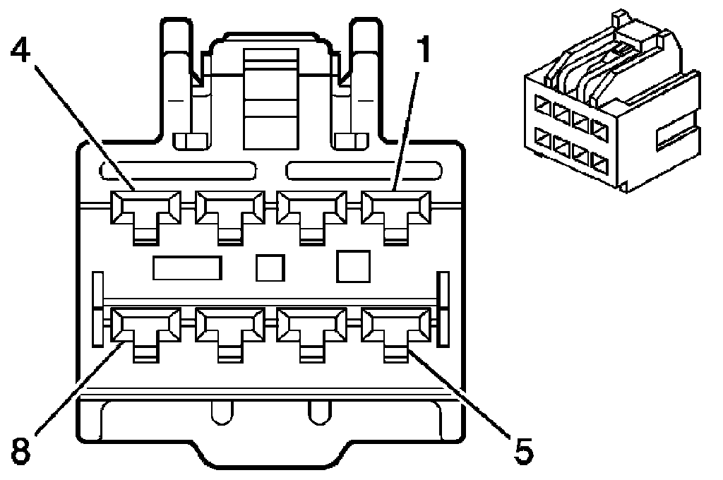
Heated Seat Control Module X2 (KA1)






Connector Part Information
OEM: 6098-4787
Service: 88988653
Description: 8-Way F (NA)

Terminal Part Information
Terminal/Tray: See Terminal Repair Kit
Core/Insulation Crimp: See Terminal Repair Kit
Release Tool/Test Probe: See Terminal Repair Kit

Heated Seat Control Module X2 (KA1):






Heated Seat Control Module X3 (KA1)






Connector Part Information
OEM: 7283-9040
Service: 15127042
Description: 10-Way F (BK)

Terminal Part Information
Terminal/Tray: See Terminal Repair Kit
Core/Insulation Crimp: See Terminal Repair Kit
Release Tool/Test Probe: See Terminal Repair Kit

Heated Seat Control Module X3 (KA1):






Heated Seat Control Module X4 (KA1)






Connector Part Information
OEM: 31410-1200
Service: 15126711
Description: 20-Way F (BK)

Terminal Part Information
Terminal/Tray: See Terminal Repair Kit
Core/Insulation Crimp: See Terminal Repair Kit
Release Tool/Test Probe: See Terminal Repair Kit

Heated Seat Control Module X4 (KA1):