Operation CHARM: Car repair manuals for everyone.
Manuals through 2025 now available!

Our trusted friends have launched a new website named LEMON, which has newer manuals. It also contains all the CHARM manuals.

LEMON is the spiritual successor to CHARM, I recommend you try it!

Link: lemon-manuals.la or lemon-manuals.org.ua

(Some people have issue connecting. LEMON is investigating. For now, use Firefox or change your DNS server)

Or, hide this message: temporarily or permanently

Speaker

Speaker - Left Front






Connector Part Information
OEM: 12196741
Service: See Catalog
Description: 2-Way F Faston 2.8 Series (BK)
Terminal Part Information
Terminal/Tray: See Terminal Repair Kit
Core/Insulation Crimp: See Terminal Repair Kit
Release Tool/Test Probe: See Terminal Repair Kit

Speaker - Left Front:






Speaker - Left Front Tweeter






Connector Part Information
OEM: 626064-0
Service: See Catalog
Description: 2-Way F Faston 2.8 Series (NA)

Terminal Part Information
Terminal/Tray: See Terminal Repair Kit
Core/Insulation Crimp: See Terminal Repair Kit
Release Tool/Test Probe: See Terminal Repair Kit

Speaker - Left Front Tweeter:






Speaker - Left Rear






Connector Part Information
OEM: 12196741
Service: See Catalog
Description: 2-Way F Faston 2.8 Series (BK)

Terminal Part Information
Terminal/Tray: See Terminal Repair Kit
Core/Insulation Crimp: See Terminal Repair Kit
Release Tool/Test Probe: See Terminal Repair Kit

Speaker - Left Rear:






Speaker - Right Front






Connector Part Information
OEM: 12196741
Service: See Catalog
Description: 2-Way F Faston 2.8 Series (BK)

Terminal Part Information
Terminal/Tray: See Terminal Repair Kit
Core/Insulation Crimp: See Terminal Repair Kit
Release Tool/Test Probe: See Terminal Repair Kit

Speaker - Right Front:






Speaker - Right Front Tweeter






Connector Part Information
OEM: 626064-0
Service: See Catalog
Description: 2-Way F Faston 2.8 Series (NA)

Terminal Part Information
Terminal/Tray: See Terminal Repair Kit
Core/Insulation Crimp: See Terminal Repair Kit
Release Tool/Test Probe: See Terminal Repair Kit

Speaker - Right Front Tweeter:






Speaker - Right Rear






Connector Part Information
OEM: 12196741
Service: See Catalog
Description: 2-Way F Faston 2.8 Series (BK)

Terminal Part Information
Terminal/Tray: See Terminal Repair Kit
Core/Insulation Crimp: See Terminal Repair Kit
Release Tool/Test Probe: See Terminal Repair Kit

Speaker - Right Rear:






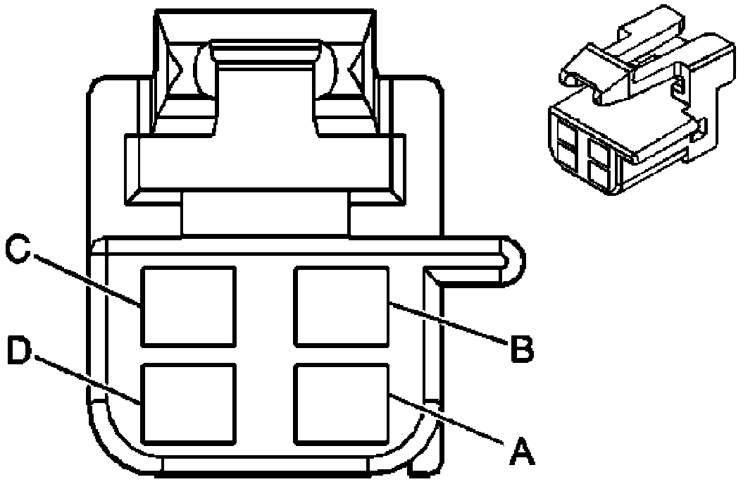
Speaker - Subwoofer (U65)






Connector Part Information
OEM: 12064760
Service: 12085208
Description: 4-Way F Metri-Pack 150 Series (BK)

Terminal Part Information
Terminal/Tray: 12047767/2
Core/Insulation Crimp: E/A
Release Tool/Test Probe: 12094429/J-35616-2A (GY)

Speaker - Subwoofer (U65):