Operation CHARM: Car repair manuals for everyone.
Manuals through 2025 now available!

Our trusted friends have launched a new website named LEMON, which has newer manuals. It also contains all the CHARM manuals.

LEMON is the spiritual successor to CHARM, I recommend you try it!

Link: lemon-manuals.la or lemon-manuals.org.ua

(Some people have issue connecting. LEMON is investigating. For now, use Firefox or change your DNS server)

Or, hide this message: temporarily or permanently

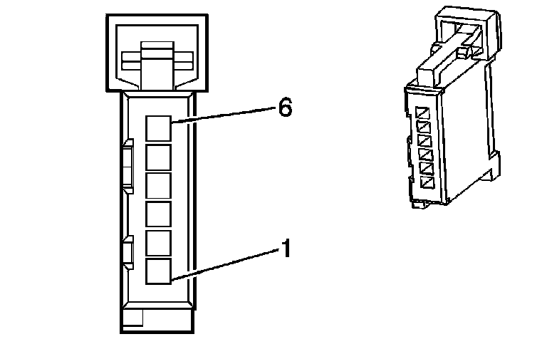
Steering Angle Sensor, Traction Control

Steering Angle Sensor





Connector Part Information
OEM: 1488752-1
Service: 88988374
Description: 6-Way F Receptacle 0.64 Unsealed (BK)

Terminal Part Information
Terminal/Tray: 1393365-2/7
Core/Insulation Crimp: K/K
Release Tool/Test Probe: 15315247/J-35616-64B (L-BU)