Operation CHARM: Car repair manuals for everyone.
Manuals through 2025 now available!

Our trusted friends have launched a new website named LEMON, which has newer manuals. It also contains all the CHARM manuals.

LEMON is the spiritual successor to CHARM, I recommend you try it!

Link: lemon-manuals.la or lemon-manuals.org.ua

(Some people have issue connecting. LEMON is investigating. For now, use Firefox or change your DNS server)

Or, hide this message: temporarily or permanently

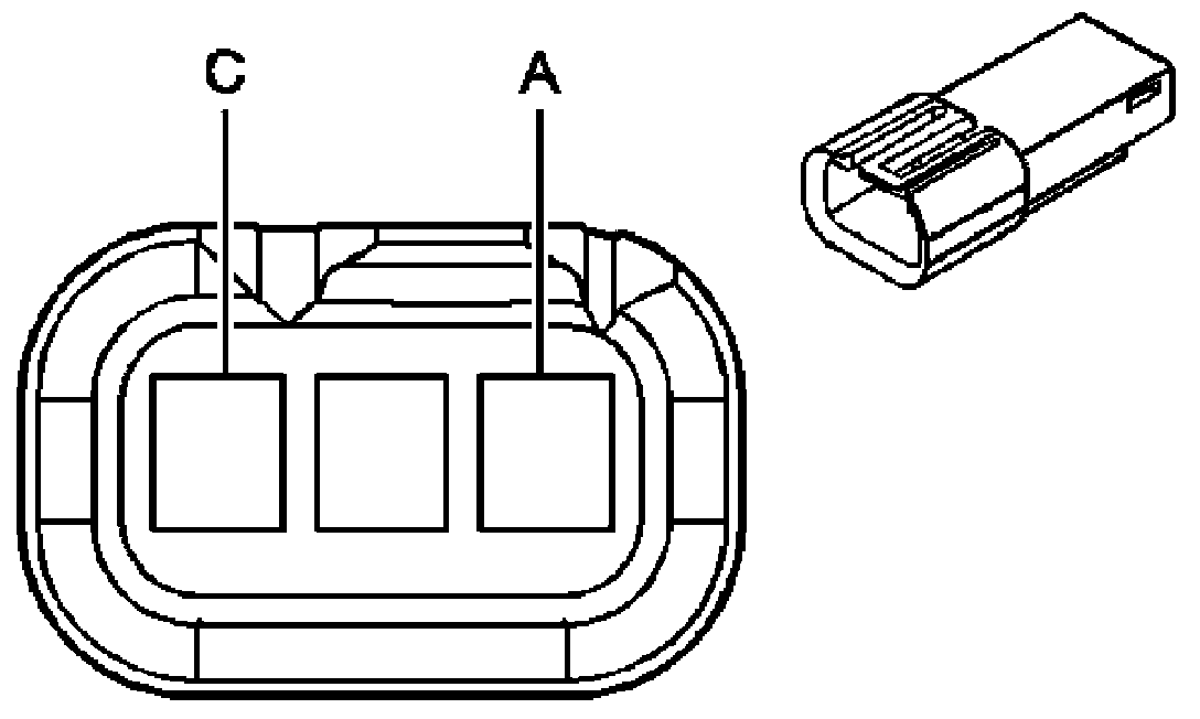
Vanity Lamp

Vanity Mirror Dome Lamp Switch (UUC)






Connector Part Information
OEM: 12047782
Service: 12117371
Description: 3-Way M Metri-Pack 150 Series (BK)

Terminal Part Information
Terminal/Tray: See Terminal Repair Kit
Core/Insulation Crimp: See Terminal Repair Kit
Release Tool/Test Probe: See Terminal Repair Kit

Vanity Mirror Dome Lamp Switch (UUC):






Vanity Mirror Map Lamp (UUC)






Connector Part Information
OEM: 12047781
Service: 12101864
Description: 3-Way F Metri-Pack 150 Series (BK)

Terminal Part Information
Terminal/Tray: See Terminal Repair Kit
Core/Insulation Crimp: See Terminal Repair Kit
Release Tool/Test Probe: See Terminal Repair Kit

Vanity Mirror Map Lamp (UUC):