Operation CHARM: Car repair manuals for everyone.
Manuals through 2025 now available!

Our trusted friends have launched a new website named LEMON, which has newer manuals. It also contains all the CHARM manuals.

LEMON is the spiritual successor to CHARM, I recommend you try it!

Link: lemon-manuals.la or lemon-manuals.org.ua

(Some people have issue connecting. LEMON is investigating. For now, use Firefox or change your DNS server)

Or, hide this message: temporarily or permanently

Wheel Speed Sensor

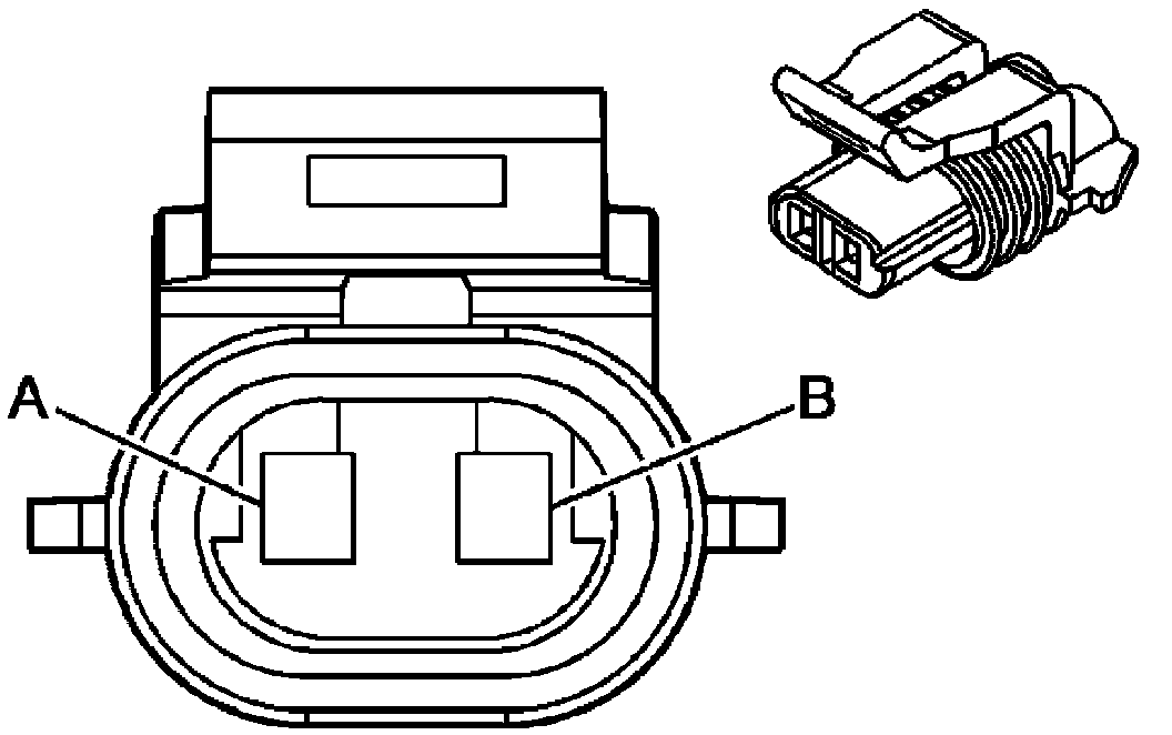
Wheel Speed Sensor (WSS) - Left Front






Connector Part Information
OEM: 12052644
Service: See Catalog
Description: 2-Way F Metri-Pack 150 Series, Sealed (GY)

Terminal Part Information
Terminal/Tray: 12048074/2
Core/Insulation Crimp: E/1
Release Tool/Test Probe: 12094429/J-35616-2A (GY)

Wheel Speed Sensor (WSS) - Left Front:






Wheel Speed Sensor (WSS) - Left Rear






Connector Part Information
OEM: 12162343
Service: See Catalog
Description: 2-Way M Metri-Pack 150 (GY)

Terminal Part Information
Terminal/Tray: 12045773/2
Core/Insulation Crimp: E/1
Release Tool/Test Probe: 12094429/J-35616-3 (GY)

Wheel Speed Sensor (WSS) - Left Rear:






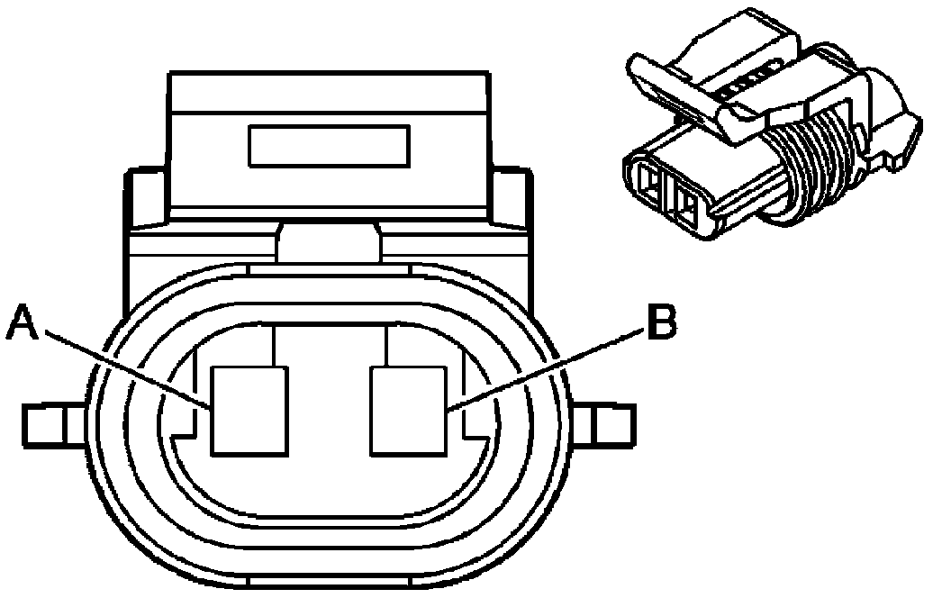
Wheel Speed Sensor (WSS) - Right Front






Connector Part Information
OEM: 12052644
Service: See Catalog
Description: 2-Way F Metri-Pack 150 Series, Sealed (GY)

Terminal Part Information
Terminal/Tray: 12048074/2
Core/Insulation Crimp: E/1
Release Tool/Test Probe: 12094429/J-35616-2A (GY)

Wheel Speed Sensor (WSS) - Right Front:






Wheel Speed Sensor (WSS) - Right Rear






Connector Part Information
OEM: 12162343
Service: See Catalog
Description: 2-Way M Metri-Pack 150 (GY)

Terminal Part Information
Terminal/Tray: 12045773/2
Core/Insulation Crimp: E/1
Release Tool/Test Probe: 12094429/J-35616-3 (GY)

Wheel Speed Sensor (WSS) - Right Rear: