Operation CHARM: Car repair manuals for everyone.
Manuals through 2025 now available!

Our trusted friends have launched a new website named LEMON, which has newer manuals. It also contains all the CHARM manuals.

LEMON is the spiritual successor to CHARM, I recommend you try it!

Link: lemon-manuals.la or lemon-manuals.org.ua

(Some people have issue connecting. LEMON is investigating. For now, use Firefox or change your DNS server)

Or, hide this message: temporarily or permanently

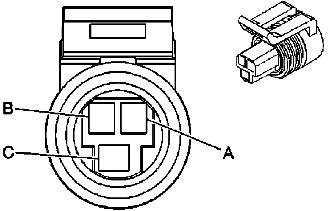
Refrigerant Pressure Sensor / Switch: Diagrams

A/C Refrigerant Pressure Sensor






Connector Part Information
OEM: 12110192
Service: 88988301
Description: 3-Way F Metri-Pack 150 Series (BK)

Terminal Part Information
Terminal/Tray: 12103881/2
Core/Insulation Crimp: E/C
Release Tool/Test Probe: 12180559-1/J-35616-2A (GY)

A/C Refrigerant Pressure Sensor: