Operation CHARM: Car repair manuals for everyone.
Manuals through 2025 now available!

Our trusted friends have launched a new website named LEMON, which has newer manuals. It also contains all the CHARM manuals.

LEMON is the spiritual successor to CHARM, I recommend you try it!

Link: lemon-manuals.la or lemon-manuals.org.ua

(Some people have issue connecting. LEMON is investigating. For now, use Firefox or change your DNS server)

Or, hide this message: temporarily or permanently

Transmission Control Module Installation

Transmission Control Module Installation





1. Using an adjustable wrench on the manual shaft detent lever (710), turn the shaft clockwise until it stops.
2. Turn the shaft counter-clockwise one position to the neutral location. To verify turning the shaft in the correct direction, on the manual shaft detent lever (710) the reverse position is larger and more resistance can be felt.





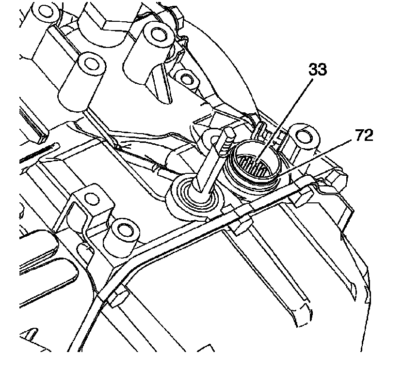
3. Inspect the condition of the connector pins on the wiring harness assembly (33) for foreign material, bent pins, or broken pins.
4. Ensure the TCM seal (72) is installed.





5. Turn the slot in the TCM to align the two marks. Do not turn more than 60 degrees.





6. Install the TCM (75) over the manual shaft detent lever (710) and into the wire connector.

CAUTION:
Refer to [Fastener Notice]


7. Install the three bolts (76).
Tightening torque
Tighten the TCM bolts to 25 Nm (18 ft. lbs.).