Operation CHARM: Car repair manuals for everyone.
Manuals through 2025 now available!

Our trusted friends have launched a new website named LEMON, which has newer manuals. It also contains all the CHARM manuals.

LEMON is the spiritual successor to CHARM, I recommend you try it!

Link: lemon-manuals.la or lemon-manuals.org.ua

(Some people have issue connecting. LEMON is investigating. For now, use Firefox or change your DNS server)

Or, hide this message: temporarily or permanently

Front Disc Brake: Disassembly and Assembly

Front Disc Brake: Disassembly and Assembly

DISASSEMBLY
1) Remove the caliper body from the torque member.
2) Remove the upper sliding pin, lower sliding pin, and sliding pin boots from the torque member.

CAUTION:
Upper sliding pin must be replaced at each service.


3) Place a wooden block as shown, and then blow air from the union bolt hole to remove the pistons and piston boots.





WARNING:
Do not get your fingers caught between the pistons and wooden block.


4) Remove the piston boots from the pistons.

CAUTION:
Do not reuse piston boot.


5) Remove piston seals from cylinder body, using a suitable tool.





CAUTION:
^ Be careful not to damage cylinder body inner wall.
^ Do not reuse piston seal.


6) Remove the bleed valve and cap.

CALIPER INSPECTION

Cylinder Body
^ Check the inside surface of the cylinder body for score, rust, wear, damage or foreign materials. If any of the above conditions are observed, replace the cylinder body.
^ Minor damage from rust or foreign materials may be eliminated by polishing surface with a fine emery paper. Replace cylinder body if necessary.

CAUTION:
^ Use new brake fluid for cleaning. Do not use mineral oils such as gasoline or kerosene.


Torque Member
Check the torque member for wear, cracks, and damage. If damage or deformation is present, replace the torque member.

Piston
Check the pistons for score, rust, wear, damage or presence of foreign materials. Replace if any of these conditions are observed.

CAUTION:
Piston sliding surface is plated, do not polish with emery paper even if rust or foreign materials are stuck to sliding surface.


Sliding Pins, and Sliding Pin Boots
Check the sliding pins and sliding pin boots for wear, damage, and cracks. If damage or deformation is present, replace the affected part.

CAUTION:
Upper sliding pin must be replaced at each service.


ASSEMBLY

CAUTION:
Do not use Rubber Grease when assembling.


1) Install the bleed valve and cap.
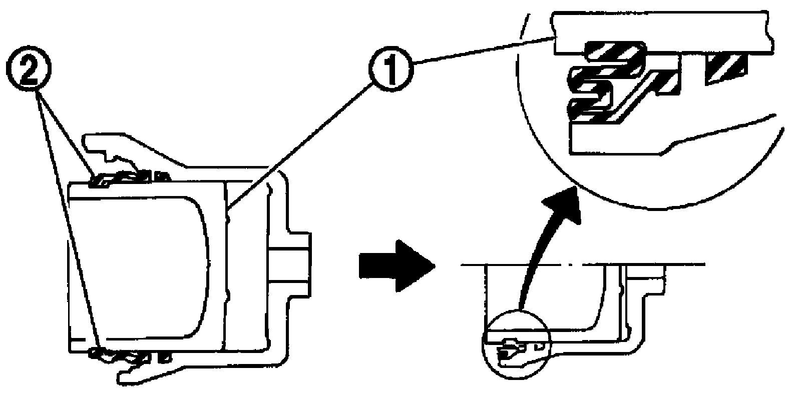
2) Apply clean brake fluid to the new piston seals (1) and insert the new piston seals (1) into the groove on the cylinder body.





CAUTION:
Do not reuse piston seals.


3) Apply clean brake fluid to the new piston boots (1). Cover the piston end (2) with the piston boot (1), and then install the cylinder side lip on the piston boot (1) securely into the groove on the cylinder body.





CAUTION:
^ Do not reuse piston boot.
^ Press pistons in evenly and vary the pressing points to prevent the cylinder inner wall from being damaged.


4) Apply brake fluid to the pistons (1), then install the pistons (1) into the cylinder body and insert the piston boots (2) side lip into the piston groove as shown.





CAUTION:
Press pistons in evenly and vary the pressing points to prevent the cylinder inner wall from being damaged.


5) Install the new upper sliding pin, lower sliding pin, and sliding pin boots on the torque member.

CAUTION:
Upper sliding pin must be replaced at each service.


6) Install the caliper body on the torque member.