Operation CHARM: Car repair manuals for everyone.
Manuals through 2025 now available!

Our trusted friends have launched a new website named LEMON, which has newer manuals. It also contains all the CHARM manuals.

LEMON is the spiritual successor to CHARM, I recommend you try it!

Link: lemon-manuals.la or lemon-manuals.org.ua

(Some people have issue connecting. LEMON is investigating. For now, use Firefox or change your DNS server)

Or, hide this message: temporarily or permanently

Programming and Relearning

Security Alarm Mode Selection Procedure (If Equipped)

Reference: Security Alarm Description (If Equipped)
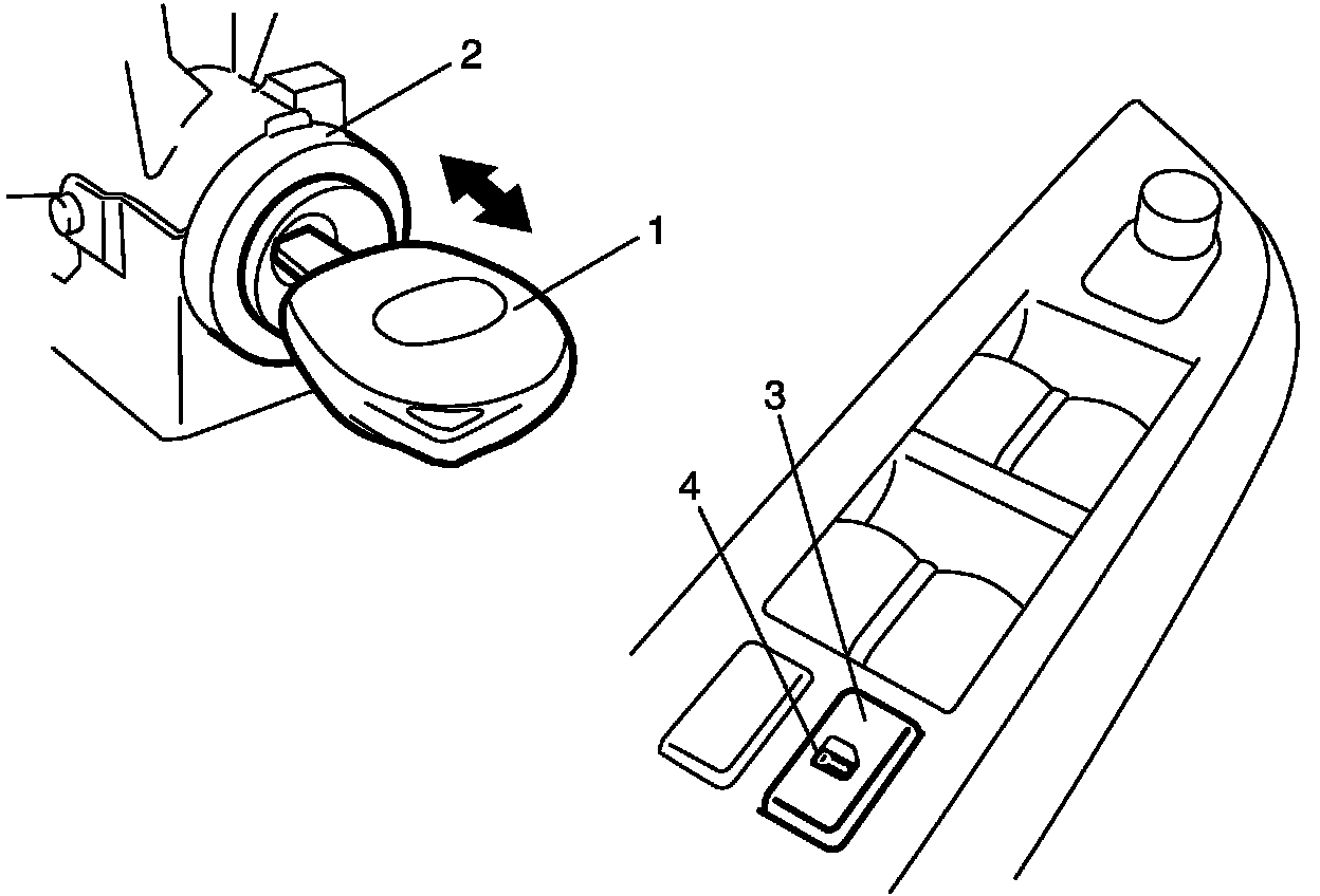
Security alarm mode can be selected by performing the following procedure.

1. Confirm that all doors are closed, all doors are unlocked and ignition key is inserted in ignition key cylinder.
2. Remove ignition key from ignition key cylinder.
3. Perform Step a) through e) described below within 15 seconds.
a. Insert ignition key (1) in ignition key cylinder (2).
b. Remove ignition key from ignition key cylinder.
c. Repeat Step a) and b) twice.
d. Insert ignition key in ignition key cylinder.
e. Push lock side (3) of driver side manual lock switch (4) 3 times.





4. When Step 3) is completed, the mode changes to the next one automatically. The warning buzzer (located in BCM) sounds by the number of specified for each mode as follows.
^ Changed from A mode to B mode: Buzzer sounds 4 times
^ Changed from B mode to A mode: Buzzer sounds once