Operation CHARM: Car repair manuals for everyone.
Manuals through 2025 now available!

Our trusted friends have launched a new website named LEMON, which has newer manuals. It also contains all the CHARM manuals.

LEMON is the spiritual successor to CHARM, I recommend you try it!

Link: lemon-manuals.la or lemon-manuals.org.ua

(Some people have issue connecting. LEMON is investigating. For now, use Firefox or change your DNS server)

Or, hide this message: temporarily or permanently

Intake Manifold: Service and Repair

Intake Manifold Removal and Installation

CAUTION: Never disassemble intake manifold. Disassembly will spoil its original performance. If faulty condition is found, replace it with new one.

Removal
1. Disconnect negative (-) cable at battery.
2. Drain cooling.
3. Remove electric throttle body assembly.
4. Disconnect the following electric lead wires:
^ IMT connector (1)
5. Disconnect the following hoses:
^ Brake booster hose (2) from intake manifold
^ PCV hose (3) from PCV valve
^ Vacuum hose (4) from EVAP canister purge valve
^ Breather hose from intake manifold
6. Remove harness brackets (5) from intake manifold.





7. Remove intake manifold and O-ring from cylinder head.

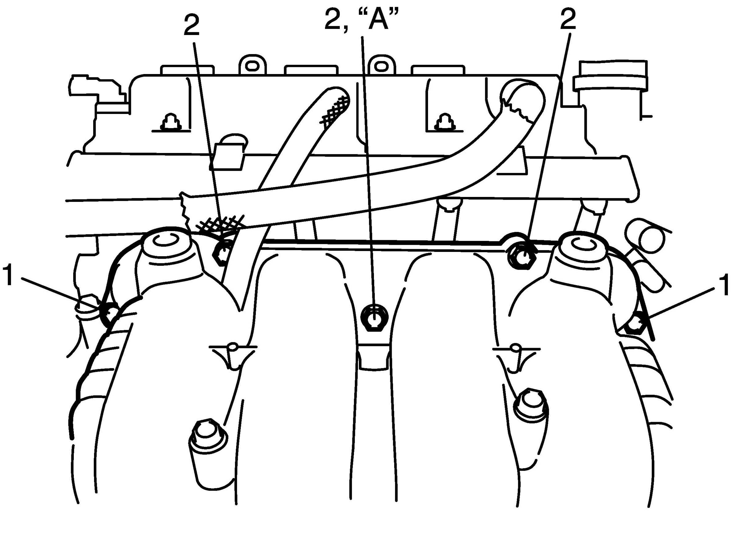
Installation
Reverse removal procedure for installation noting the followings.
^ Use new intake manifold O-ring
^ Install intake manifold bolts (2) and nuts (1) as shown in figure.
Apply thread lock cement to intake manifold bolt.
"A": Thread lock cement 99000-32110 Thread Lock Cement Super 1322





^ Check to ensure that all removed parts are back in place. Reinstall any necessary parts which have not been reinstalled.
^ Refill cooling system.
^ Upon completion of installation, turn ignition switch ON but engine OFF and check for fuel leaks.
^ Finally, start engine and check for engine coolant leaks.