Operation CHARM: Car repair manuals for everyone.
Manuals through 2025 now available!

Our trusted friends have launched a new website named LEMON, which has newer manuals. It also contains all the CHARM manuals.

LEMON is the spiritual successor to CHARM, I recommend you try it!

Link: lemon-manuals.la or lemon-manuals.org.ua

(Some people have issue connecting. LEMON is investigating. For now, use Firefox or change your DNS server)

Or, hide this message: temporarily or permanently

Timing Cover: Service and Repair

Timing Chain Cover Removal and Installation

Removal
1. Remove engine assembly from vehicle.
2. Remove oil pan.
3. Remove cylinder head cover.
4. Remove crankshaft pulley bolt.
To lock crankshaft pulley (1), use special tool (camshaft pulley holder) as shown in figure.
Special Tool (A):09917-68221

NOTE: Be sure to use the following bolts instead of pins in order to fix crankshaft pulley by special tool. Bolt size: M8, P1.25 L = 25 mm (0.98 in.) Strength: 7T








5. Remove crankshaft pulley (1).
To remove crankshaft pulley, use special tools (Steering wheel remover, Bearing puller attachment) with it as shown in figure.
Special Tool
(A):09944-36011
(B):09926-58010





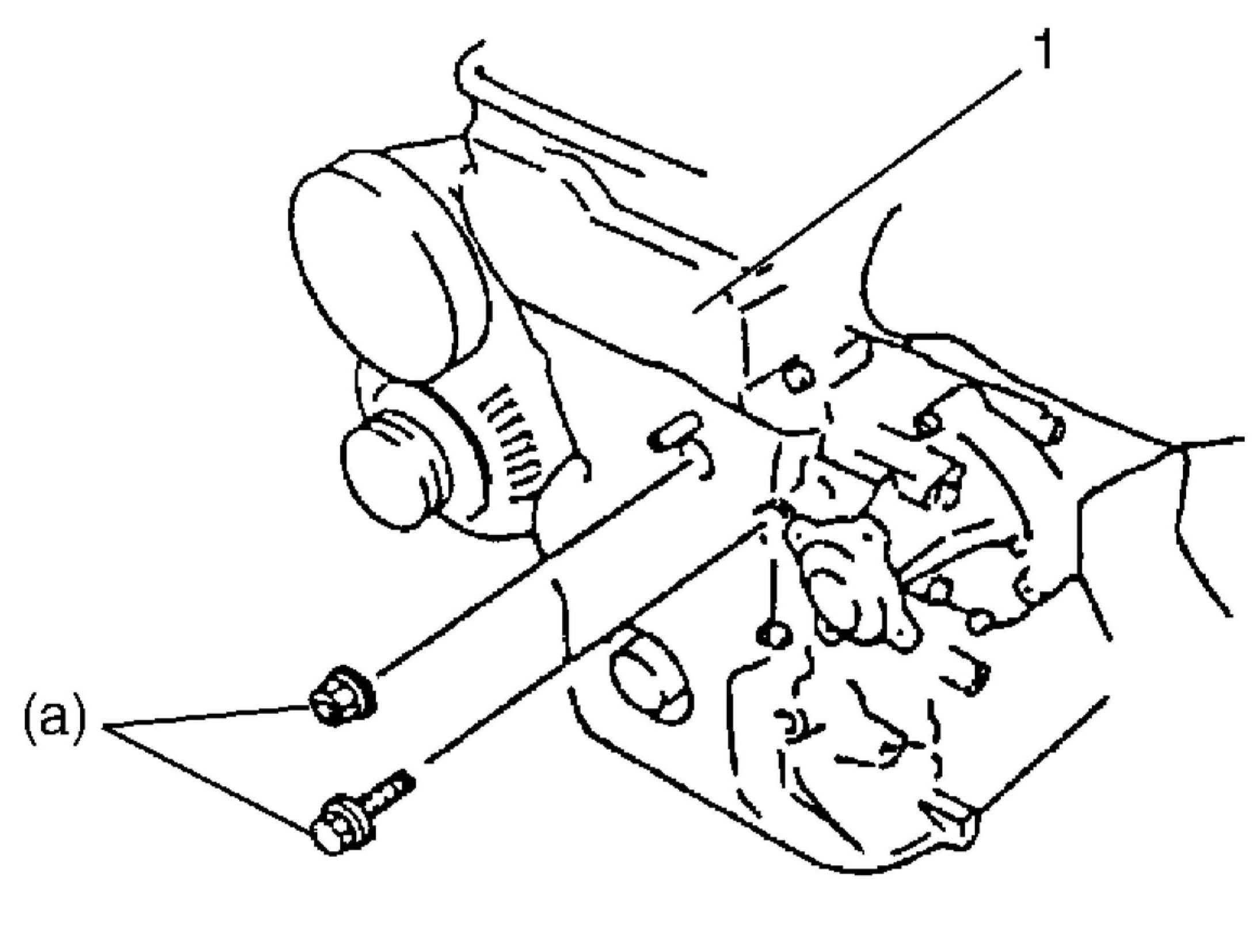
6. Remove idler pulley (1), water pump pulley (2) and belt tensioner (3).





7. Remove timing chain cover bolts (2) and nut (1).
8. Remove timing chain cover (3).





Installation

1. Clean sealing surfaces on timing chain cover, cylinder block and cylinder head. Remove oil, old sealant and dust from sealing surface.
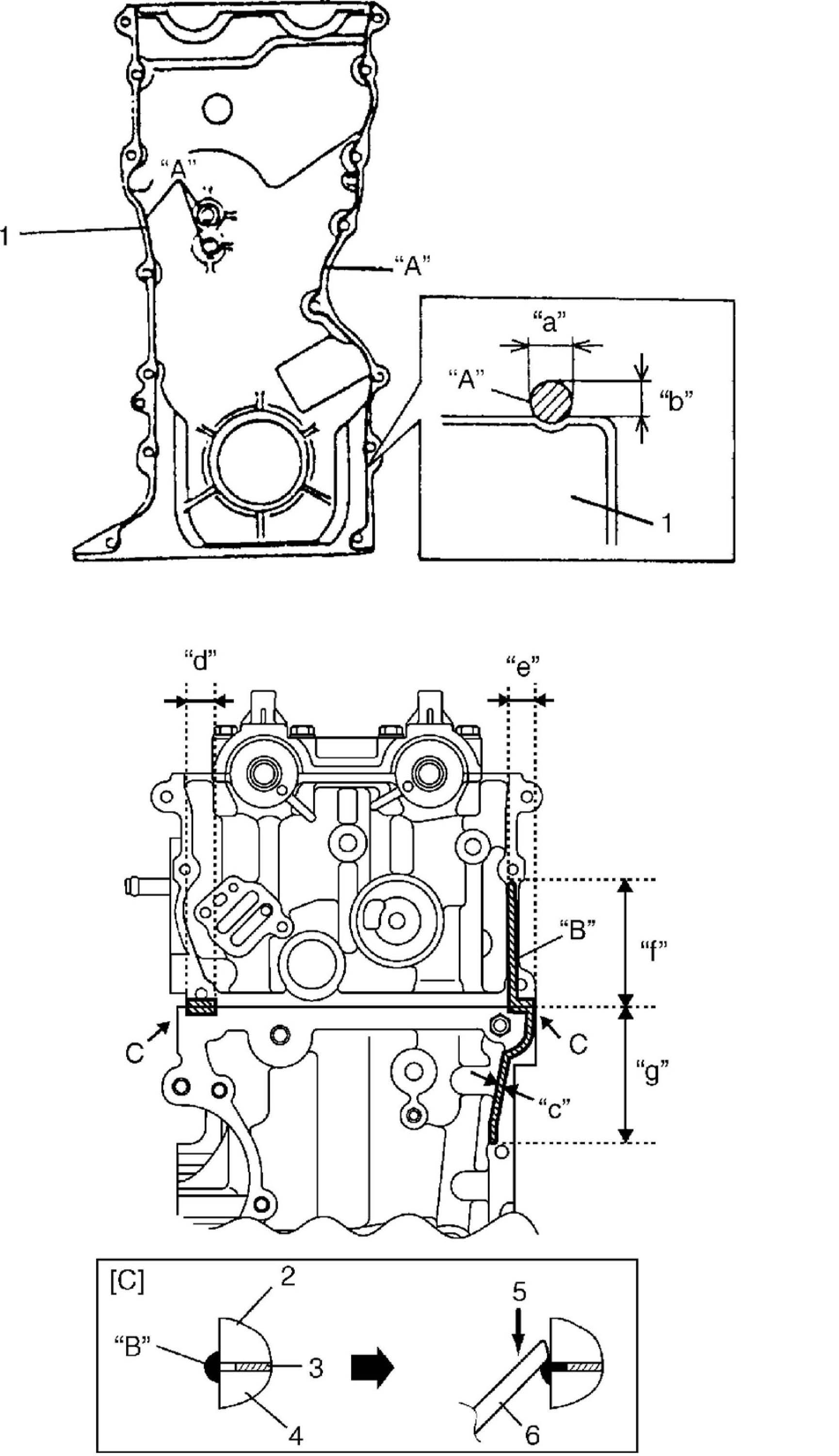
2. Install new oil seal (2) to timing chain cover using special tool, if removed.

NOTE: When installing new oil seal (2), drive it until its surface is flash with edge of timing chain cover (1).

Special Tool (A):09913-75510





3. Apply sealant "A" and "B" to specific area as shown in figure.
"A": Sealant 99000-31260SUZUKI Bond No.1217G
"B": Water tight sealant 99000-31140SUZUKI Bond No.1207B
Sealant amount for timing chain cover
"a": 3 mm (0.12 in.)
"b": 2 mm (0.08 in.)
"c": 4 mm (0.16 in.)
"d" 16 mm (0.63 in.)
"e": 14 mm (0.55 in.)
"f": 65 mm (2.56 in.)
"g": 73 mm (2.87 in.)








4. Apply engine oil to oil seal lip, then install timing chain cover (1). Tighten bolts and nut to specified torque.

NOTE: Before installing timing chain cover, check that pin is securely fitted.

Tightening torque
Timing chain cover bolt and nut a: 11 Nm (1.1 kgf-m, 8.0 ft. lbs.)





5. Install belt idler pulley (1). Tighten nut to specified torque.

Tightening torque
Idler pulley nut a: 42 Nm (4.2 kgf-m, 30.5 ft. lbs.)

6. Install belt tensioner (2). Tighten bolts to specified torque.

Tightening torque
Generator belt tensioner bolt b: 25 Nm (2.5 kgf-m, 18.5 ft. lbs.)

7. Install water pump pulley (3).





8. Install cylinder head cover.
9. Install oil pan.
10. Install crankshaft pulley. To lock crankshaft pulley (1), use special tool (camshaft pulley holder) as shown in figure.
Special Tool (A):09917-68221

NOTE: Be sure to use the following bolts instead of pins in order to fix crank pulley by special tool. Bolt size: M8, P1.25 L = 25 mm (0.98 in.) Strength: 7T

Tightening torque
Crankshaft pulley bolt a: 150 Nm (15.0 kgf-m, 108.5 ft. lbs.)








11. Install engine assembly to vehicle.