Operation CHARM: Car repair manuals for everyone.
Manuals through 2025 now available!

Our trusted friends have launched a new website named LEMON, which has newer manuals. It also contains all the CHARM manuals.

LEMON is the spiritual successor to CHARM, I recommend you try it!

Link: lemon-manuals.la or lemon-manuals.org.ua

(Some people have issue connecting. LEMON is investigating. For now, use Firefox or change your DNS server)

Or, hide this message: temporarily or permanently

Fluid - Transfer Case: Service and Repair

Transfer Oil Change
1. Before changing oil, be sure to stop engine and lift vehicle horizontally.
2. Check leakage.
If leakage exists, correct it.

NOTE: Whenever vehicle is hoisted for any other service work than oil change, also be sure to check for oil leakage.

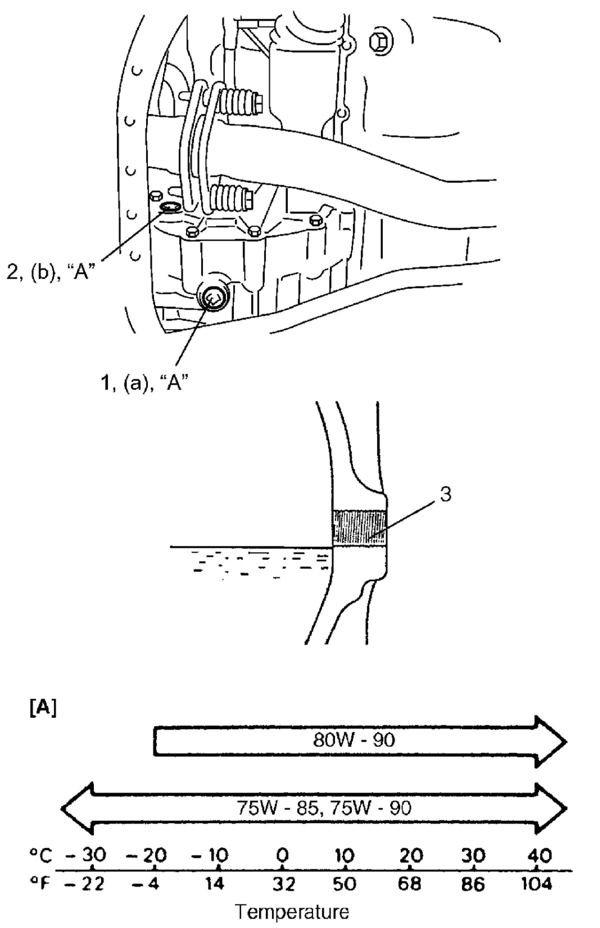
3. Remove oil filler plug (2).
4. Remove drain plug (1), and drain oil.
5. Apply sealant to thread of drain plug (1), and tighten it to specified torque.
"A": Sealant 99000-31260SUZUKI Bond No.1217G
Tightening torque
Transfer oil drain plug a: 23 Nm (2.3 kgf-m, 17.0 ft. lbs.)
6. Pour new specified oil up to lower end of oil level / filler plug hole (3).

NOTE: It is highly recommended to use API GL-5 BOW-90 gear oil.

Transfer oil specification: API GL-5 (For SAE classification, refer to viscosity chart [A] in figure.)
Transfer oil capacity (Reference): 0.6 liters (1.2/1.0 US/Imp.pt)
7. Apply sealant to thread of level / filler plug, and then tighten it to specified torque.
"A": Sealant 99000-31260SUZUKI Bond No.1217G
Tightening torque
Transfer oil level / filler plug b: 23 Nm (2.3 kgf-m, 17.0 ft. lbs.)