Operation CHARM: Car repair manuals for everyone.
Manuals through 2025 now available!

Our trusted friends have launched a new website named LEMON, which has newer manuals. It also contains all the CHARM manuals.

LEMON is the spiritual successor to CHARM, I recommend you try it!

Link: lemon-manuals.la or lemon-manuals.org.ua

(Some people have issue connecting. LEMON is investigating. For now, use Firefox or change your DNS server)

Or, hide this message: temporarily or permanently

Accelerator Pedal Position (APP) Sensor Assembly Inspection

Accelerator Pedal Position (APP) Sensor Assembly Inspection

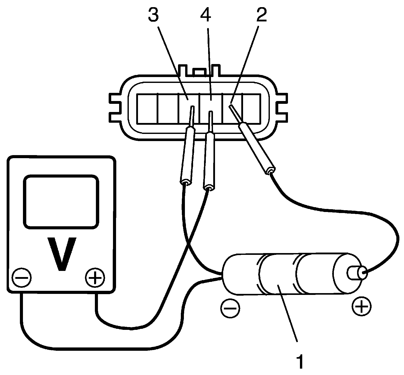
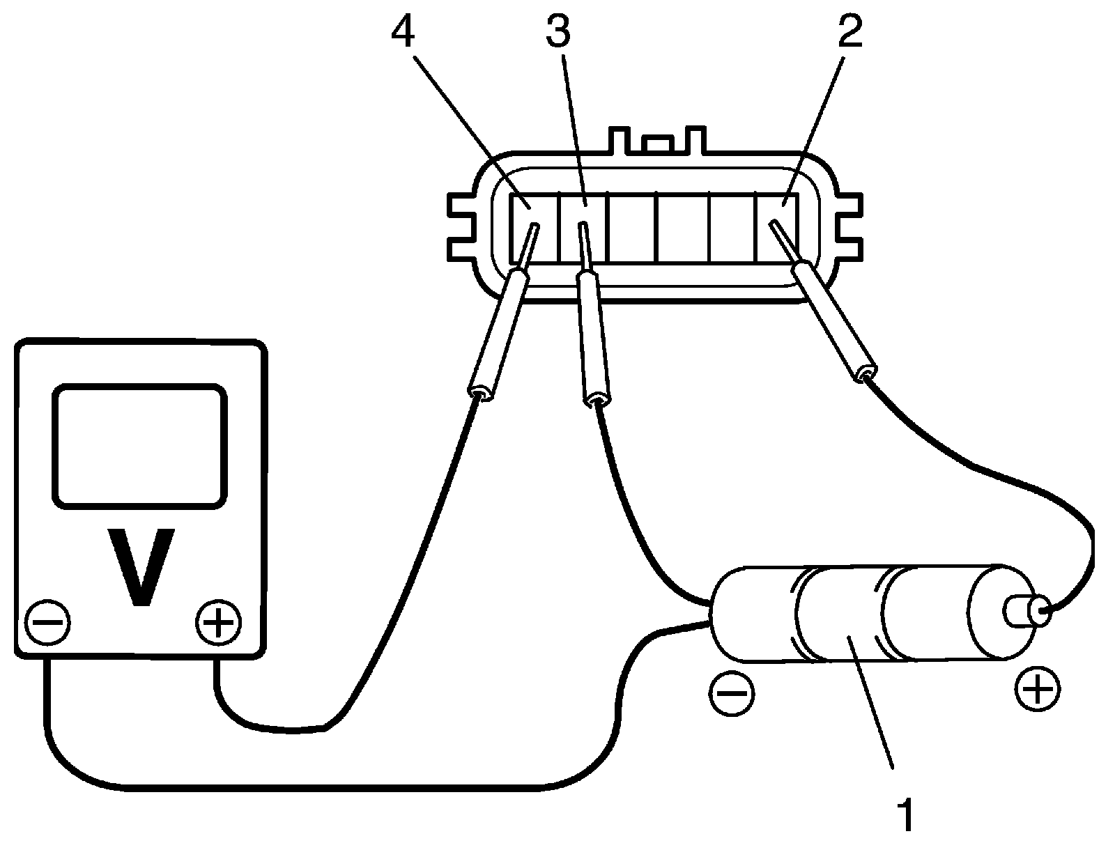
Check APP sensor (main and sub) output voltage as the following steps.




1. For APP sensor (main), arrange 3 new 1.5 V batteries (1) in series (check that total voltage is 4.5 - 5.0 V) and connect its positive terminal to "Vin 1" terminal (2) and negative terminal to "Ground 1" terminal (3) of sensor. Then using voltmeter, connect positive terminal to "Vout 1" terminal (4) of sensor and negative terminal to battery.




2. For APP sensor (sub), arrange 3 new 1.5 V batteries (1) in series (check that total voltage is 4.5 - 5.0 V) and connect its positive terminal to "Vin 2" terminal (2) and negative terminal to "Ground 2" terminal (3) of sensor. Then using voltmeter, connect positive terminal to "Vout 2" terminal (4) of sensor and negative terminal to battery.

3. Measure output voltage variation while accelerator pedal is released and fully depressed as the following specification.

If sensor voltage is out of specified value or does not vary linearly as the given graph, replace APP sensor assembly.

APP sensor output voltage min. variation while accelerator pedal is released to depressed fully




APP sensor (main) [A]: 0.82 - 3.50 V

APP sensor (sub) [B]: 0.44 - 1.74 V