Camshaft Position Sensor: Testing and Inspection
Camshaft Position (CMP) Sensor InspectionReference: Camshaft Position (CMP) Sensor Removal and Installation
Visual Check
^ Check that O-ring is free from damage.
^ Check that end face of sensor and signal rotor tooth are free from any metal particles and damage.
Performance Check
1. Remove metal particles on end face of CMP sensor, if any.
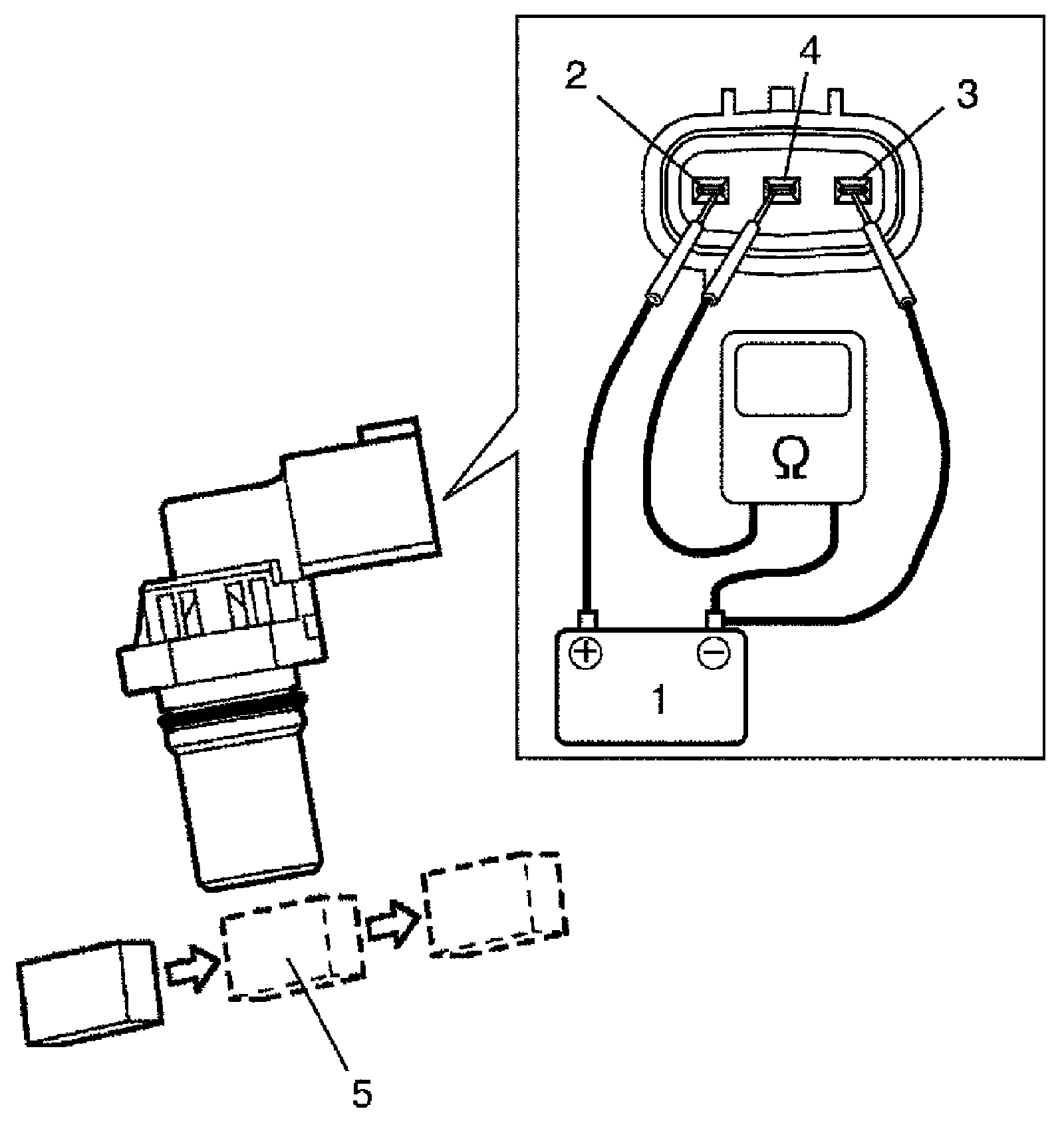
2. Arrange 12 V battery (1) and connect its positive terminal to "Vin" terminal (2) and negative terminal to "Ground" terminal (3) of sensor. Then using ohmmeter, measure resistance between "Vout" terminal (4) of sensor and negative terminal of battery by passing magnetic substance (iron) (5) while keeping approximately 1 mm (0.03 in.) gap with respect to end face of CMP sensor.
If resistance does not vary as specified below, replace CMP sensor.
CMP sensor resistance
Resistance varies from less than 220 ohms (ON) to infinity (OFF) or from infinity (OFF) to less than 220 ohms (ON)