Operation CHARM: Car repair manuals for everyone.
Manuals through 2025 now available!

Our trusted friends have launched a new website named LEMON, which has newer manuals. It also contains all the CHARM manuals.

LEMON is the spiritual successor to CHARM, I recommend you try it!

Link: lemon-manuals.la or lemon-manuals.org.ua

(Some people have issue connecting. LEMON is investigating. For now, use Firefox or change your DNS server)

Or, hide this message: temporarily or permanently

EVAP Leak Check Module Inspection

EVAP Leak Check Module Inspection
Check each component as follows.

NOTE: For operation of EVAP leak check module, refer to EVAP Leak Check System Description.

EVAP Canister Vent Valve Check
Reference: EVAP Canister Removal and Installation

CAUTION: When checking EVAP canister vent valve, do not apply compressed air. Compressed air could damage EVAP leak check module and cause fuel vapor leaks.




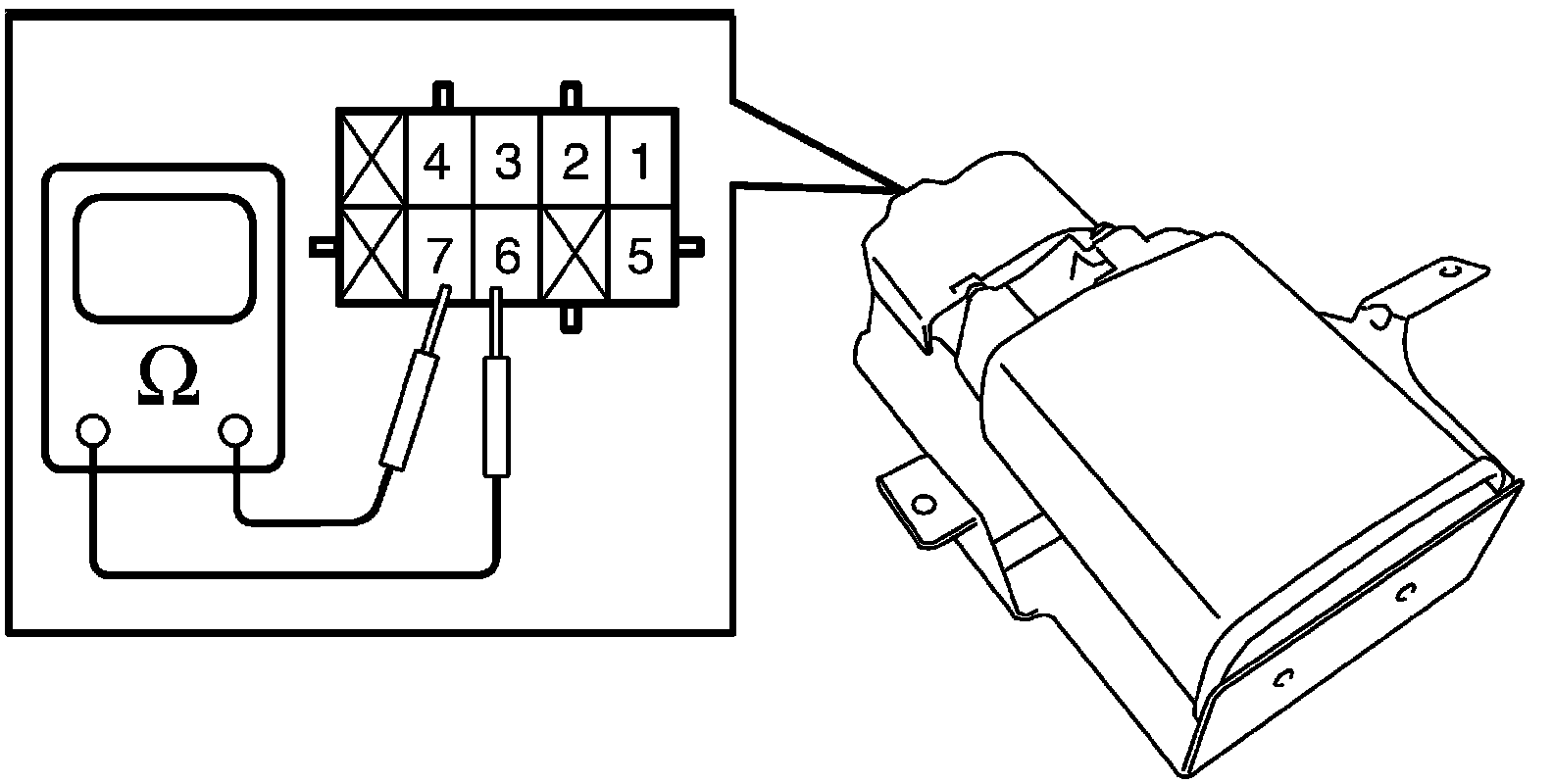
1. Check coil resistance of EVAP canister vent valve between terminal 6 and 7 in EVAP leak check module.
If resistance is as specified, proceed to next step. If not, replace.

Coil resistance of EVAP canister vent valve
25 - 30 Ohms at 20 °C (68 °F)

2. Remove EVAP leak check module (1) from EVAP canister.
3. Blow breath (2) from port (3). Breath should come out of port (4).
If not, replace EVAP leak check module.
4. Connect 12 V-battery to terminal 6 and terminal 7 of EVAP leak check module. In this state, blow breath from port (3).
Breath should not come out of port (4).
If check result is not specified above, replace EVAP leak check module.

WARNING: Do not suck the air through valve. Fuel vapor inside valve is harmful.





CAUTION: Check to make sure that connection is made between correct terminals. Wrong connection can cause damage to EVAP canister vent valve in EVAP leak check module.

EVAP Leak Detection Pump Check

Reference: EVAP Leak Check Module Removal and Installation
1. Check EVAP leak detection pump in EVAP leak check module as follows.
a. Connect spherical pneumatic plastic bag (1) with approximately 12.5 cm (4.92 in.) diameter (volume of a sphere: 1L) to EVAP leak check module using a rubber band (2) as shown in figure.
b. Operate EVAP canister vent valve and EVAP leak detection pump by connecting 12 V-battery to EVAP leak check module terminals as shown in figure.
c. Check that air in the pneumatic plastic bag is fully evacuated by EVAP leak detection pump within approximately 2 minutes.
If check result is not as described above, replace EVAP leak check module.





CAUTION: Check to make sure that connection is made between correct terminals. Wrong connection can cause damage to EVAP canister vent valve and EVAP leak detection pump in EVAP leak check module.

EVAP Leak Check Pressure Sensor (combine with BARO sensor) check

Reference: EVAP Leak Check Module Removal and Installation
Check barometric pressure and reference vacuum pressure as follows.
1. Initial (barometric) pressure check:
a. Arrange 3 new 1.5 V batteries (1) in series and connect its positive terminal to terminal 4 for EVAP leak check pressure sensor of EVAP leak check module and negative terminal "2".
b. Check EVAP leak check pressure sensor output voltage (barometric pressure signal voltage) between terminal "3" and "Ground" terminal.
If output voltage is out of specification, replace EVAP leak check module.
If output voltage is within specified value, go to next step.

CAUTION: Check to make sure that connection is made between correct terminals. Wrong connection can cause damage to EVAP leak check pressure sensor in EVAP leak check module.







EVAP leak check pressure sensor output voltage for initial (barometric) pressure (Terminal "4" voltage 4.5 - 5.5 V, ambient temp. 20 - 30 °C (68 - 86 °F))

2. Reference vacuum pressure (reference orifice vacuum) check:




a. In the state of Step 1), operate EVAP leak detection pump by connecting 12 V-battery to terminal "1" and terminal "5" of EVAP leak check module. Under pump operating, check that pressure sensor output voltage (reference orifice vacuum) becomes lower than pressure sensor output voltage of Step 1) by approx. 0.1 V.
If sensor voltage is out of specification, replace EVAP leak check module.

EVAP Leak Check Module Visual Check

Reference: EVAP Canister Removal and Installation




Check EVAP leak check module and its O-ring (1) for damage and deterioration. If malfunctioning is found, replace.