Operation CHARM: Car repair manuals for everyone.
Manuals through 2025 now available!

Our trusted friends have launched a new website named LEMON, which has newer manuals. It also contains all the CHARM manuals.

LEMON is the spiritual successor to CHARM, I recommend you try it!

Link: lemon-manuals.la or lemon-manuals.org.ua

(Some people have issue connecting. LEMON is investigating. For now, use Firefox or change your DNS server)

Or, hide this message: temporarily or permanently

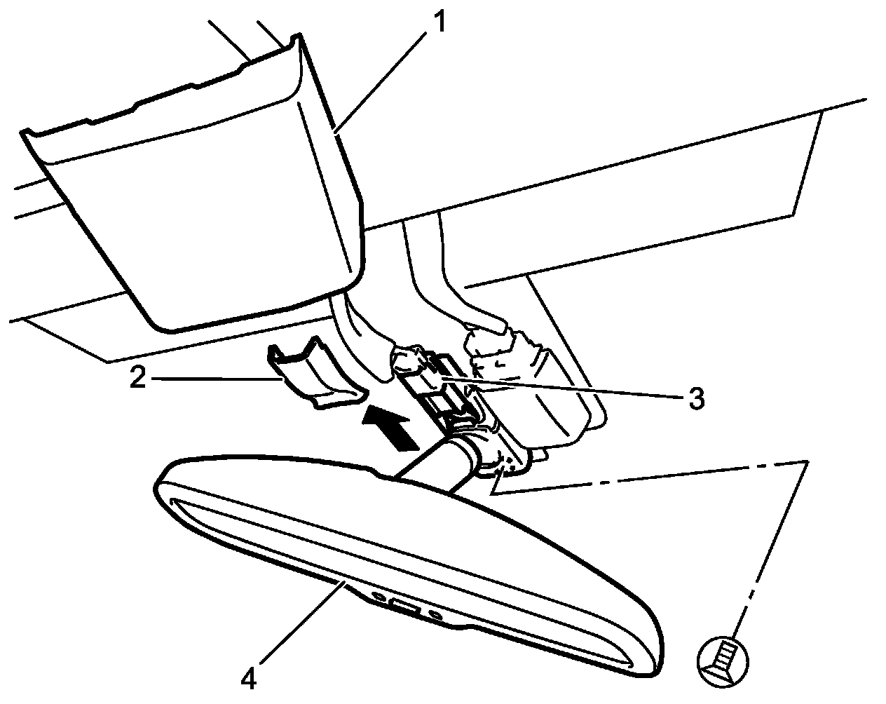
Rear View Mirror Removal and Installation

Rear View Mirror Removal And Installation

Removal (Equipped with Auto Dimming)

CAUTION:
- If strong impact was applied by dropping mirror, replace it with new one.
- Make sure not to disassemble automatic antidazzle rear view mirror.
- Replace mirror part with new one if it is broken.
- Mirror itself or windshield may be damaged if strong force is applied by hanging heavy load as mirror stay has no falling mechanism.
- Do not attach shielding material (sticker, etc.) on sensor.
- Do not spray glass cleaner directly on the mirror. Use a soft towel dampened with water.


1. Remove harness cover (1) and mirror stay cover (2).
2. Disconnect mirror connector (3).
3. Remove screw and slide mirror (4) in arrow direction to remove it.







Removal (Not Equipped with Auto Dimming)

1. Removal screw (1) and slide mirror (2) in arrow direction.







Installation

Reverse removal procedure.