Operation CHARM: Car repair manuals for everyone.
Manuals through 2025 now available!

Our trusted friends have launched a new website named LEMON, which has newer manuals. It also contains all the CHARM manuals.

LEMON is the spiritual successor to CHARM, I recommend you try it!

Link: lemon-manuals.la or lemon-manuals.org.ua

(Some people have issue connecting. LEMON is investigating. For now, use Firefox or change your DNS server)

Or, hide this message: temporarily or permanently

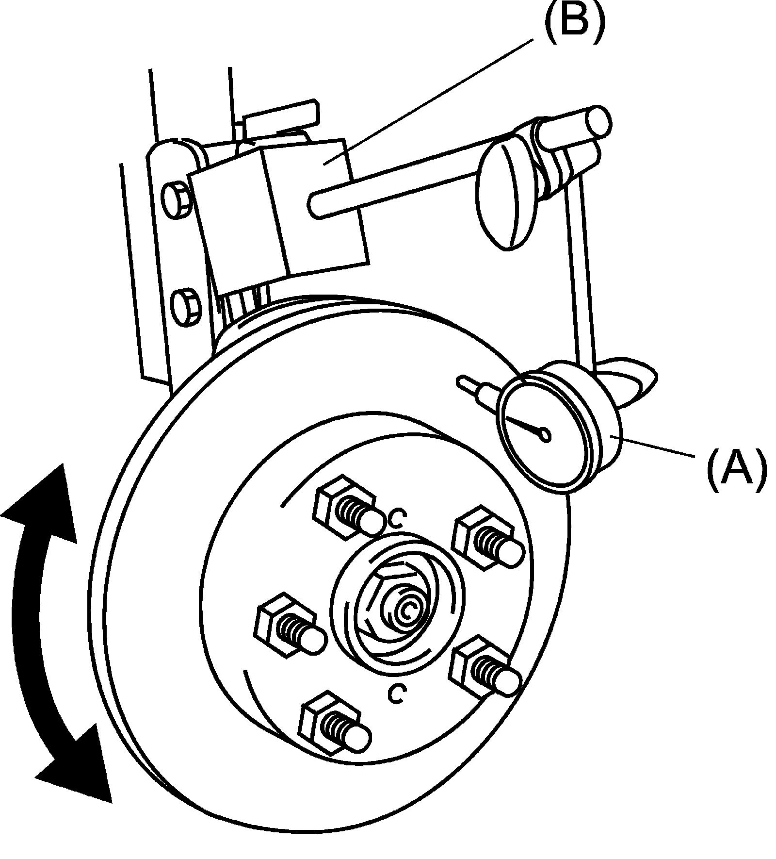
Front Brake Disc Inspection

Front Brake Disc Inspection
Reference: Front Brake Disc Removal and Installation
^ Measure deflection of front brake disc at the point 10 mm inside from its edge using special tools and repair or replace the disc if defective.

Front brake disc deflection
Limit: 0.10 mm (0.004 in.)

Special Tool
(A): 09900-20607
(B): 09900-20701





^ Measure thickness of front brake disc with micrometer. If thickness is less than limit, replace the disc.

Front brake disc thickness "a"
Standard: 26.0 mm (1.02 in.)
Limit: 24.0 mm (0.94 in.)