Operation CHARM: Car repair manuals for everyone.
Manuals through 2025 now available!

Our trusted friends have launched a new website named LEMON, which has newer manuals. It also contains all the CHARM manuals.

LEMON is the spiritual successor to CHARM, I recommend you try it!

Link: lemon-manuals.la or lemon-manuals.org.ua

(Some people have issue connecting. LEMON is investigating. For now, use Firefox or change your DNS server)

Or, hide this message: temporarily or permanently

Refrigerant Pressure Sensor / Switch: Testing and Inspection

A/C Refrigerant Pressure Sensor And Its Circuit Inspection

Using SUZUKI Scan Tool
1. Connect manifold gauge set to charging valves.

Special Tool
: 09990-06020

2. Connect scan tool to DLC and display "Refrigerant Pressure" in "Data list" mode on SUZUKI scan tool.
3. When A/C switch is at OFF, compare pressure [B] of high pressure gauge and pressure [A] displayed on SUZUKI scan tool.
4. Start engine and operate A/C system.
5. Check that the relation between pressure [B] and pressure [A] shows such characteristic as shown.
If check result is not satisfactory, replace A/C refrigerant pressure sensor.






Not Using SUZUKI Scan Tool
1. Connect manifold gauge set to charging valves.

Special Tool
: 09990-06020

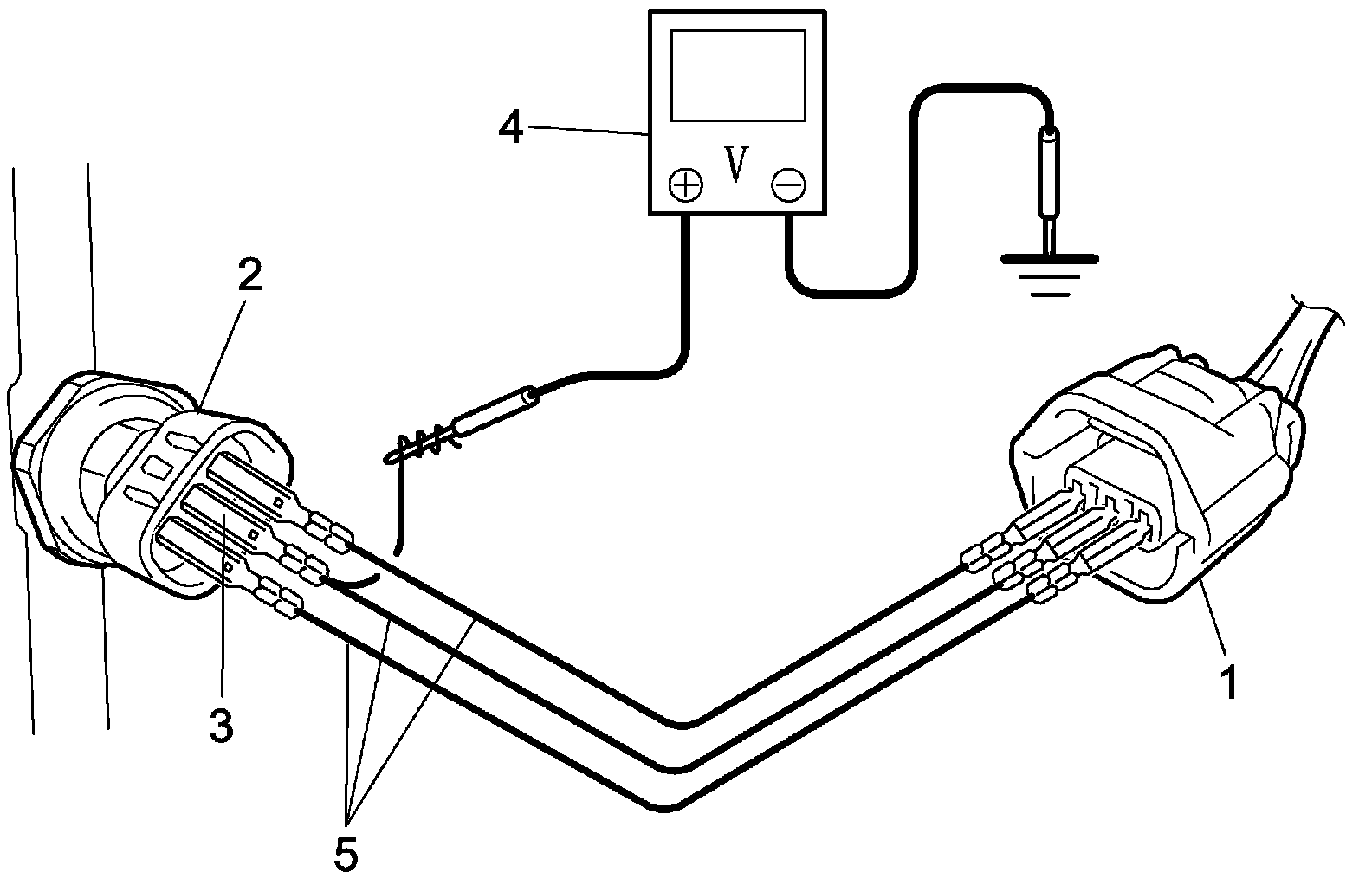
2. Disconnect A/C refrigerant pressure sensor connector (1).
3. Connect terminals of A/C refrigerant pressure sensor (2) and A/C refrigerant pressure sensor connector with service wire (5).
4. Connect voltmeter (4) between terminal "2" (3) of sensor connector and vehicle body.






5. Push engine switch to change ignition mode to "ON".
6. When A/C switch is at OFF, check pressure [B] of high pressure gauge and voltage [A] of A/C refrigerant pressure sensor.
7. Start engine and operate A/C system.
8. Check that the voltage increases as the refrigerant pressure rises as shown.
If check result is not satisfactory, replace A/C refrigerant pressure sensor.