Operation CHARM: Car repair manuals for everyone.
Manuals through 2025 now available!

Our trusted friends have launched a new website named LEMON, which has newer manuals. It also contains all the CHARM manuals.

LEMON is the spiritual successor to CHARM, I recommend you try it!

Link: lemon-manuals.la or lemon-manuals.org.ua

(Some people have issue connecting. LEMON is investigating. For now, use Firefox or change your DNS server)

Or, hide this message: temporarily or permanently

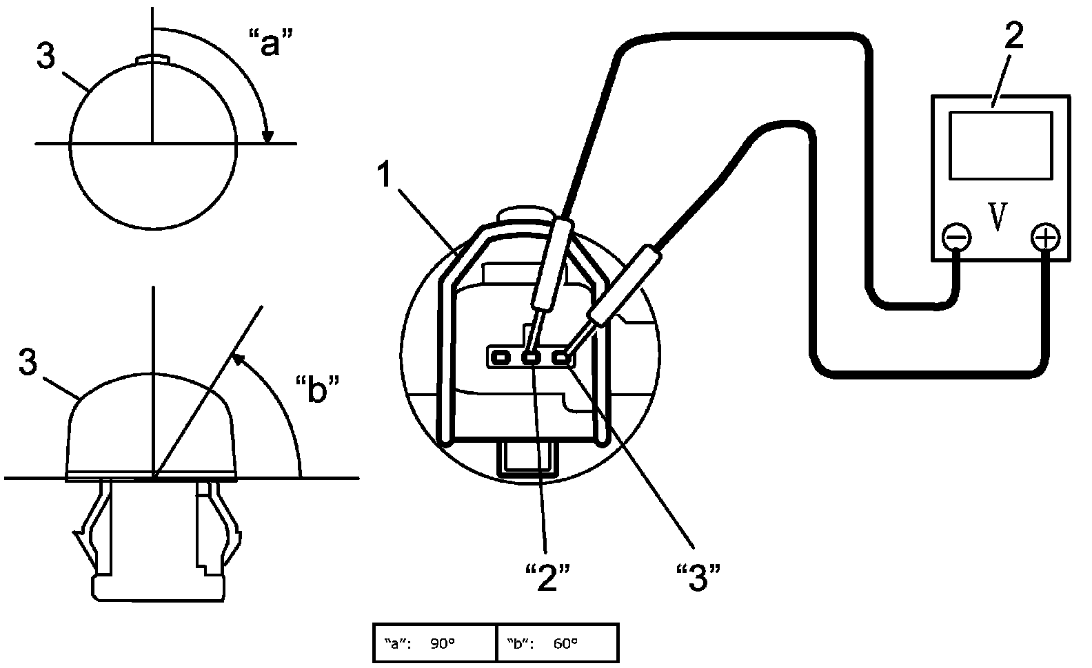
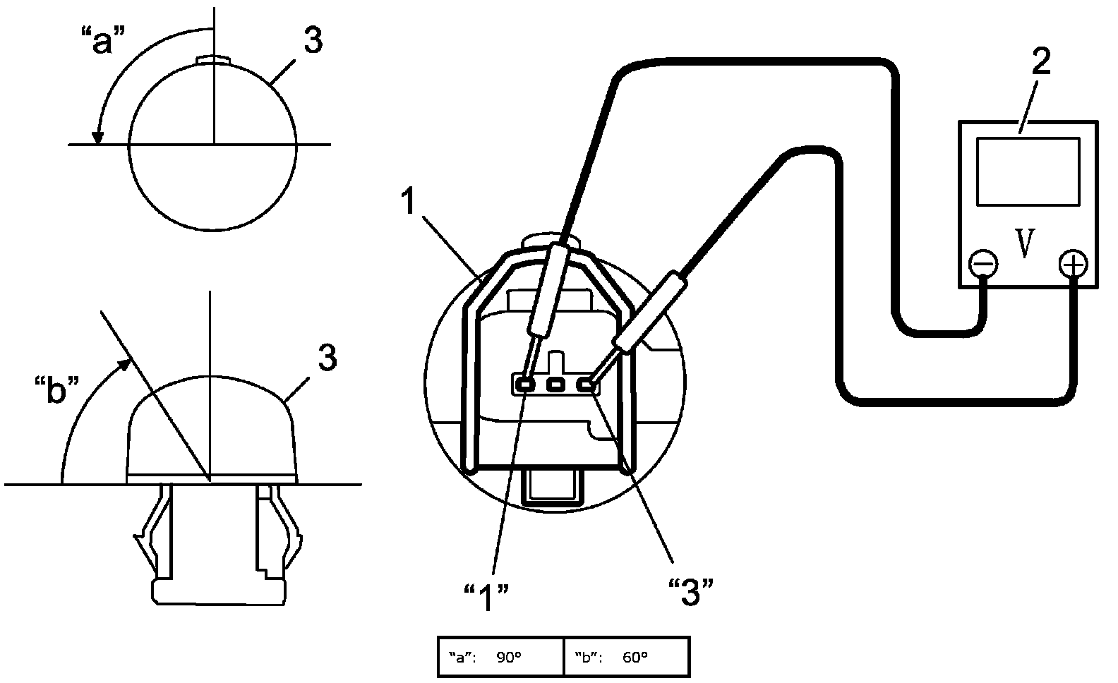
Solar Sensor: Testing and Inspection

Sunload Sensor Inspection

NOTE: Use only incandescent light for inspection.

Driver side
1. Light over the sunload sensor (3) from the 90° left and the 60° up with incandescent light of approximately 100 W.
2. The distance between the sensor and the light should be approximately 100 mm (3.94 in.).
3. Measure the voltage between terminal "1" and terminal "3" of sunload sensor connector (1) by using voltmeter (2).
If check result is not as specified, replace sunload sensor.

Sunload sensor specification
More than 0.3 V






Passenger side
1. Light over the sunload sensor (3) from the 90� right and the 60� up with an incandescent light of approximately 100 W.
2. The distance between the sensor and the light should be approximately 100 mm (3.94 in.).
3. Measure the voltage between terminal "2" and terminal "3" of sunload sensor connector (1) by using voltmeter (2).
If check result is not as specified, replace sunload sensor.

Sunload sensor specification
More than 0.3 V