Operation CHARM: Car repair manuals for everyone.
Manuals through 2025 now available!

Our trusted friends have launched a new website named LEMON, which has newer manuals. It also contains all the CHARM manuals.

LEMON is the spiritual successor to CHARM, I recommend you try it!

Link: lemon-manuals.la or lemon-manuals.org.ua

(Some people have issue connecting. LEMON is investigating. For now, use Firefox or change your DNS server)

Or, hide this message: temporarily or permanently

Brake Lamp: Service and Repair

Rear Combination Light Removal and Installation

Removal
1. Remove trunk side trim.
2. Disconnect rear combination light connector.
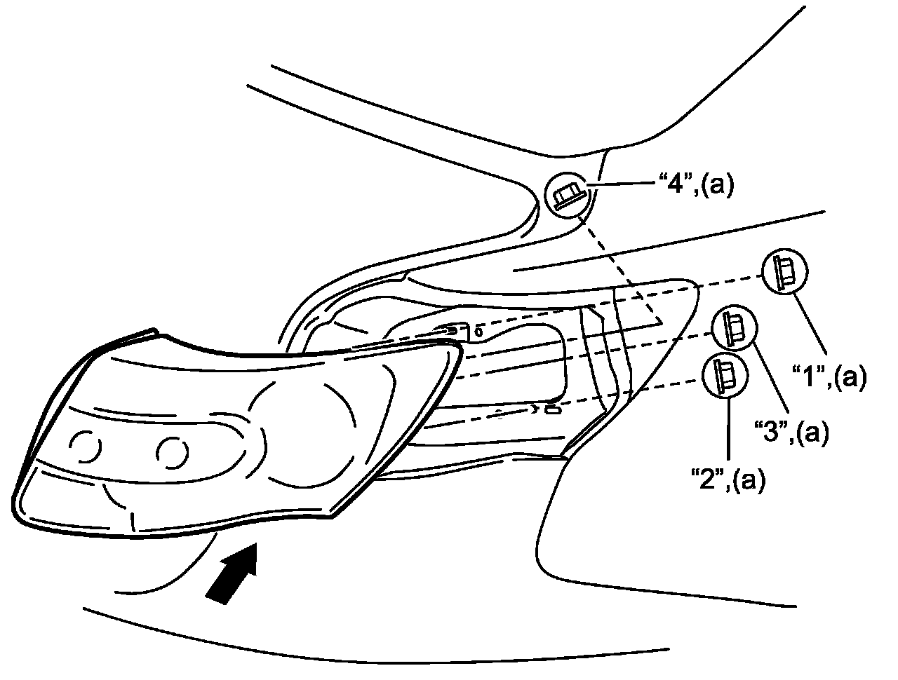
3. Remove rear combination light nut (1).
4. Remove rear combination light (2) by pushing it in the direction of arrow.







5. Remove bulb.

Installation

CAUTION: Replace with new gasket if gasket (1) is deformed or torn, or water leakage may be caused.







Reverse removal procedure noting the following points.
- Install rear combination light by pushing it in direction of arrow.
- Tighten rear combination light nuts in order of "1", "2", "3" and "4" to specified torque.

Tightening torque
Rear combination light nut (a): 4.5 N.m (0.46 kg-m, 3.5 lbf-ft)