Operation CHARM: Car repair manuals for everyone.
Manuals through 2025 now available!

Our trusted friends have launched a new website named LEMON, which has newer manuals. It also contains all the CHARM manuals.

LEMON is the spiritual successor to CHARM, I recommend you try it!

Link: lemon-manuals.la or lemon-manuals.org.ua

(Some people have issue connecting. LEMON is investigating. For now, use Firefox or change your DNS server)

Or, hide this message: temporarily or permanently

Front Suspension

Front Wheel Alignment Description
Among the three front wheel alignment factors, only toe is adjustable. Therefore, if camber or caster is out of specification, it is necessary to determine body or suspension component(s) that should be damaged and repair or replace the damaged component(s).

Preliminary Checks Prior to Adjustment Front Wheel Alignment
Steering and vibration complaints are not always the result of improper wheel alignment. An additional item to be checked is the possibility of tire lead due to worn or improperly manufactured tires. "Lead" is the vehicle deviation from a straight path on a level road without hand pressure on the steering wheel. Refer to Tire Inspection in order to determine if the vehicle has a tire lead problem. Before making any adjustment affecting wheel alignment, the following checks and inspections should be made to ensure correctness of alignment readings and alignment adjustments:
^ Check all tires for proper inflation pressures and approximately the same tread wear.
^ Check for loose of ball joints. Check tie-rod ends; if excessive looseness is noted, it must be corrected before adjusting.
^ Check for run-out of wheels and tires.
^ Check vehicle trim heights; if it is out of limit and a correction is needed, it must be done before adjusting toe.
^ Check for loose of suspension control arms.
^ Check for loose of missing stabilizer bar attachments.
^ Consideration must be given to excess loads, such as tool boxes. If this excess load is normally carried in vehicle, it should remain in vehicle during alignment checks.
^ Consider condition of equipment being used to check alignment and follow manufacturer's instructions.
^ Regardless of equipment used to check alignment, vehicle must be placed on a level surface.

NOTE:
To prevent possible incorrect reading of toe, camber or caster, vehicle front and rear end must be moved up and down a few times before inspection.

Front Wheel Alignment Inspection and Adjustment

Preparation for Inspection and Adjustment
Steering and vibration complaints are not always the result of improper wheel alignment. An additional item to be checked is the possibility of tire lead due to worn or improperly manufactured tires. "Lead" is the vehicle deviation from a straight path on a level road without hand pressure on the steering wheel. Refer to Tire Inspection in order to determine if the vehicle has a tire lead problem. Before inspecting front wheel alignment and making any adjustment affecting wheel alignment, perform the following checks, inspections and repair/replacement to ensure correct measurements and adjustments.
^ Check all tires for proper inflation pressure. Adjust pressure for any improperly inflated tire(s).
^ Check that all tires are of the same type and brand and also they have approximately the same tread wear. Replace all tires with new ones if necessary.
^ Check all wheel bearings for damage. Replace damaged bearing(s) with new one(s).
^ Check wheels and tires for deformation. Repair or replace them if necessary.
^ Check that suspension systems are properly installed and free of damage.
^ Check suspension components for bends, dents, wear or other damage.
^ Place vehicle on level surface in unloaded state.
^ Place steering wheel in straight ahead position.
^ Push vehicle body to bounce vehicle up and down several times to stabilize front suspension.
^ Check that ground clearance on one side is approximately the same as that on the other side.

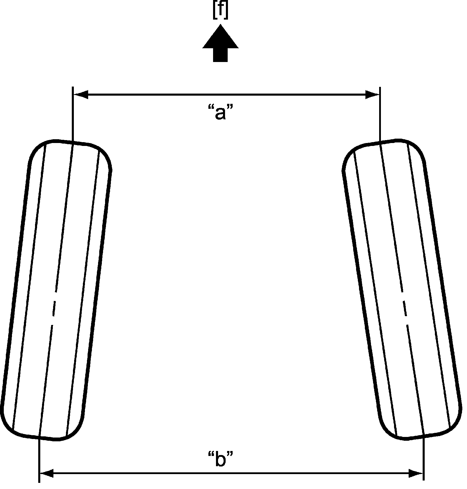
Toe inspection
Measure toe with toe-in gauge (1).
Toe should be within specification.
If toe is out of specification, perform toe adjustment.





Front toe ("b" - "a")
: IN 0 ± 2.0 mm (0 ± 0.08 in.)








Toe adjustment

CAUTION:
^ Never adjust tie-rod on only one side; be sure to adjust tie-rods on both sides by the same amount.
^ Make sure that rack boot is not twisted. Otherwise, rack boot may be broken.


1) Loosen tie-rod end lock nuts (1).
2) Screw in or out right and left tie-rods by the same amount to adjust toe to specification.
3) Check that lengths "a" of both right and left tie-rods are the same. Readjust if there is difference in length "a" between right and left tie-rods.





4) Tighten tie-rod end lock nuts to specified torque after adjustment.

Reference Information

Side slip
When checked with side slip tester, side slip should meet the following specification.

Side slip (when one person is on vehicle)
: IN 2.0 - OUT 2.0 mm/m (0.8 in./3.3 ft)

If side slip is greatly different from specification, front wheel alignment may be incorrect.

Toe angle
When checked with total wheel alignment tester, toe angle should meet the following specification.

Front toe angle
: IN 0° ± 0° 05' (one side)

If toe angle is out of specification, measure toe using toe-in gauge and adjust toe if incorrect.

Camber Caster and Kingpin Inclination Angle Inspection
Check camber, caster and kingpin inclination angle by camber-caster-kingpin gauge (1) and turning radius gauge (2). If any of measurements is out of specification, check the following items for damage, deformation and cracks. If defective is found, repair or replace defective part(s).
^ Front strut assemblies and their components
^ Front suspension arms and bushings
^ Front suspension frame
^ Front wheel hubs, steering knuckles and wheel bearing
^ Body





Front camber "a"
: -0° 30' ± 1°
Front caster "b"
: 4° 10' ± 1°
Front kingpin inclination angle "c"
: 13° 15' ± 2°

NOTE:
Camber, caster and kingpin inclination angle are not adjustable.








Steering Angle Inspection and Adjustment
Whenever tie-rod or tie-rod end is replaced, check and adjust toe and then check steering angle using turning radius gauge. If steering angle measurement is out of specification, check and adjust toe again.

Inside steering angle
: 38° 48' ± 2°
Outside steering angle
: 30° 36' (Reference)