Operation CHARM: Car repair manuals for everyone.
Manuals through 2025 now available!

Our trusted friends have launched a new website named LEMON, which has newer manuals. It also contains all the CHARM manuals.

LEMON is the spiritual successor to CHARM, I recommend you try it!

Link: lemon-manuals.la or lemon-manuals.org.ua

(Some people have issue connecting. LEMON is investigating. For now, use Firefox or change your DNS server)

Or, hide this message: temporarily or permanently

Mass Air Flow (MAF) & Intake Air Temperature (IAT) Sensor Inspection

MAF and IAT Sensor Inspection

CAUTION:
- When servicing MAF and IAT sensor, be sure to observe the following items.
- Do not disassemble MAF and IAT sensor.
- Do not expose MAF and IAT sensor to any shock. If they have been dropped, they should be replaced.
- Do not clean MAF and IAT sensor.
- Do not blow compressed air using air gun or the like.
- Do not put finger or any other object into MAF and IAT sensor.

- Do not heat MAF and IAT sensor higher than 100 °C (212 °F). Otherwise, it will be damaged.


IAT Sensor Inspection
1. Remove MAF and IAT sensor.
2. Check sensor O-ring (1) for damage and deterioration. Replace if necessary.
3. Measure resistance between sensor terminals "1" and "2" while blowing hot air to temperature sensing part (2) of MAF and IAT sensor (3) using hot air drier (4).
If faulty condition is found, replace MAF and IAT sensor.

Intake air temperature sensor resistance
20 °C (-4 °F): 13.6 - 18.4 kOhms
20 °C (68 °F): 2.21 - 2.69 kOhms
60 °C (140 °F): 0.439 - 0.667 kOhms











MAF Sensor Inspection
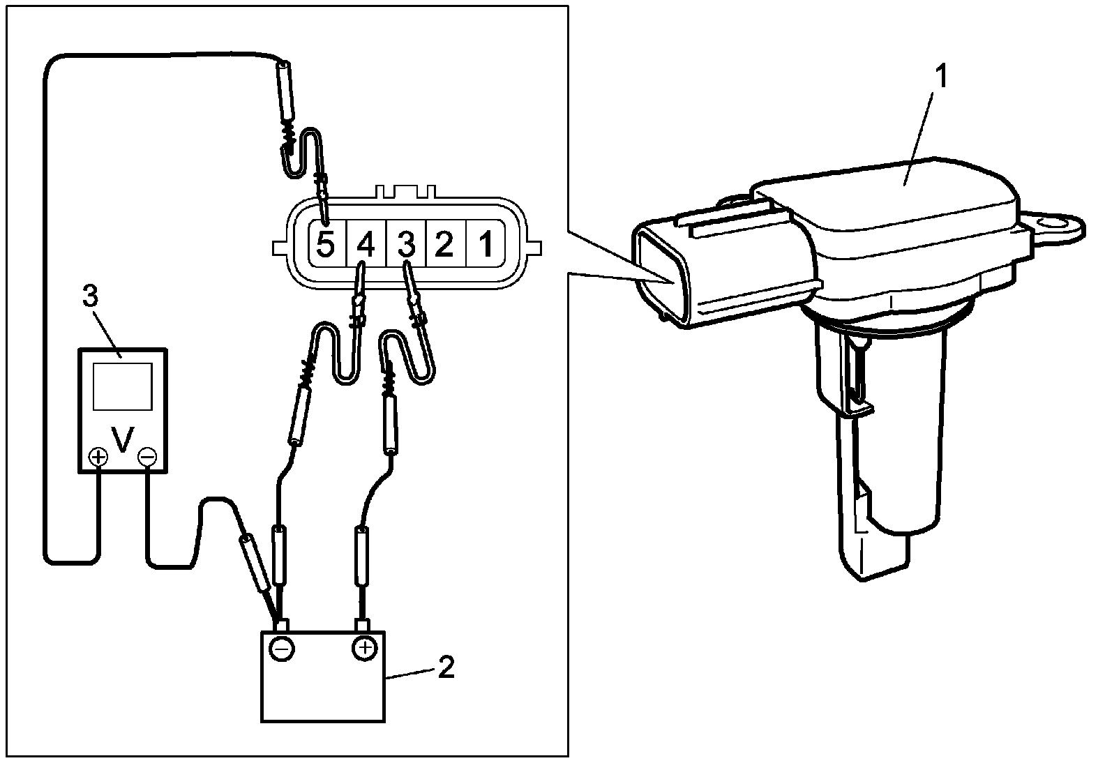
1. Remove MAF and IAT sensor.
2. Connect battery (2) and voltmeter (3) to MAF and IAT sensor (1) as shown in figure.
3. Check that voltage varies depending on amount of blowing air as the following graph.
If faulty condition is found, replace MAF and IAT sensor.