Operation CHARM: Car repair manuals for everyone.
Manuals through 2025 now available!

Our trusted friends have launched a new website named LEMON, which has newer manuals. It also contains all the CHARM manuals.

LEMON is the spiritual successor to CHARM, I recommend you try it!

Link: lemon-manuals.la or lemon-manuals.org.ua

(Some people have issue connecting. LEMON is investigating. For now, use Firefox or change your DNS server)

Or, hide this message: temporarily or permanently

Sub Fuel Level Sensor Removal and Installation

Sub Fuel Level Sensor Removal and Installation (4WD Model)

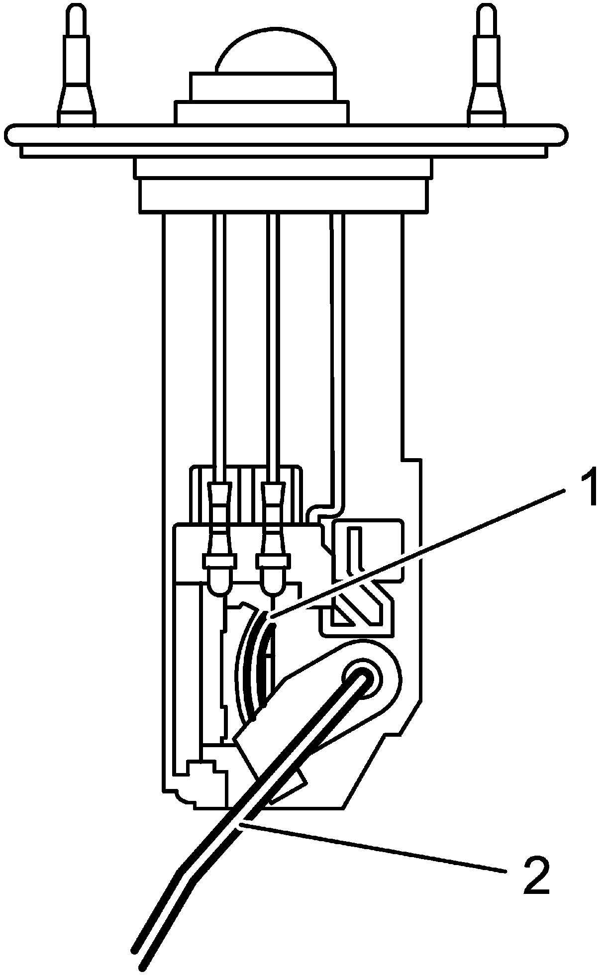
CAUTION: Do not touch resister plate (1) and cause deformation of arm (2). It may cause sub fuel level sensor to fail.






Removal
1. Remove fuel tank from vehicle.
2. Disconnect sub fuel level sensor connector (1).
3. Remove sub fuel level sensor (2) from fuel tank.






Installation
Reverse removal procedure, noting the following points.
- Check that mating surface of sub fuel level sensor is clean.
- Replace gasket with new one.
- Tighten sub fuel level sensor screws to specified torque.

Tightening torque
Sub fuel level sensor screw: 1.6 N.m (0.16 kg-m, 1.5 lbf-ft) ((Reference))

- After tightening screws, check for fuel leaks.