Variable Valve Timing Solenoid: Testing and Inspection
OCV Inspection1. Remove oil control valve.
2. Check OCV as follows.
- Check oil control valve for clog or damage.
If check result is not satisfactory, clean or replace OCV.
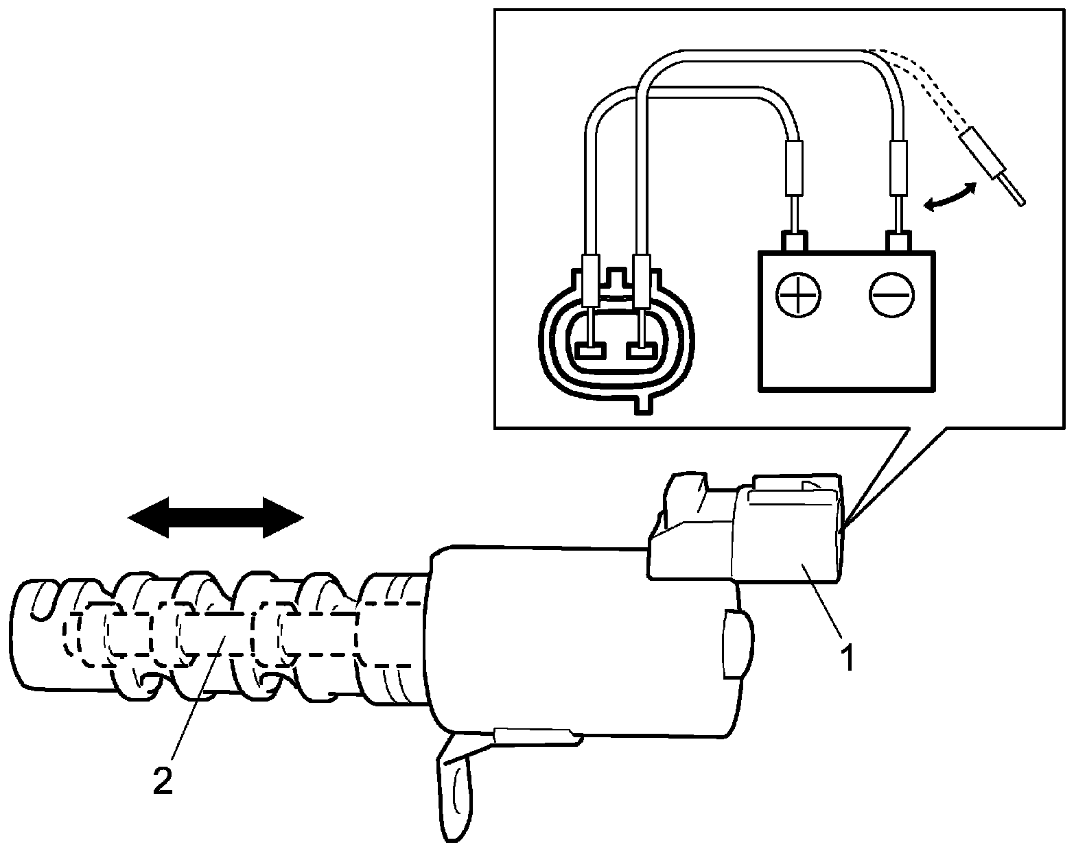
- Check resistance between terminals of oil control valve connector (1).
If faulty condition is found, replace OCV.
Oil control valve resistance
6.7 - 7.7 Ohms at 20 °C (68 °F)
- Connect battery to OCV connector (1) as shown in figure, and check that there is operating sound and that spool valve (2) is properly operating.
If faulty condition is found, replace OCV.