Operation CHARM: Car repair manuals for everyone.
Manuals through 2025 now available!

Our trusted friends have launched a new website named LEMON, which has newer manuals. It also contains all the CHARM manuals.

LEMON is the spiritual successor to CHARM, I recommend you try it!

Link: lemon-manuals.la or lemon-manuals.org.ua

(Some people have issue connecting. LEMON is investigating. For now, use Firefox or change your DNS server)

Or, hide this message: temporarily or permanently

Valve Clearance: Testing and Inspection

Valve Clearance Inspection and Adjustment

Inspection
1) Disconnect negative (-) cable at battery.
2) Remove cylinder head cover.
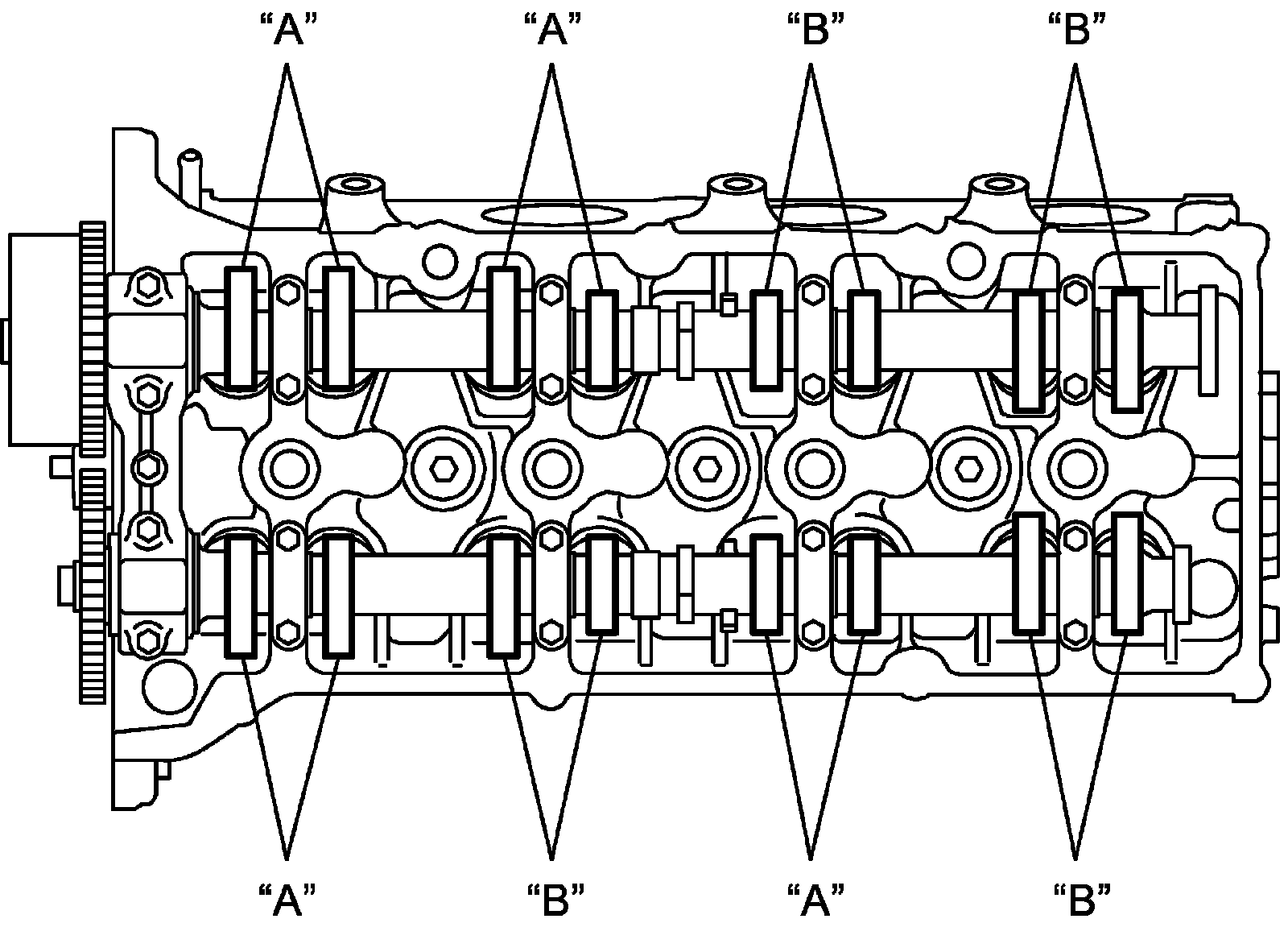
3) Insert socket wrench through service hole (2) of front fender lower lining (1). Turn crankshaft pulley (3) clockwise and align crankshaft pulley notch mark (5) with timing chain cover at 0 degrees (TDC) mark (4). Matchmark camshaft housing No.1 (6) and exhaust camshaft timing sprocket (7) have to be aligned.











4) Measure valve clearances with feeler gauge using the following procedures.
a) Measure valve clearances of "A" valves as indicated in the following figure.
b) Turn crankshaft pulley 360 degrees clockwise.
c) Measure valve clearances of "B" as indicated as valves in the following figure.





If valve clearance is out of specification, record valve clearance and adjust it to specified value.
Valve clearance specification
When cold (ECT: 15 - 25°C (59 - 77°F)):
^ Intake: 0.16 - 0.24 mm (0.0063 - 0.0094 in.)
^ Exhaust: 0.31 - 0.39 mm (0.0122 - 0.0153 in.)

Adjustment
1) Remove tappet to be replaced.
2) Select proper size of tappet as follows.
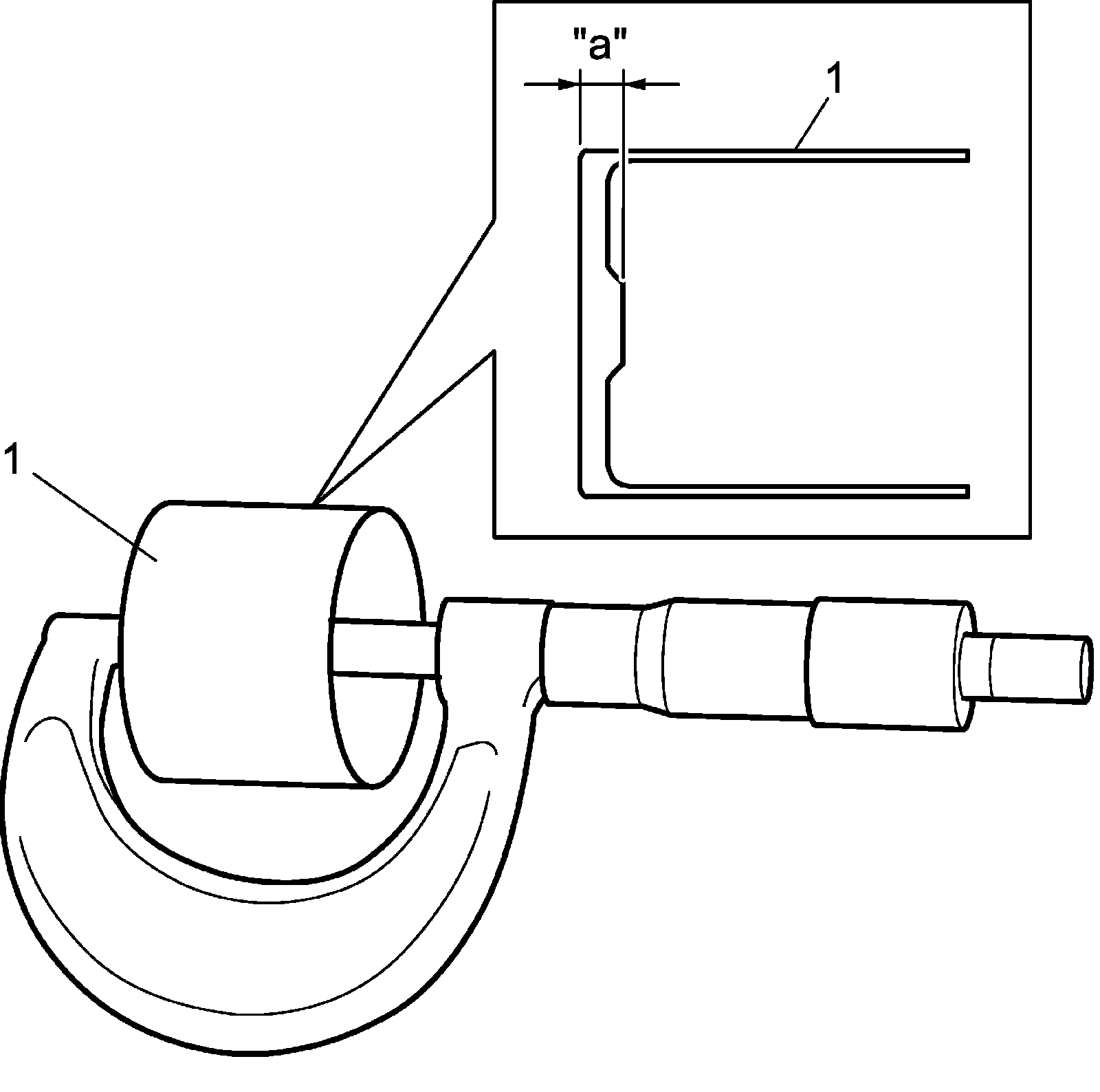
a) Using a micrometer, measure the thickness of the removed tappet (1).
b) Calculate the thickness of new tappet using the following formula.

NOTE:
If the number in the second decimal places is odd, use (A - 0.01) tappet.

Intake side:
A = B + C - 0.20 mm (0.0078 in.)
Exhaust side:
A= B + C - 0.35 mm (0.0137 in.)
A: Thickness "a" of new tappet
B: Thickness "a" of removed tappet
C: Measured valve clearance





c) Select new tappet from available spare parts that is closest in size to the calculated value.
3) Install tappets and camshafts.
4) Recheck valve clearance.