Operation CHARM: Car repair manuals for everyone.
Manuals through 2025 now available!

Our trusted friends have launched a new website named LEMON, which has newer manuals. It also contains all the CHARM manuals.

LEMON is the spiritual successor to CHARM, I recommend you try it!

Link: lemon-manuals.la or lemon-manuals.org.ua

(Some people have issue connecting. LEMON is investigating. For now, use Firefox or change your DNS server)

Or, hide this message: temporarily or permanently

System Specifications

Tightening Torque Specifications

CAUTION:
For fastener with * (asterisk) below, be sure to tighten it according to specified procedure in "Repair Instructions".






Flex plate 70 Nm (7.1 kgf-m, 52 ft lb)

NOTE:
The specified tightening torque is described in the following.
Select Lever Assembly Components
Select Cable Components
CVT Assembly Components
CVT Fluid Cooler Components

Reference:
For the tightening torque of fastener not specified in this section, refer to Fasteners Information.

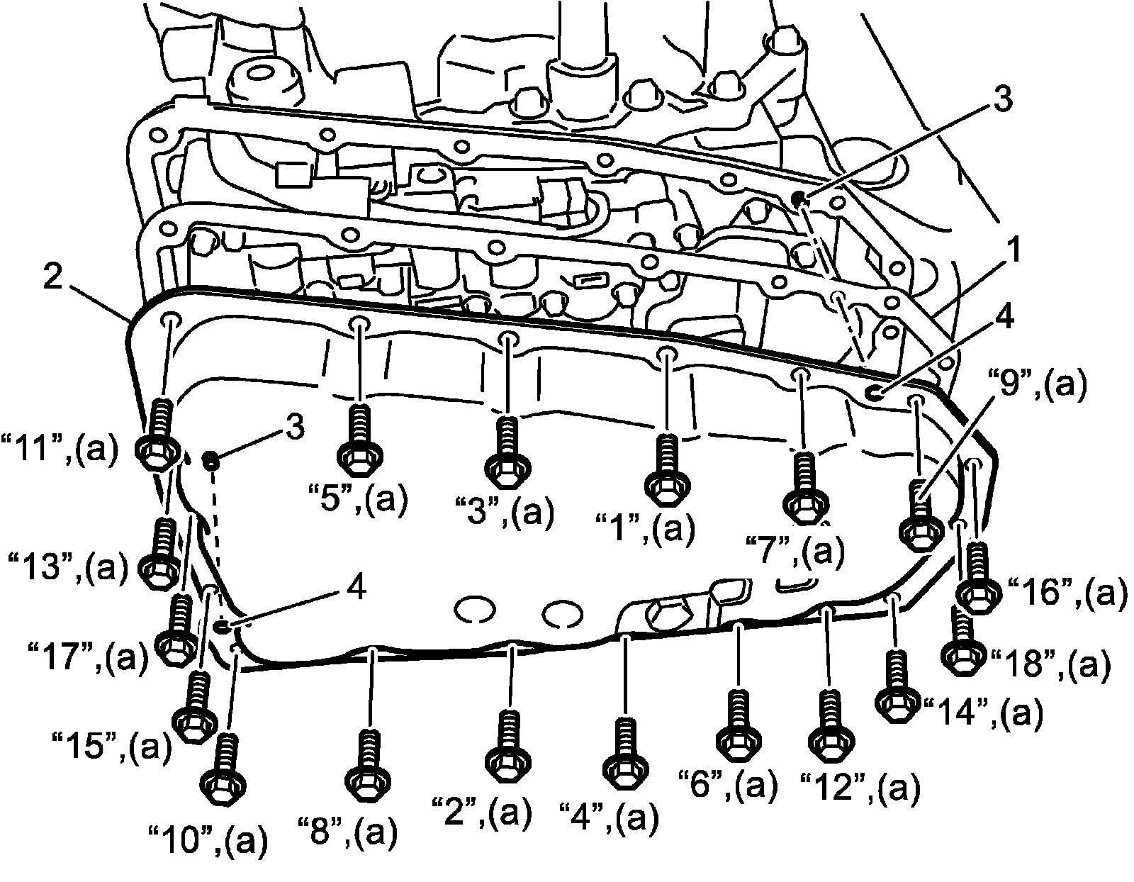
CAUTION:
Be sure to use new oil pan bolts pre-coated with adhesive. Otherwise, bolts may loosen.


Tightening torque
CVT oil pan bolt* (a): 7.9 Nm (0.81 kg-m, 6.0 lbf-ft)