Operation CHARM: Car repair manuals for everyone.
Manuals through 2025 now available!

Our trusted friends have launched a new website named LEMON, which has newer manuals. It also contains all the CHARM manuals.

LEMON is the spiritual successor to CHARM, I recommend you try it!

Link: lemon-manuals.la or lemon-manuals.org.ua

(Some people have issue connecting. LEMON is investigating. For now, use Firefox or change your DNS server)

Or, hide this message: temporarily or permanently

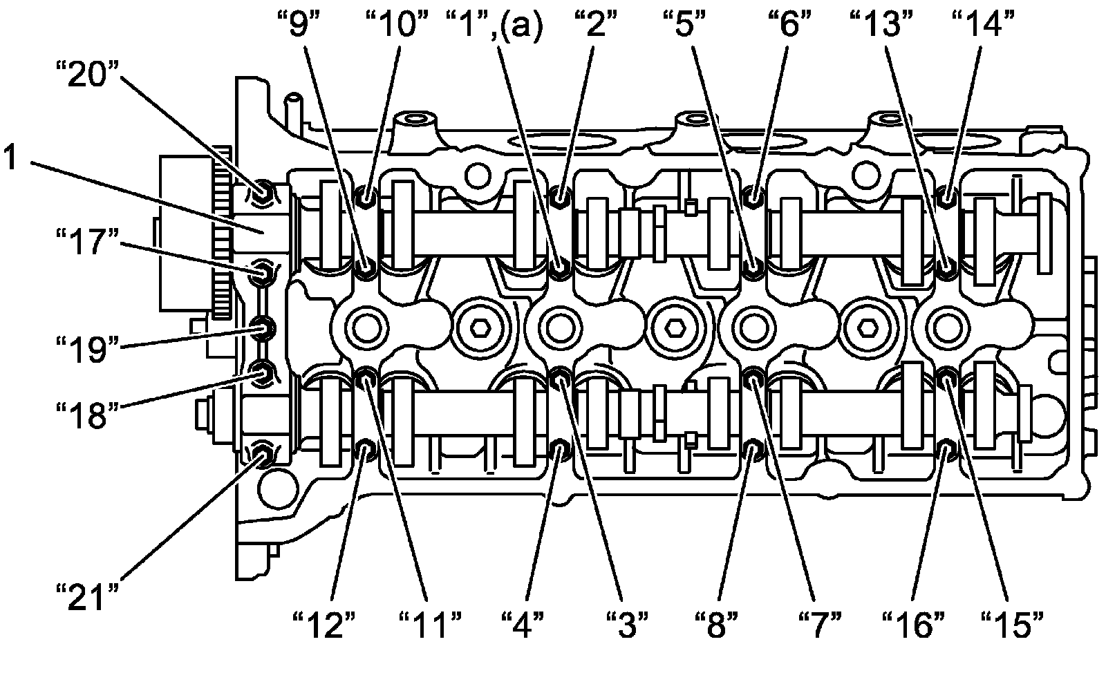
System Specifications

Cylinder head bolt

Cylinder head bolt No.1 diameter measurement points
"a": 95.0 mm (3.74 in.)
"b": 130.0 mm (5.11 in.)

Cylinder head bolt No.1 diameter difference (deformation)
Limit (A - B): 0.25 mm (0.0098 in.)











Replace cylinder head bolt No.1 with new bolt if it exceeds limit





Tighten bolts No.1 20 Nm (2.0 kgf-m, 15.0 lbf-ft)
Retighten to 40 Nm (4.1 kgf-m, 29.5 lbf-ft)
Retighten to 60 degrees
Retighten to 80 degrees
Cylinder head bolt No.2 (b) 25 Nm (2.5 kg-m, 18.5 lbf-ft)

Distortion of mating surface of cylinder head and cylinder head gasket
Limit 0.03 mm (0.0011 in.)

Distortion of seating face of intake manifold and exhaust manifold on cylinder head
Limit 0.05 mm (0.0019 in.)

Camshaft bearing





Camshaft housing bolt 11 Nm (1.1 kg-m, 8.5 lbf-ft)

CMP actuator bolt 60 Nm (6.1 kg-m, 44.5 lbf-ft)
Exhaust camshaft sprocket 60 Nm (6.1 kg-m, 44.5 lbf-ft)

Exhaust manifold





Exhaust manifold bolt (a) 50 Nm (5.1 kg-m, 37.0 lbf-ft)
Exhaust manifold nut (b) 50 Nm (5.1 kg-m, 37.0 lbf-ft)