Operation CHARM: Car repair manuals for everyone.
Manuals through 2025 now available!

Our trusted friends have launched a new website named LEMON, which has newer manuals. It also contains all the CHARM manuals.

LEMON is the spiritual successor to CHARM, I recommend you try it!

Link: lemon-manuals.la or lemon-manuals.org.ua

(Some people have issue connecting. LEMON is investigating. For now, use Firefox or change your DNS server)

Or, hide this message: temporarily or permanently

Generator Inspection

Generator Inspection

Rotor
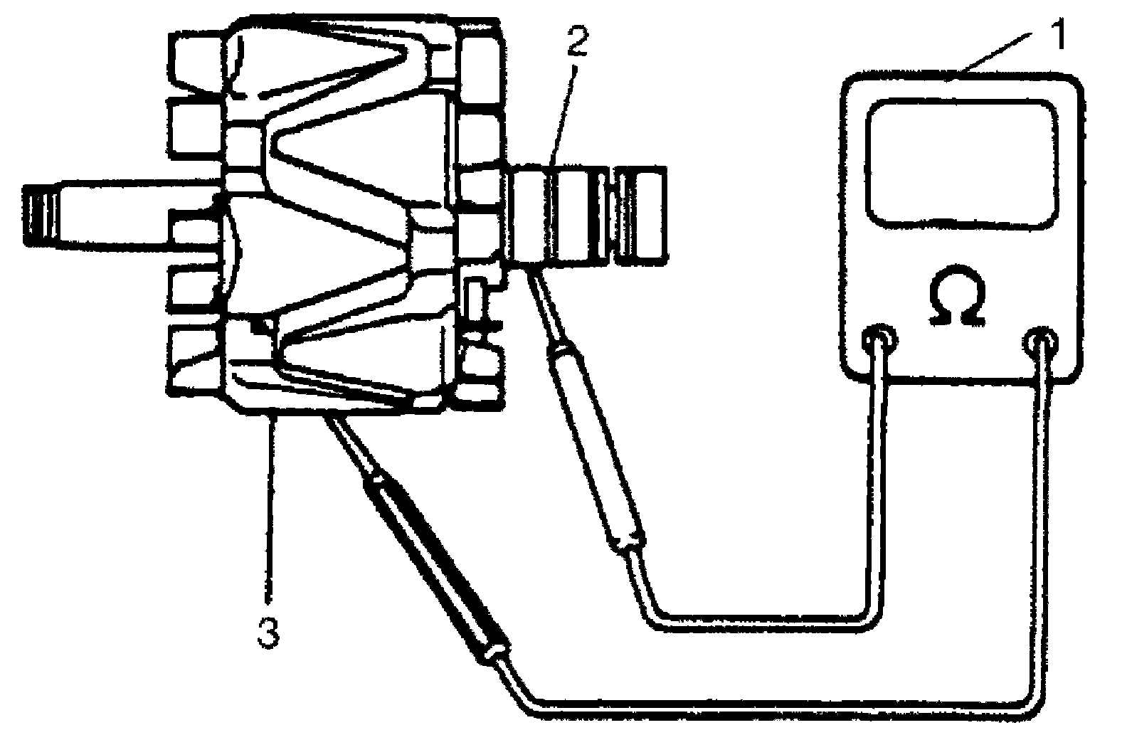
1. Using ohmmeter (1), check for continuity between slip rings (2) of rotor. If there is no continuity, replace rotor.

Standard resistance between slip rings of rotor
1.7 - 2.1 Ohms






2. Using ohmmeter (1), check that there is no continuity between slip ring (2) and rotor core (3). If there is continuity, replace rotor.






3. Check slip rings and rotor fan surface for roughness or scoring. If roughness or scoring is discovered, replace rotor.

Bearing
Check bearing for smooth rotation.
If any abnormality is found, replace bearing.

Stator and Rectifier
1. Using ohmmeter (1), check continuity between all pairs of leads (2) and (3). If there is no continuity, replace stator.






2. Using ohmmeter (1), check continuity between the following terminals.
- "B" terminal (2) and each coil lead (4)
- Ground (3) and each coil lead (4).

Switch the positive (+) side prove and negative (-) side and measure to check continuity in both polarity directions.
If there is continuity in only one polarity direction, stator coil is normal.
If there is no continuity with either polarity or there is continuity with both polarities, replace stator.






Brush and Brush Holder
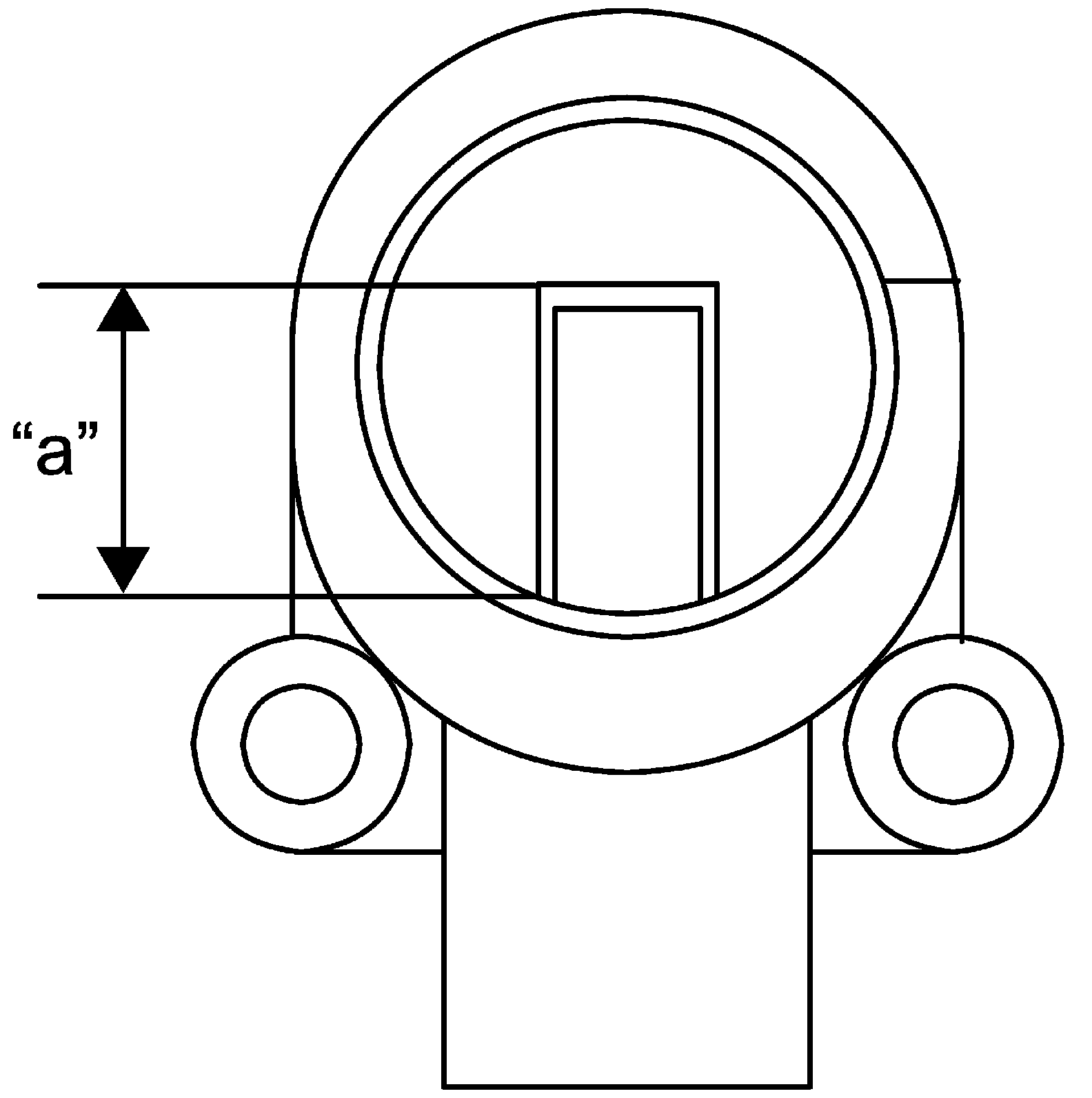
Check each brush for wear by measuring them as shown in figure.
Replace brushes, if they are shorter than the limit.

Exposed brush length "a"
Standard: 10.5 mm (0.413 in.)
Limit: 1.5 mm (0.059 in.)






Pulley
- Check pulley for wear, damage or other abnormal conditions. Replace pulley if necessary.
- Check pulley according to the following procedure.
a. Hold center of pulley.
b. Check that pulley locks up when turned in clockwise [b] and rotates smoothly in counterclockwise [a].
If any faulty condition is found, replace pulley.