Operation CHARM: Car repair manuals for everyone.
Manuals through 2025 now available!

Our trusted friends have launched a new website named LEMON, which has newer manuals. It also contains all the CHARM manuals.

LEMON is the spiritual successor to CHARM, I recommend you try it!

Link: lemon-manuals.la or lemon-manuals.org.ua

(Some people have issue connecting. LEMON is investigating. For now, use Firefox or change your DNS server)

Or, hide this message: temporarily or permanently

Inspection of P/S Control Module and Its Circuits

Inspection of P/S Control Module and Its Circuits
P/S control module (1) and its circuits can be checked at P/S control module wiring connectors (2) by measuring voltage and resistance.

CAUTION:
^ P/S control module cannot be checked by itself. It is strictly prohibited to connect tester to the P/S control module with connectors disconnected from the P/S control module.
^ Make sure to observe instructions for checking electrical system.









Voltage and Signal Check
1) Remove following parts.
^ Instrument panel undercover, center console box, side sill inner front scuff and dash side trim.
2) Turn over floor carpet on passenger's side.
3) Remove P/S control module cover.
4) Connect connector to P/S control module and measure voltage at each terminal.

NOTE:
^ As each terminal voltage is affected by battery voltage, confirm if battery voltage is 11 V or more.
^ For "Ignition mode" described in the following table, it means power supply mode in keyless push start system. For more details of ignition mode, refer to Description of Keyless Engine Start Function.
^ *1: Turn steering wheel fully after stopping and hold it with force applied.

E10 connector





E11 connector





"P/S control module (rotation angle sensor/torque sensor)" connector





"P/S control module (P/S motor (1P))" connector





"P/S control module (P/S motor (2P))" connector





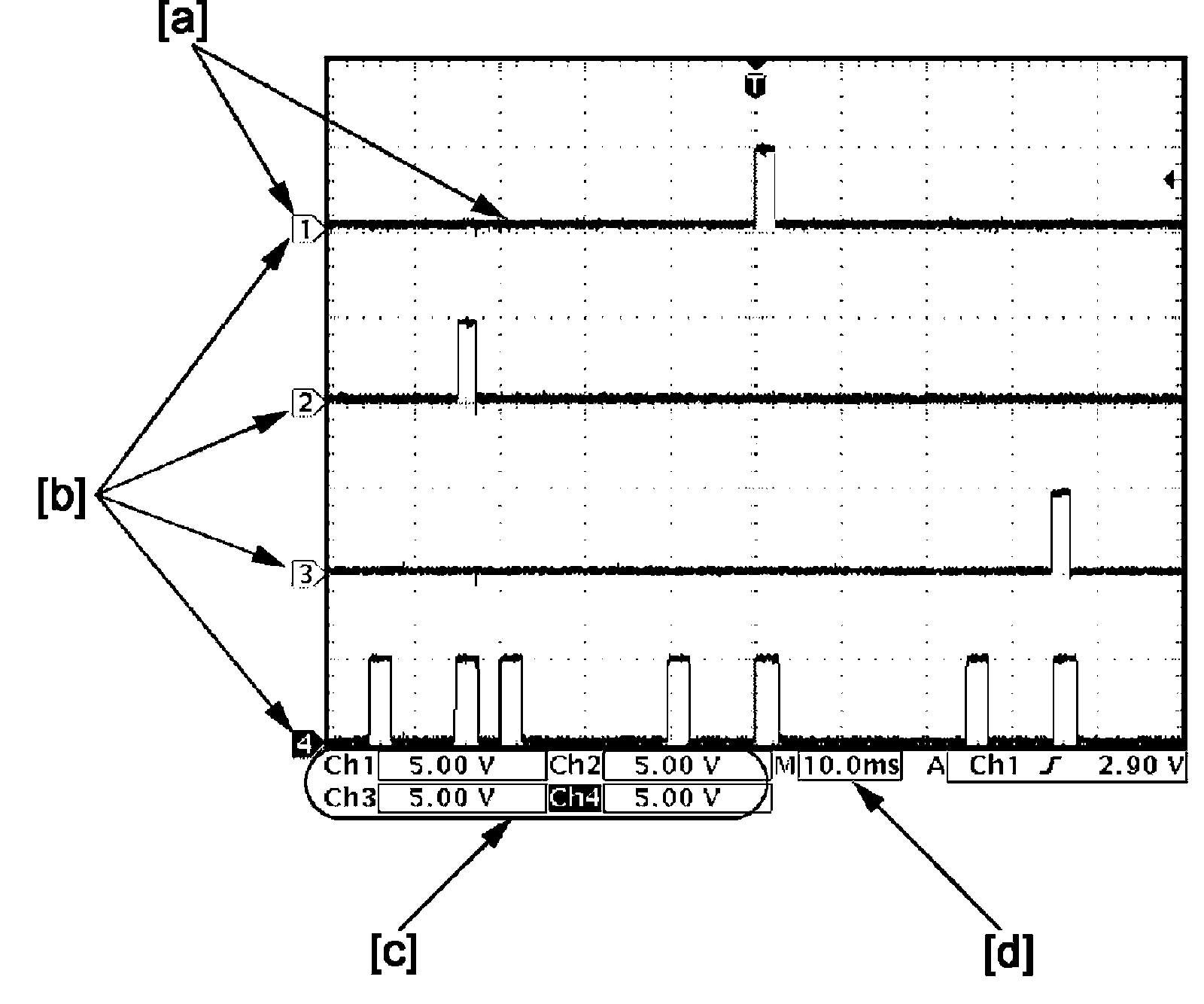
Reference Waveform

Oscilloscope display
Shown below is typical waveform display provided by oscilloscope.

NOTE:
^ Display includes the following types of data:








^ Waveforms may vary with measurement conditions and vehicle specifications.

CAN communication signal





Measurement condition
^ Ignition mode: ON








Rotation angle sensor sine wave signal





Measurement condition
^ Ignition mode: ON








Rotation angle sensor cosine wave signal





Measurement condition
^ Ignition mode: ON








Rotation angle sensor exciter signal





Measurement condition
^ Ignition mode: ON








P/S motor signal





Measurement condition
^ With engine idling after warming up, turn steering wheel from straight-ahead position to both directions.