Operation CHARM: Car repair manuals for everyone.
Manuals through 2025 now available!

Our trusted friends have launched a new website named LEMON, which has newer manuals. It also contains all the CHARM manuals.

LEMON is the spiritual successor to CHARM, I recommend you try it!

Link: lemon-manuals.la or lemon-manuals.org.ua

(Some people have issue connecting. LEMON is investigating. For now, use Firefox or change your DNS server)

Or, hide this message: temporarily or permanently

Shift Cable: Adjustments

Select Cable Adjustment
Reference: Select Cable Removal and Installation

1) Apply parking brake and block wheels.
2) Push engine switch to change ignition mode to "ON", shift select lever to "N" range.
3) Remove air cleaner assembly.
4) Remove console box.
5) Remove adjuster case (cable end) from select lever pin of select lever assembly.
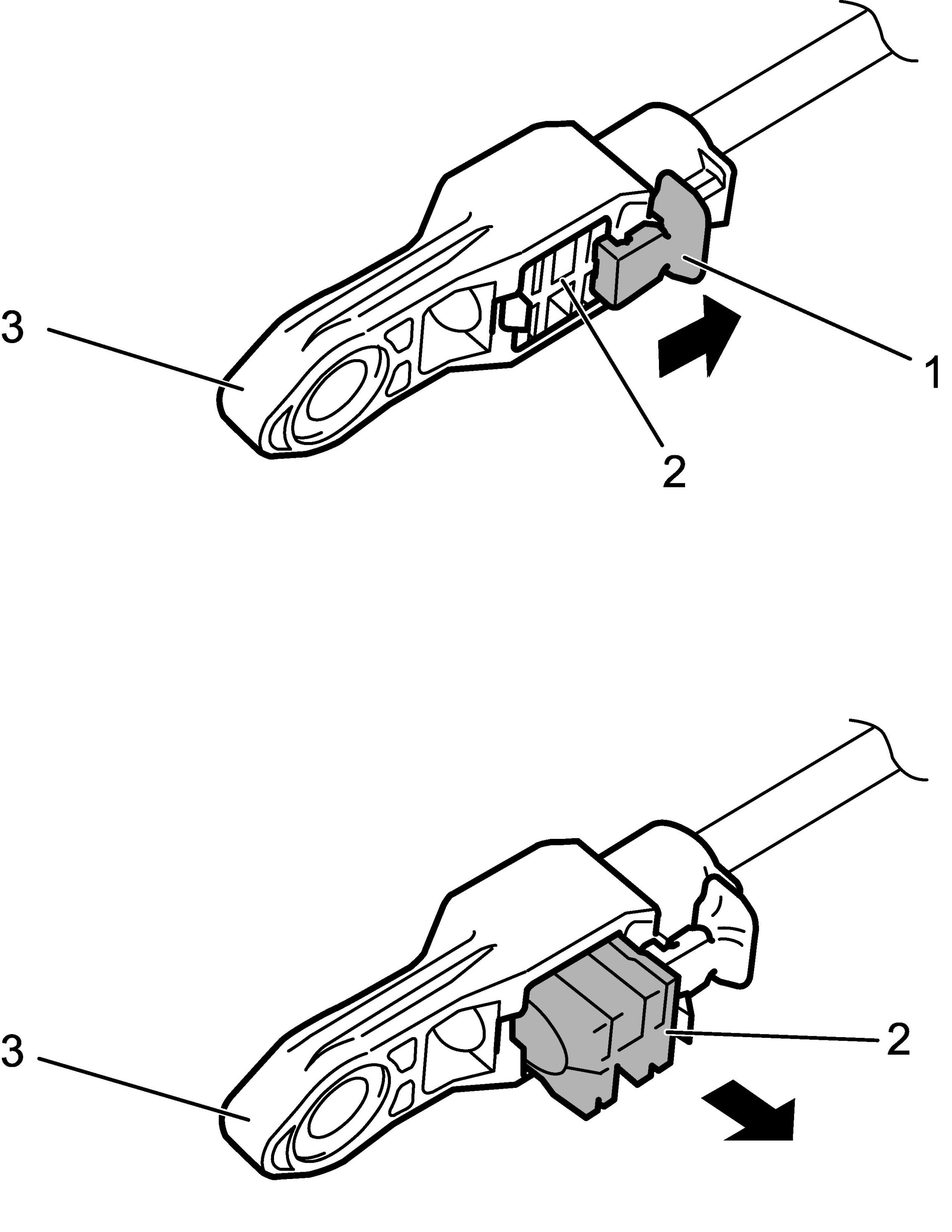
6) Release lock plate (1) which restricts moving of lock piece (2).
7) Pull out lock piece (2) from adjuster case (3) using pliers or the like to disengage cable.





8) Check that manual select lever is "N" range, referring to Step 4) of Transmission Range Sensor Inspection. Testing and Inspection
9) Apply grease to select lever pin (1), and then install adjuster case (2) into select lever pin securely.

"A": Grease 99000-25011 (SUZUKI Super Grease A)

10) Push lock piece (3) in arrow direction [a] as shown in figure.
11) Slide lock plate (4) in arrow direction [b] as shown in figure, until it gets over the claw (5).





12) After installing select cable, check the following points.
^ Perform "P" Range Test.
^ Check back-up light is turned on when shifting select lever to "R" range.
^ Check shift position indicated in information display is consistent with select lever range.
^ Check engine starts at "P" and "N" ranges but does not start at other than "P" and "N" ranges.
13) Install air cleaner assembly.