Operation CHARM: Car repair manuals for everyone.
Manuals through 2025 now available!

Our trusted friends have launched a new website named LEMON, which has newer manuals. It also contains all the CHARM manuals.

LEMON is the spiritual successor to CHARM, I recommend you try it!

Link: lemon-manuals.la or lemon-manuals.org.ua

(Some people have issue connecting. LEMON is investigating. For now, use Firefox or change your DNS server)

Or, hide this message: temporarily or permanently

Transfer Output Retainer Assembly Disassembly and Reassembly

Transfer Output Retainer Assembly Disassembly and Reassembly
Reference: Transfer Dismounting and Remounting
Reference: Transfer Assembly Components

Disassembly
1) Remove transfer output retainer bolts (1) and transfer output retainer assembly (2) and shim (3).





2) Remove O-ring from transfer output retainer.
3) Use special tool to remove transfer output flange nut while holding flange (1).

Special Tool
(A): 09930-40113





4) Use special tool to remove transfer output flange (1).

Special Tool
(A): 09913-65135





5) Remove bevel pinion from transfer output retainer by tapping it with plastic hammer.
6) Remove spacer (1) from bevel pinion (2).





7) Remove front taper roller bearing (3) from bevel pinion (4) by using bearing puller (1) and hydraulic press (2).





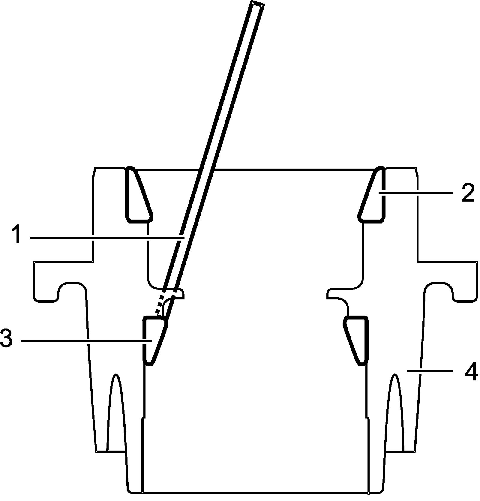
8) Remove oil seal from transfer output retainer.
9) Remove rear taper roller bearing (1) from transfer output retainer (2).





10) Remove outer races (front (2) and rear (3)) by using brass bar (1).








Reassembly

CAUTION:
^ Bevel gear and pinion must be replaced as a set when replacement of either one becomes necessary.
^ When replacing taper roller bearing, replace it as inner race and outer race assembly.


1) Press-fit outer races (front and rear) by using special tools and hydraulic press.

Special Tool
(A): 09913-75520
(B): 09913-75510








2) Select transfer output retainer shim using the following procedures:
a) Apply gear oil "A" to taper roller bearing (front (1) and rear (2)).
b) Install taper roller bearing (front and rear) and special tools (pinion dummy) to transfer output retainer (3).

NOTE:
Special tools (A) - (D) are included in differential adjuster set (09922-76110).

Special Tool
(A): 09922-76140
(B): 09922-76150
(C): 09922-76340
(D): 09922-76420





c) Tighten bevel pinion nut (special tool) so that specified bearing preload is obtained.

NOTE:
Before preload measurement with torque wrench, rotate special tool more than 15 revolutions by hand.

Rotational torque of bevel pinion (Bearing preload)
0.5 - 1.3 Nm (0.05 - 0.13 kgf-m, 0 - 1.0 lbf-ft) (rotational speed about 50 rpm)








d) Calculate thickness of shim "f" with calculating formula.
"f" = "c" + "d" - "e"
^ "c" = "a" - "b"
- "a": height from transfer output retainer installation surface (1) to pinion dummy top (mm (in.))
- "b": pinion dummy height (40 mm (1.5748 in.))
^ "d": mounting distance of bevel pinion (2) (70.00 mm (2.7559 in.))
^ "e": distance between transfer output retainer installation surface (3) and bevel gear center line (4) (100.95 mm (3.9744 in.))

Special Tool
(A): 09922-76140





e) Select a shim closest to the calculated value (necessary shim thickness) from among the available shims or combine shims to become closest to calculated value.

Available transfer output retainer shim thickness








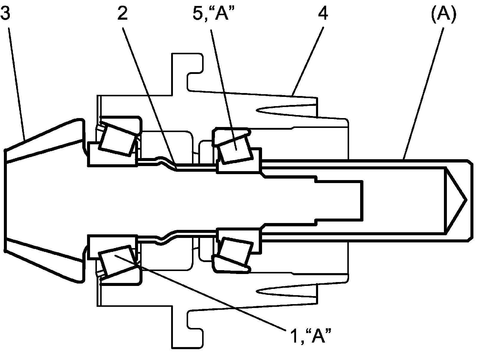
3) Press-fit front taper roller bearing (2) to bevel pinion (3) by using special tool and hydraulic press (1).

Special Tool
(A): 09913-84510





4) Apply gear oil "A" to front taper roller bearing (1).
5) Install bevel pinion (3) with new spacer (2) to transfer output retainer (4).

CAUTION:
Be sure to use new spacer.


6) Apply gear oil "A" to rear taper roller bearing (5).
7) Install rear taper roller bearing to bevel pinion by using special tool tapping lightly with plastic hammer.

Special Tool
(A): 09913-84510





8) Apply grease to new oil seal (1) lip.

"A": Grease 99000-25011 (SUZUKI Super Grease A)

9) Install oil seal in transfer output retainer (2) by using special tool and hammer.

Special Tool
(A): 09913-85210

Transfer output flange oil seal installing depth
"g": 23.0 - 24.0 mm (0.90 - 0.94 in.)





10) Install transfer output flange (1) by tapping with plastic hammer and tighten new transfer output flange nut gradually so as rotational torque of bevel pinion to be in specified value.

CAUTION:
^ Before preload measurement with torque wrench, rotate special tool more than 15 revolutions by hand.
^ If rotational torque of bevel pinion exceeds specification given in the following, replace spacer and flange nut.


Bevel pinion bearing preload
: 0.5 - 1.3 Nm (0.05 - 0.13 kgf-m, 0 - 1.0 lbf-ft) (rotational speed about 50 rpm)

Tightening torque
Transfer output flange nut: 100 - 300 Nm (10.2 - 30.6 kg-m, 74.0 - 221.5 lbf-ft)

Special Tool
(A): 09930-40113











11) Apply grease to new O-ring (1), and install it to transfer output retainer (2).

"A": Grease 99000-25011 (SUZUKI Super Grease A)