Operation CHARM: Car repair manuals for everyone.
Manuals through 2025 now available!

Our trusted friends have launched a new website named LEMON, which has newer manuals. It also contains all the CHARM manuals.

LEMON is the spiritual successor to CHARM, I recommend you try it!

Link: lemon-manuals.la or lemon-manuals.org.ua

(Some people have issue connecting. LEMON is investigating. For now, use Firefox or change your DNS server)

Or, hide this message: temporarily or permanently

Inspection of Power Window Master Switch and Its Circuit

Inspection Of Power Window Master Switch And Its Circuit

Voltage and Signal Check

1. Remove door trim and power window master switch.
2. Connect connector to power window master switch and push engine switch to change ignition mode of keyless start system to "ON" or start engine.
3. Check terminal voltages and waveforms using voltmeter and oscilloscope.

NOTE:
- Confirm that battery voltage is 11 V or more.
- An "ignition mode" in the following table represents a power supply mode available with the keyless start system. For more details, refer to Description of Keyless Engine Start Function.
- Outputs from terminals marked with asterisk (*) cannot be measured with voltmeter because they are pulse signals. Use oscilloscope function of SUZUKI scan tool for measuring these outputs.










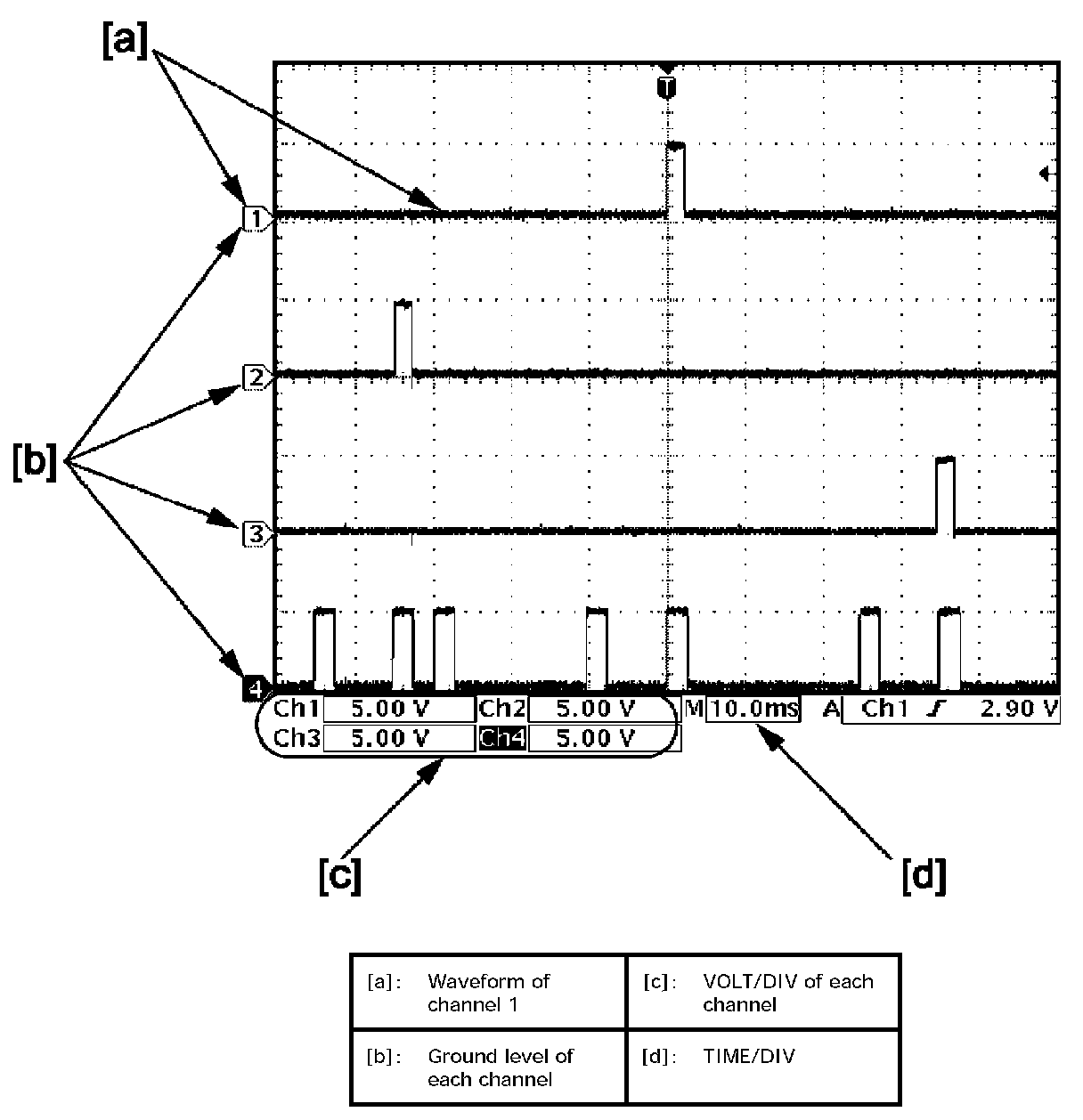
Reference Waveform

Oscilloscope display
Shown below is typical waveform display provided by oscilloscope.

NOTE:
- Display includes the following types of data:







- Waveforms may vary with measurement conditions and vehicle specifications.

Illumination GND







Measurement condition
- When clearance lights or headlights are lighting.







LIN communication







Measurement condition
- Ignition mode: ON