Operation CHARM: Car repair manuals for everyone.
Manuals through 2025 now available!

Our trusted friends have launched a new website named LEMON, which has newer manuals. It also contains all the CHARM manuals.

LEMON is the spiritual successor to CHARM, I recommend you try it!

Link: lemon-manuals.la or lemon-manuals.org.ua

(Some people have issue connecting. LEMON is investigating. For now, use Firefox or change your DNS server)

Or, hide this message: temporarily or permanently

Windshield: Service and Repair

Windshield Components


Windshield Components:






Windshield Removal And Installation

Preparation







Removal

1. Clean inside, outside and around glass.
2. Remove wiper arms.
3. Remove cowl top garnish.
4. Using masking tape, cover body surface around glass to prevent any damage when cutting the adhesive.
5. Remove rear view mirror.
6. Remove rain / light sensor bracket.
7. Remove instrument panel, if necessary.
8. Remove roof lining, if necessary.
9. Remove or cut windshield molding.
10. Make hole into adhesive with eyeleteer (1) and pass piano string through it.







11. Cut all adhesives of windshield (1) with piano string (2).

CAUTION: Do not damage windshield when using windshield knife (3) to cut adhesive.

NOTE: Use piano string (2) as close as possible to glass to prevent damage to body and instrument panel.







12. Using knife (1), smoothen adhesive remaining (2) on body side (3) and thickness of adhesive should be 1 to 2 mm (0.04 to 0.08 in.).

NOTE: If windshield is to be reused, be careful to remove adhesive (1) not to damage primer application surface (2).







NOTE: Before using knife (1), degrease it with alcohol or the like.







Installation

NOTE: For proper handling and drying time of primer and adhesive, refer to their maker's instruction.

1. Install two new glass upper fasteners (female) (1) to the body (2).







2. Align glass upper fasteners (male) on windshield (1) with glass upper fasteners (female) and temporarily position the windshield (1) on body so that clearances at right and left sides of it and body are equal.
Then put alignment marks (3) on windshield (1) and body (2).







3. Clean contact surfaces of old adhesive (4) left on body. Apply primer (2) where paint or bare metal is exposed (3).

NOTE: Do not apply primer on adhesive.







4. Clean area about 30 to 50 mm (1.18 to 1.97 in.) from the edge of windshield with gauze and white gasoline. Dry white gasoline for 10 minutes or more.
5. Apply primer onto windshield molding mounting area on windshield (2) and install new windshield molding (3) to windshield.
6. Install new spacers (1) to windshield.







7. Apply primer to adhesive application area on windshield.


NOTE: Do not touch primer-coated surface.

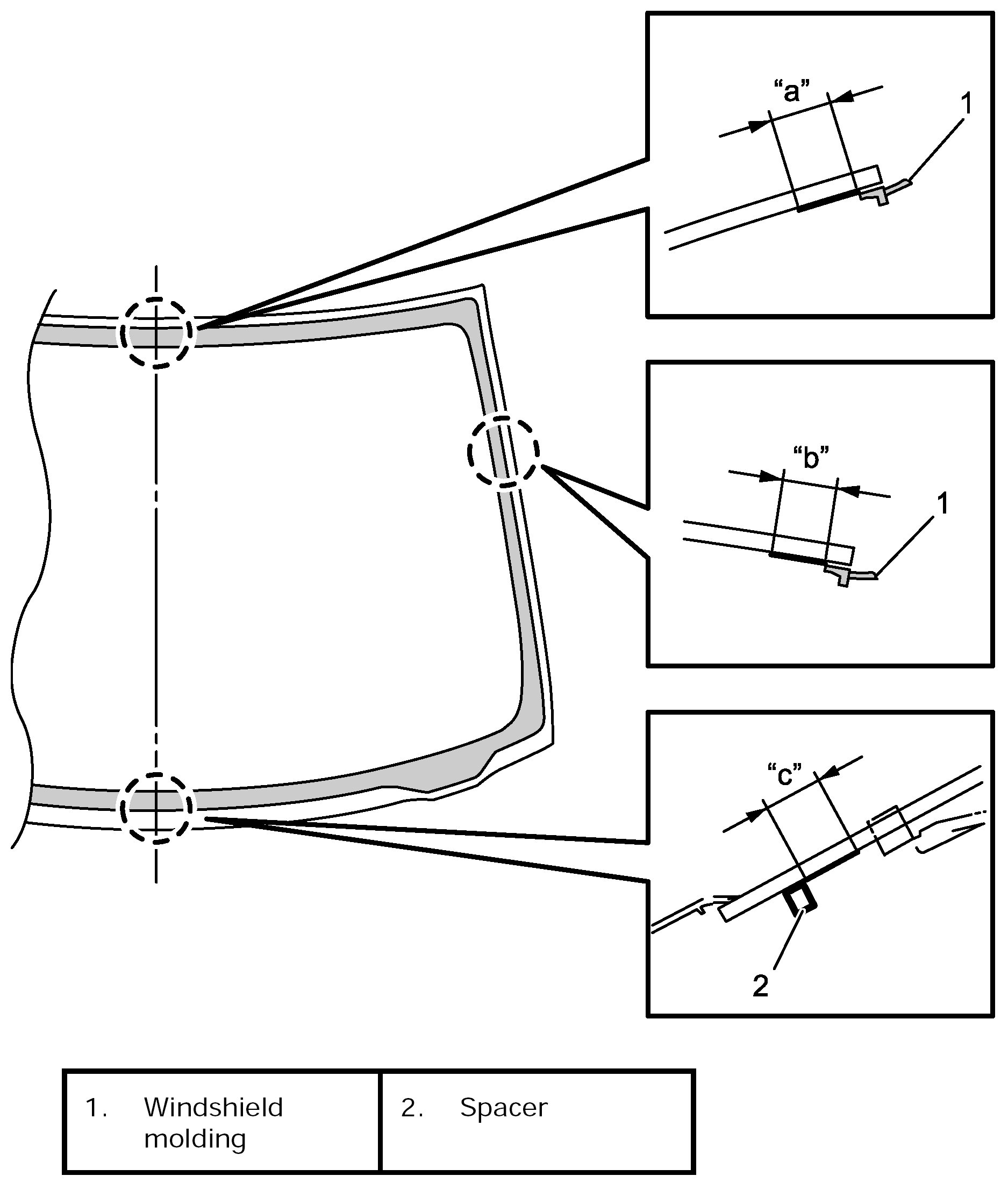
Width of primer on windshield
"a": 17 mm (0.67 in.)
"b": 15 mm (0.59 in.)
"c": 18 mm (0.71 in.)







8. Apply adhesive (1) as shown in figure.

CAUTION:
- Attach windshield (2) on body within 5 minutes from applying adhesive.
- Use rubber sucker grip to carry glass after adhesive is applied.


Adhesive amount and application area on windshield
Width of adhesive "a": Approx. 7.0 mm (0.28 in.)
Height of adhesive "b": Approx. 15.0 mm (0.59 in.)
Application area "c": Approx. 4.3 mm (0.17 in.), "d": Approx. 4.9 mm (0.19 in.),
"e": Approx. 10.7 mm (0.42 in.)







9. Holding windshield (3) with rubber sucker grips (1), align glass upper fasteners (male) (2) with glass upper fasteners (female) (4), align alignment marks put in Step 2. and install windshield (3).







10. Dry adhesive.

CAUTION:
- Open or close doors with all door glasses open until adhesive is fully hardened.
- Hold windshield molding with tape until it is fixed.
- Do not drive until adhesive is fully hardened.


11. Check for water leakage 1 or 2 hours after installing windshield. If leakage is found, remove and install windshield again.

CAUTION:
- Do not apply excessive water pressure during water leakage check.







- Do not blow compressed air directly to adhesive applied part when drying.
- Do not dry forcibly using infrared light or the like.


12. Install roof lining.
13. Install instrument panel if it has been removed.
14. Install rear view mirror.
15. Install cowl top garnish.
16. Install wiper arms.