Operation CHARM: Car repair manuals for everyone.
Manuals through 2025 now available!

Our trusted friends have launched a new website named LEMON, which has newer manuals. It also contains all the CHARM manuals.

LEMON is the spiritual successor to CHARM, I recommend you try it!

Link: lemon-manuals.la or lemon-manuals.org.ua

(Some people have issue connecting. LEMON is investigating. For now, use Firefox or change your DNS server)

Or, hide this message: temporarily or permanently

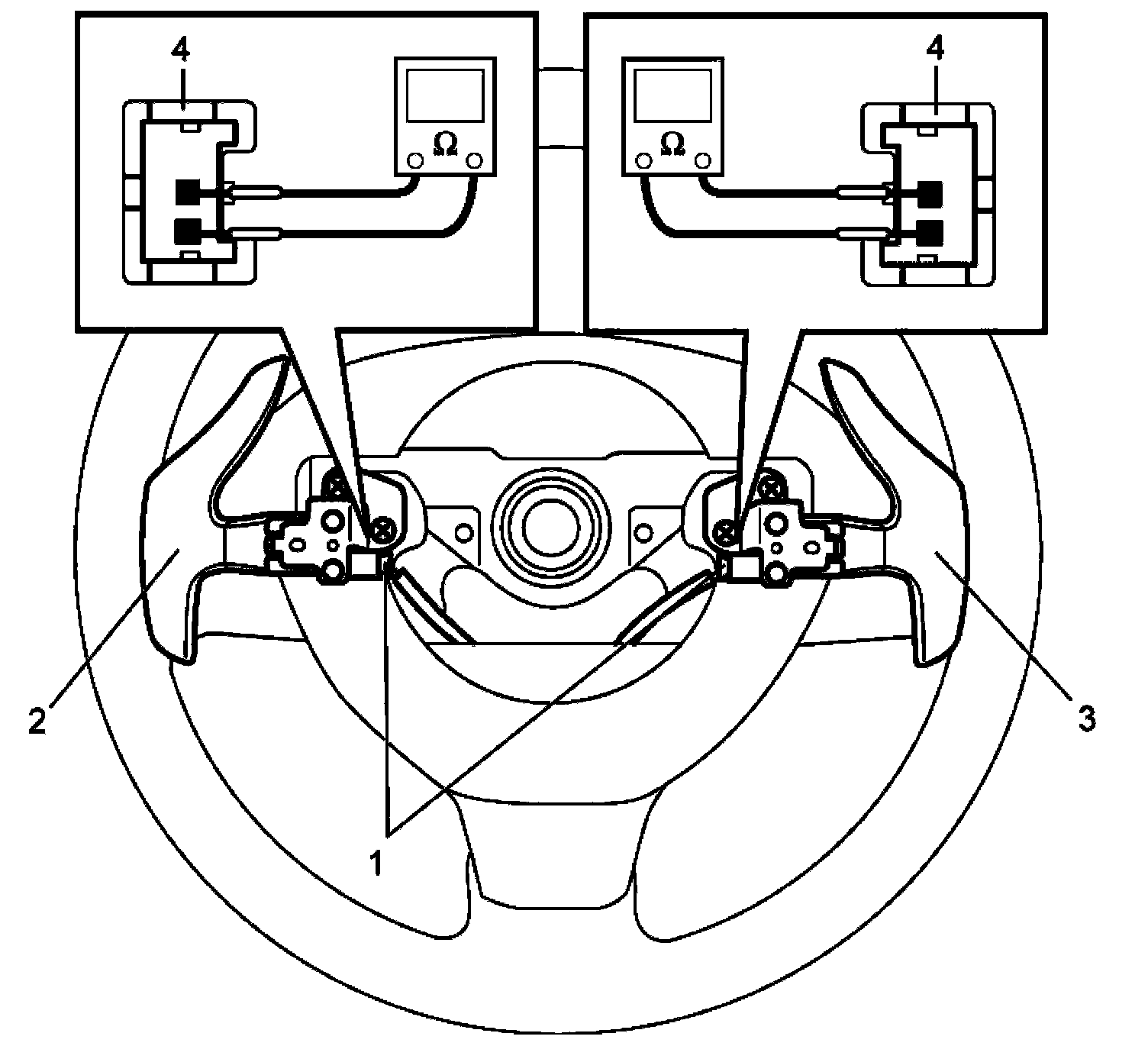
Shift Paddle Switch Inspection

Shift Paddle Switch Inspection
1) Remove steering wheel.
2) Disconnect connectors (1) from paddle-up switch (2) and paddle-down switch (3).
3) Check for continuity between terminals of shift paddle switch connector (4). If found defective, replace shift paddle switch.

Shift Paddle switch specification
Release: No continuity
Pull: Continuity