Operation CHARM: Car repair manuals for everyone.
Manuals through 2025 now available!

Our trusted friends have launched a new website named LEMON, which has newer manuals. It also contains all the CHARM manuals.

LEMON is the spiritual successor to CHARM, I recommend you try it!

Link: lemon-manuals.la or lemon-manuals.org.ua

(Some people have issue connecting. LEMON is investigating. For now, use Firefox or change your DNS server)

Or, hide this message: temporarily or permanently

Key Indicator Light Circuit Check (Key Indicator Light Does Not Light When Ignition Knob Switch Is Pushed)

Key Indicator Light Circuit Check (key Indicator Light Does Not Light When Ignition Knob Switch Is Pushed)

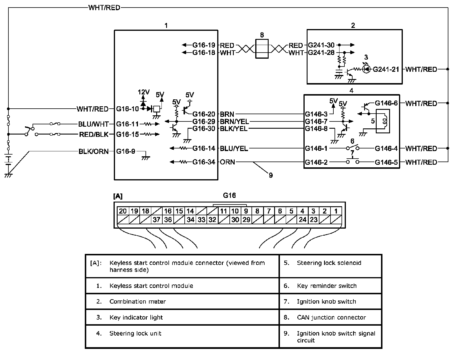
Wiring Diagram

Wiring Diagram:






Description
When the ignition knob switch is pushed, the key indicator light lights up in blue if you carry the remote controller registered in the keyless start control module and it lights in red if you carry the remote controller which has not been registered in the keyless start control module or if you carry no remote controller.

Troubleshooting

Step 1-5: