Operation CHARM: Car repair manuals for everyone.
Manuals through 2025 now available!

Our trusted friends have launched a new website named LEMON, which has newer manuals. It also contains all the CHARM manuals.

LEMON is the spiritual successor to CHARM, I recommend you try it!

Link: lemon-manuals.la or lemon-manuals.org.ua

(Some people have issue connecting. LEMON is investigating. For now, use Firefox or change your DNS server)

Or, hide this message: temporarily or permanently

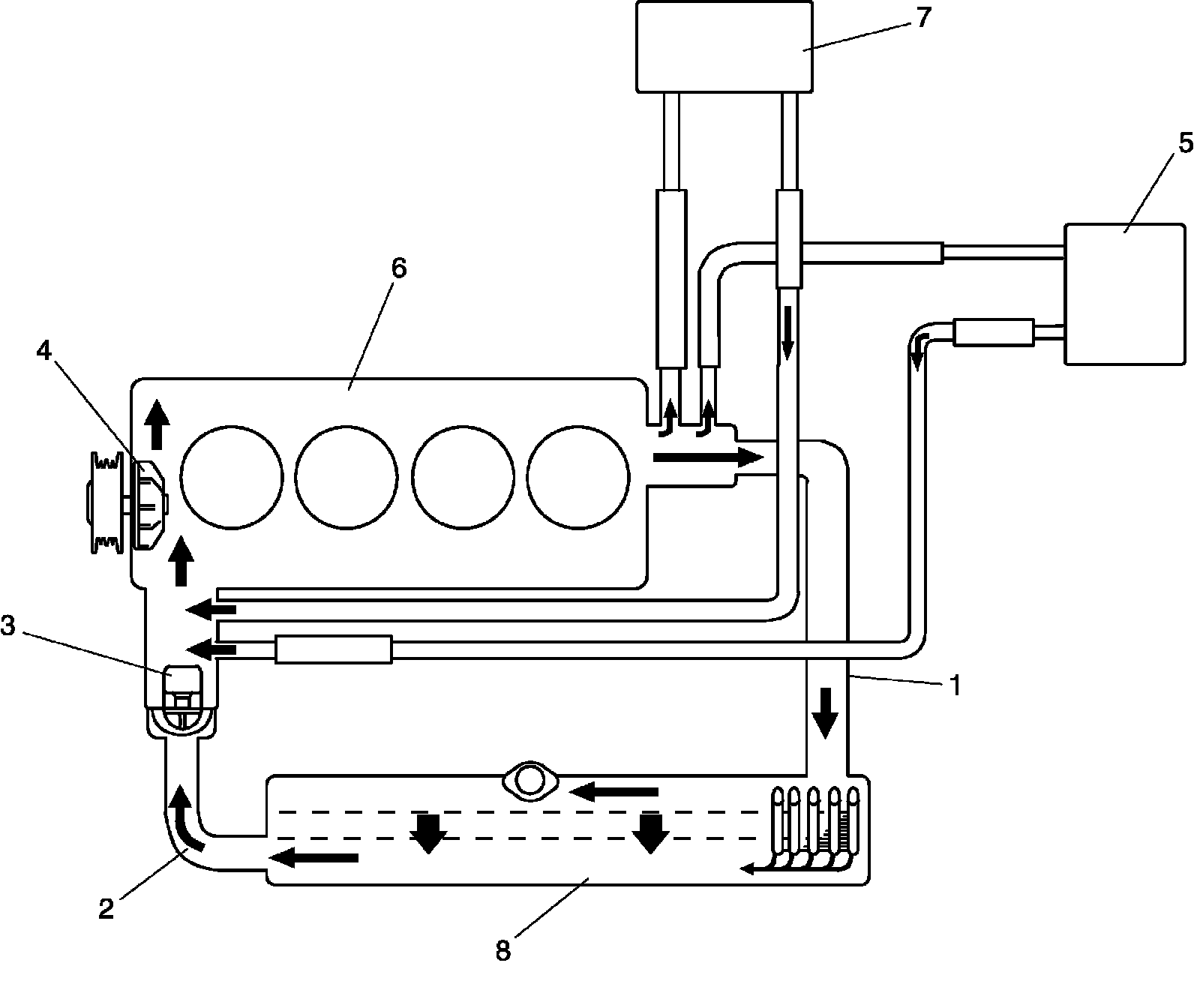
Cooling System

Coolant Circulation
While the engine is warmed up (thermostat closed), coolant circulates as follows.








When coolant is warmed up to normal temperature and the thermostat opens, coolant passes through the radiator core to be cooled as follows.