Operation CHARM: Car repair manuals for everyone.
Manuals through 2025 now available!

Our trusted friends have launched a new website named LEMON, which has newer manuals. It also contains all the CHARM manuals.

LEMON is the spiritual successor to CHARM, I recommend you try it!

Link: lemon-manuals.la or lemon-manuals.org.ua

(Some people have issue connecting. LEMON is investigating. For now, use Firefox or change your DNS server)

Or, hide this message: temporarily or permanently

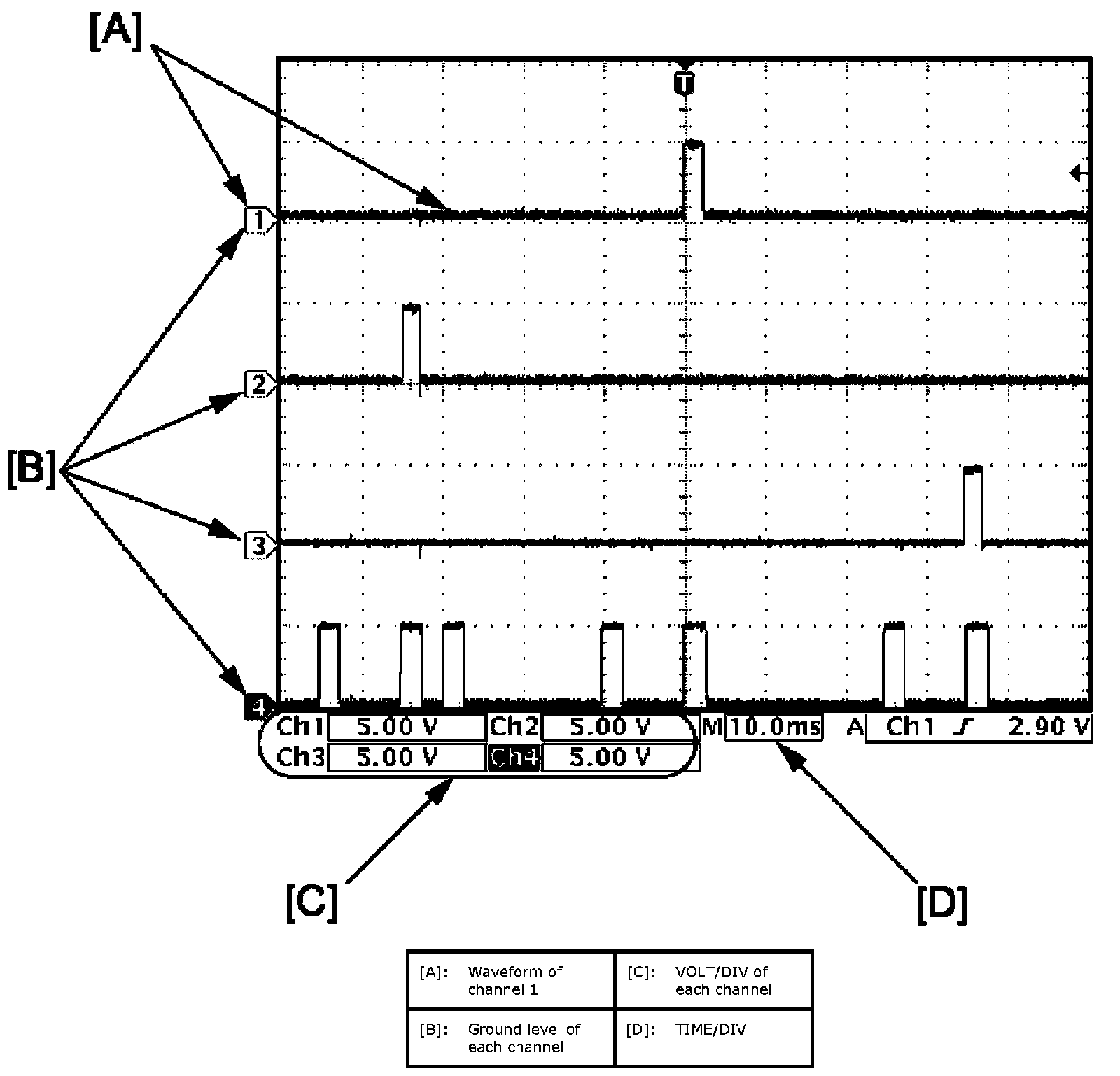
Reference Waveform

Inspection of ECM and Its Circuits

Precautions for ECM Circuit Inspection Precautions For ECM Circuit Inspection

CAUTION: ECM and its circuits can be checked by measuring voltage and pulse signal with special tool connected. It is strictly prohibited to connect voltmeter or ohmmeter to ECM with ECM connectors disconnected from it.

Reference waveform

NOTE:
- Waveform analysis is as follows.






- Waveform might change for measurement condition and vehicle spec.

Fuel Injector Signal






Measurement condition
- Engine: Idle speed after warm-up






Fuel Injector No.1 Signal and Ignition Coil No.1 Signal















Measurement condition

- Engine: Idle speed after warm-up






Fuel Injector No.2 Signal and Ignition Coil No.2 Signal















Measurement condition
- Engine: Idle speed after warm-up






Fuel Injector No.3 Signal and Ignition Coil No.3 Signal















Measurement condition
- Engine: Idle speed after warm-up






Fuel Injector No.4 Signal and Ignition Coil No.4 Signal















Measurement condition
- Engine: Idle speed after warm-up






Generator Control Signal and Generator Field Coil Monitor Signal










Measurement condition
- Engine: Idle speed after warm-up
- Lighting switch: OFF
- A/C switch: OFF
- Blower speed selector: OFF
- Rear defogger switch: OFF






Measurement condition
- Engine: Idle speed after warm-up
- Lighting switch: ON
- A/C switch: ON
- Blower speed selector: 4th position
- Rear defogger switch: ON






HO2S Signal and HO2S Heater Signal









Measurement condition
- Engine: Idle speed after warm-up






Measurement condition
- Engine: Racing after warm-up






Ignition Coil Signal







Measurement condition
- Engine: Idle speed after warm-up






MAF Sensor Signal






Measurement condition
- Engine: Idle speed after warm-up






A/F Sensor Heater Signal






Measurement condition
- Engine: Idle speed after warm-up






OCV Signal






Measurement condition
- OCV: OFF --> ON (using "Active Test of SUZUKI scan tool")






A/F Sensor Signal






Measurement condition
- Engine: Racing after warm-up






IMT Valve Actuator Signal









Measurement condition
- Ignition switch: ON






Measurement condition
- IMT valve: CLOSE --> OPEN (using "Active Test of SUZUKI scan tool")






- IMT valve: OPEN --> CLOSE (using "Active Test of SUZUKI scan tool")






Throttle Actuator Signal






Measurement condition

- Ignition switch: ON
- Accelerator pedal: Idle position






Measurement condition
- Ignition switch: ON
- Accelerator pedal: Fully depressed position






CKP Sensor Signal and CMP Sensor Signal









Measurement condition
- Engine: Idle speed after warm-up






Knock Sensor Signal






Measurement condition
- Engine: Running at 4,000 rpm after warmed up






EVAP Canister Purge Valve Signal






Measurement condition
- EVAP canister purge valve: 10% open (using "Active Test of SUZUKI scan tool")






Engine speed signal






Measurement condition

- Engine: Idle speed after warm-up






CAN Communication Signal









Measurement condition
- Engine: Stop
- Ignition switch: ON